申請日2016.04.29
公開(公告)日2016.09.07
IPC分類號E03F5/22; E03F5/14
摘要
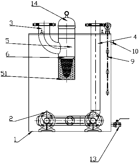
一種帶毛發過濾的污水提升裝置。其特征在于:所述進水管道上端連接污水源,下端連接過濾管;所述過濾管一端伸出集水箱,并連接有上蓋,所述過濾管另一端的外壁設有蜂窩狀出水孔,所述過濾管內還可拆卸的設置毛發過濾袋。其優點在于在過濾管內增設毛發過濾袋,專門針對毛發進行過濾,當過濾到夠多的時候,又可打開上蓋對毛發過濾袋和過濾管進行清洗,避免毛發過多造成堵塞,效果更好。
權利要求書
1.一種帶毛發過濾的污水提升裝置,包括集水箱(1)、排污泵(2)、進水管道(3)、排水管道(4)、過濾管(5);所述排污泵(2)連接排水管道(4);其特征在于:所述進水管道(3)上端連接污水源,下端連接過濾管(5);所述過濾管(5)一端伸出集水箱(1),并連接有上蓋(14),所述過濾管(5)另一端的外壁設有蜂窩狀出水孔(51),所述過濾管(5)內還可拆卸的設置毛發過濾袋(6)。
2.根據權利要求1所述的帶毛發過濾的污水提升裝置,其特征在于:還設有自動耦合器(7),所述自動耦合器(7)分別與排污泵(2)和排水管道(4)連接。
3.根據權利要求2所述的帶毛發過濾的污水提升裝置,其特征在于:所述自動耦合器(7)與排水管道(4)之間設有止回閥(8)。
4.根據權利要求1所述的帶毛發過濾的污水提升裝置,其特征在于:所述排污泵(2)設有2個。
5.根據權利要求1所述的帶毛發過濾的污水提升裝置,其特征在于:所述集水箱(1)內還設有液位控制器(9)。
6.根據權利要求1所述的帶毛發過濾的污水提升裝置,其特征在于:所述集水箱(1)靠近上方的位置設有溢流口(10)。
7.根據權利要求1所述的帶毛發過濾的污水提升裝置,其特征在于:所述集水箱(1)頂部還設有密封蓋(11),所述密封蓋(11)上設有拉手(12)。
8.根據權利要求1所述的帶毛發過濾的污水提升裝置,其特征在于:所述集水箱(1)底部還設有排污閥(13)。
說明書
帶毛發過濾的污水提升裝置
技術領域
本實用新型涉及一種污水提升裝置,具體涉及一種帶毛發過濾的污水提升裝置。
背景技術
污水提升裝置是將排污泵、集水箱、控制裝置以及相關管件閥門組成的一套系統,用于提升和輸送低于下水道市政管網的廢污水,有效解決或避免傳統集水坑存在的問題。
浴室專用的污水提升器工作原理是廢污水通過入口流入,經過濾后進入集水箱,相集水箱內水位達到指定位置時,排污泵啟動將集水箱中的水通過排水管排出。
但是洗澡時,會殘留許多掉落的毛發,這些毛發經常難以處理,而且毛發過多時會將管道堵塞,影響污水提升裝置正常工作。
實用新型內容
為了克服背景技術的不足,本實用新型提供一種帶毛發過濾的污水提升裝置,能夠對毛發進行過濾并及時處理。
本實用新型所采用的技術方案:一種帶毛發過濾的污水提升裝置,包括集水箱、排污泵、進水管道、排水管道、過濾管;所述排污泵連接排水管道;其特征在于:所述進水管道上端連接污水源,下端連接過濾管;所述過濾管一端伸出集水箱,并連接有上蓋,所述過濾管另一端的外壁設有蜂窩狀出水孔,所述過濾管內還可拆卸的設置毛發過濾袋。
所述集水箱內設有自動耦合器,所述自動耦合器分別與排污泵和排水管道連接。
所述自動耦合器與排水管道之間設有止回閥。
所述排污泵設有2個。
所述集水箱內還設有液位控制器。
所述集水箱靠近上方的位置設有溢流口。
所述集水箱頂部還設有密封蓋,所述密封蓋上設有拉手。
所述集水箱底部還設有排污閥。
本實用新型的有益效果是:采用以上方案,在過濾管內增設毛發過濾袋,專門針對毛發進行過濾,當過濾到夠多的時候,又可打開上蓋對毛發過濾袋和過濾管進行清洗,避免毛發過多造成堵塞,效果更好。



