申請日2016.04.29
公開(公告)日2016.09.07
IPC分類號C02F1/44; C02F9/02
摘要
本發明提供了一種正滲透汲取液的循環回用方法,將正滲透過程中產生的稀釋后汲取液通過離子交換膜進行濃縮處理,濃縮處理后的汲取液循環回用至所述正滲透過程。本發明還提供了一種廢水處理方法以及廢水處理裝置。本發明的循環回用方法、廢水處理方法和處理裝置采用正滲透+離子交換膜濃縮的組合,正滲透過程和離子交換膜濃縮過程都不需要外加壓力或外壓壓力較小,方法簡單易行,容易操作,能耗極低,而且,正滲透過程和離子交換膜濃縮過程的膜污染均較輕,延長了兩個過程的連續穩定運行時間,可以獲得大量純凈產水,最大限度提高了廢水的回收率,具有重要環境效益。
權利要求書
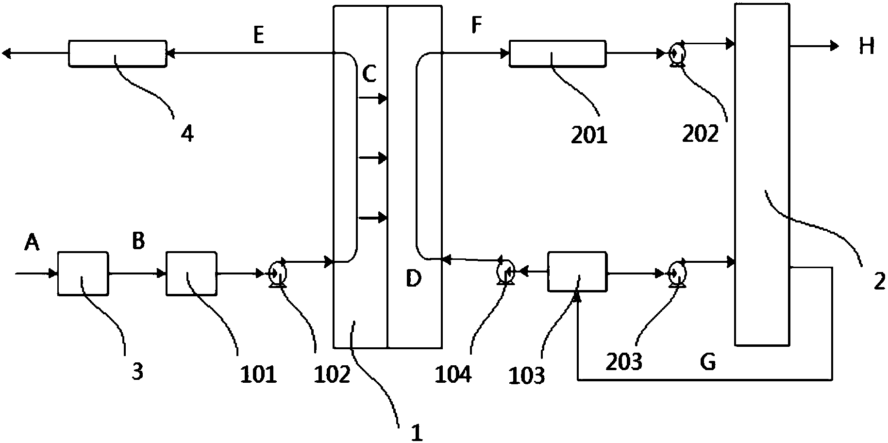
1.一種正滲透汲取液的循環回用方法,其特征在于,將正滲透過程中產生的稀釋后汲取液通過離子交換膜進行濃縮處理,濃縮處理后的汲取液循環回用至所述正滲透過程。
2.根據權利要求1所述的循環回用方法,其特征在于,所述汲取液包括以下鹽類中的一種或多種的溶液:鈉、鉀、鎂、鈣、銨的氯化物、硫酸鹽、碳酸鹽或碳酸氫鹽。
3.一種廢水處理方法,其特征在于,包括以下步驟:
(1)將待處理的廢水通過正滲透處理,用于正滲透的汲取液在正滲透過程中被稀釋;
(2)將步驟(1)得到的稀釋后汲取液通過離子交換膜進行濃縮得到處理后的產水,濃縮后的汲取液返回步驟(1)循環使用。
4.根據權利要求3所述的處理方法,其特征在于,所述處理方法在正滲透過程之前還包括對待處理的廢水進行預處理;所述預處理包括除油步驟、除懸浮物步驟中的一步或多步。
5.根據權利要求3所述的處理方法,其特征在于,所述處理方法還包括將步驟(1)得到的正滲透濃水進行結晶處理。
6.根據權利要求3-5任一項所述的處理方法,其特征在于,所述待處理的廢水為高鹽廢水,其水質特征滿足以下一項或多項:pH值為3~10、電導率為20000~65000μs/cm或CODcr為100~50000mg/L。
7.一種廢水處理裝置,其特征在于,包括以下處理單元:
正滲透單元,設置有一組或多組正滲透膜組件,用于對待處理的廢水進行正滲透處理;以及
離子交換膜單元,設置有一組或多組離子交換膜組件,用于將正滲透單元所產生的稀釋后汲取液進行濃縮并使其循環回用至所述正滲透單元。
8.根據權利要求7所述的處理裝置,其特征在于,所述正滲透膜組件的材質選自PTFE或CA/CAT,形式為板框式。
9.根據權利要求7所述的處理裝置,其特征在于,所述離子交換膜組件的膜材質選自苯乙烯-二乙烯苯共聚物。
說明書
正滲透汲取液循環回用方法、廢水處理方法和處理裝置
技術領域
本發明涉及工業廢水處理領域,具體涉及一種正滲透汲取液的循環回用方法、以及一種廢水處理方法和處理裝置。
背景技術
正滲透(FO)是一種依靠滲透壓驅動的膜分離過程,即水通過選擇性半透膜從較高水化學勢區域(低滲透壓側)自發地擴散到較低水化學勢區域(高滲透壓側)的過程。正滲透過程的驅動力是汲取液(驅動液)與原料液的滲透壓差,不需要外加壓力作為驅動力。和反滲透過程相比,正滲透具有如下優點:膜污染較輕,無需外加壓力,能耗低,回收率高,濃水排放量少,污染小。
正滲透過程實現的關鍵是需要一種高通量可循環使用的汲取液,正滲透過程中,隨著水的自發擴散,汲取液被逐步稀釋,為了循環使用,需對汲取液進行處理,這是正滲透系統能穩定運行的重要因素,也是水處理技術人員研發的重點方向之一。現有汲取液處理方式多是利用精餾的方式將汲取液精餾后再合成,從而實現反復使用,由于精餾需要高溫蒸汽等作為熱源,同時精餾裝置操作彈性小等缺點使整個正滲透系統運行操作可靠性大大降低。
高鹽高COD廢水是指高濃度溶解性無機鹽在5000mg/L以上、COD值在800mg/L以上的廢水,主要代表性的廢水如醫藥中間體廢水、紡織行業生產排出的印染回用濃縮液廢水、食品加工行業排出的發酵與清洗液、油田廢水、造紙廢水、頁巖氣廢水、煤化工廢水、石油煉化廢水等。目前的處理該類廢水的各種方法具有處理工藝復雜、處理效果可控性差、處理費用高等缺點。
中國專利CN 104803448 A涉及高鹽度高有機物濃度廢水的正滲透處理方法,采用的方法是一種正滲透耦合多效蒸發。中國專利CN 104803451 A涉及正滲透和反滲透技術相結合的海水淡化處理方法及裝置,該方法及裝置通過將反滲透濃排水作為正滲透過程的汲取液,有效解決了反滲透濃排水的處理問題。中國專利CN 104591457 A涉及正滲透耦合膜蒸餾處理廢水的裝置及方法,該方法及裝置通過將膜蒸餾的濃水作為正滲透過程的汲取液,有效解決了膜蒸餾濃水的處理問題。中國專利CN 104624052 A涉及一種正滲透汲取液的循環回用方法,因正滲透過程而被稀釋的汲取液通過冷凍結晶、納濾濃縮后進行再生,再生后的汲取液返回正滲透過程進行循環利用。上述專利均是采用正滲透耦合反滲透、多效蒸發、膜蒸餾技術、冷凍結晶技術來處理廢水或溶液,這些技術中,存在汲取液種類受限、操作安全性差、耗能高等缺陷。
發明內容
為克服現有正滲透工藝中汲取液處理存在的缺陷,本發明的一個目的是提供一種正滲透汲取液的循環回用方法。
本發明的另一目的是提供一種廢水處理方法以及一種廢水處理裝置。
本發明提供的正滲透汲取液的循環回用方法為:將正滲透過程中產生的稀釋后汲取液通過離子交換膜進行濃縮處理,濃縮處理后的汲取液循環回用至所述正滲透過程。
離子交換膜早在上個世紀70年代便在脫鹽領域具有很廣泛的應用,產水水質好、脫鹽率高(90%以上)、水回收率高、能耗低,在水處理領域,通常直接利用離子交換膜的脫鹽特性來除去其中的鹽類物質,但之后逐漸被反滲透膜、納濾膜等取代。隨著正滲透技術的發展,汲取液對于正滲透過程的進行具有至關重要的作用,本發明人發現,離子交換膜的高脫鹽特性可適用于汲取液的濃縮處理,可使汲取液得到良好的循環回用,從而保證了正滲透的穩定運行以及水處理效果。
本發明提供的正滲透汲取液的循環回用方法適用于現有任意種類的正滲透汲取液,汲取液可包括如氯化物、硫酸鹽、碳酸鹽、碳酸氫鹽等溶液,包括但不限于相應的鈉鹽、鉀鹽、鎂鹽、鈣鹽、銨鹽等,優選適用于硫酸鎂、硫酸鈣等硫酸鹽。
本發明提供的廢水處理方法,包括以下步驟:
(1)將待處理的廢水通過正滲透處理,用于正滲透的汲取液在正滲透過程中被稀釋;
(2)將步驟(1)得到的稀釋后汲取液通過離子交換膜進行濃縮得到處理后的產水,濃縮后的汲取液返回步驟(1)循環使用。
本發明所述的處理方法中,在正滲透過程之前還包括對待處理的廢水進行預處理。預處理的步驟或方式可根據廢水水質不同進行調節,包括但不限于除油步驟、除懸浮物步驟中的一步或多步。
本發明所述的處理方法中,正滲透處理后所得的濃水可以采用現有方法進行處理或回收利用,包括但不限于將正滲透得到的正滲透濃水進行結晶處理。
本發明所述的處理方法中,所述待處理的廢水可以為各種工業或生活產生的廢水,尤其是工業高鹽廢水,本發明所述的處理方法適用于多種水質特征的廢水,如廢水的pH值可以為3~10,廢水的電導率可以為20000~65000μs/cm,廢水的CODcr可以為100~50000mg/L。
本發明所述的處理方法中,所述步驟(2)中,濃縮后的汲取液電導率為200,000~280,000μs/cm。
本發明所述的處理方法中,所述步驟(2)的濃縮過程中:離子交換膜進料液側的pH值為6.5~8.5,溫度為20~40℃,膜面流速為5~5~8cm/s。
本發明所述的處理方法中,正滲透過程的操作條件為:進料液側,廢水pH值為6.5~8.5,廢水溫度為20~40℃,兩側膜面流速為0.1~0.5m/s。
本發明所述的處理方法中,正滲透處理后得到的濃水電導率范圍可達180,000~250,000μs/cm。
本發明所述的處理方法中,正滲透過程中汲取液被不斷稀釋,稀釋的設定濃度可以為待處理廢水電導率的2~4倍。
本發明提供的廢水處理裝置,包括以下處理單元:
正滲透單元,設置有一組或多組正滲透膜組件,用于對待處理的廢水進行正滲透處理;以及
離子交換膜單元,設置有一組或多組離子交換膜組件,用于將正滲透單元所產生的稀釋后汲取液進行濃縮并使其循環回用至所述正滲透單元。
本發明提供的廢水處理裝置中,所述正滲透膜組件的膜材質可選用現有的任意種類,包括但不限于PTFE、PS、CA/CAT、全氟磺(羧)酸等等。離子交換膜組件的膜材質也可選用現有的任意種類,包括但不限于苯乙烯-二乙烯苯共聚膜等等。
本發明提供的廢水處理裝置中,所述離子交換膜組件形式可以為現有的任意形式,包括但不限于板框式等等。所述正滲透膜組件形式也可選用現有的任意形式,包括但不限于板框式、卷式、中空纖維式、管式等等。
本發明提供的廢水處理裝置中,當所述正滲透膜組件或所述離子交換膜組件為多組時,多組組件可以為并聯設置,也可以為串聯設置。
本發明提供的廢水處理裝置中,所述廢水處理裝置還可以包括預處理單元,其與所述正滲透單元的進水端相連。預處理單元用于將待處理的廢水進行預處理。
本發明提供的廢水處理裝置中,所述預處理單元可以根據廢水水質進行設置,包括但不限于除油單元、除懸浮物單元等等。
本發明提供的廢水處理裝置中,所述廢水處理裝置還可以包括結晶單元,其與所述正滲透單元的濃水出水端相連。結晶單元用于處理正滲透所得的濃水,以除去其中鹽類。
本發明具備以下優點:
1、本發明將離子交換膜濃縮用于正滲透汲取液的循環回用,為正滲透處理廢水、回收水資源提供穩定性和可靠性。離子交換膜適用于各個種類的汲取液,包括水處理工藝中產生的含雜鹽濃水,為雜鹽資源化提供了新用途,將雜鹽用于正滲透的汲取液,減少了運行費用,又重復利用了資源。離子交換膜通過離子遷移進行脫鹽濃縮,與精餾和膜蒸餾的濃縮方式相比,能夠穩定地達到更高的濃縮度,能進一步節約投資與運行成本。此外,由于汲取液的高濃縮度,還能明顯提高正滲透的濃水濃縮度,從而可提高正滲透處理效率,減少濃水處理量。相對于現有的汲取液處理方法,本發明的方法運行費用低、適用范圍廣、濃縮度高、水資源利用率高、材質要求低。
2、本發明的廢水處理方法和裝置采用正滲透+離子交換膜濃縮的組合,正滲透過程和離子交換膜濃縮過程都不需要外加壓力或僅需較小的外壓壓力,簡單易行,容易操作,能耗極低;而且,正滲透過程和離子交換膜濃縮過程的膜污染均較輕,延長了兩個過程的連續穩定運行時間,進一步降低了水處理成本,可以獲得大量純凈產水,最大限度提高了廢水的回收率,具有重要環境效益。
3、本發明提供的廢水處理方法和處理裝置尤其適用于現有技術中難以處理的高鹽廢水,處理后的產水電導≤500μs/cm,CODcr<10mg/L,水回收率高于90%、甚至95%以上,濃水濃縮的程度高,處理負荷大。
4、本發明提供的處理方法和處理裝置不僅可以處理高鹽廢水,還可以根據需要處理河水、苦咸水、海水、地表水、市政污水、石化廢水、垃圾滲濾液廢水、含藥物、糖類或蛋白質等的溶液、頁巖氣廢水、煤化工廢水、以及廢水回用中的反滲透濃水等等多種類型廢水。



