申請日2016.04.29
公開(公告)日2016.09.07
IPC分類號G05B19/042
摘要
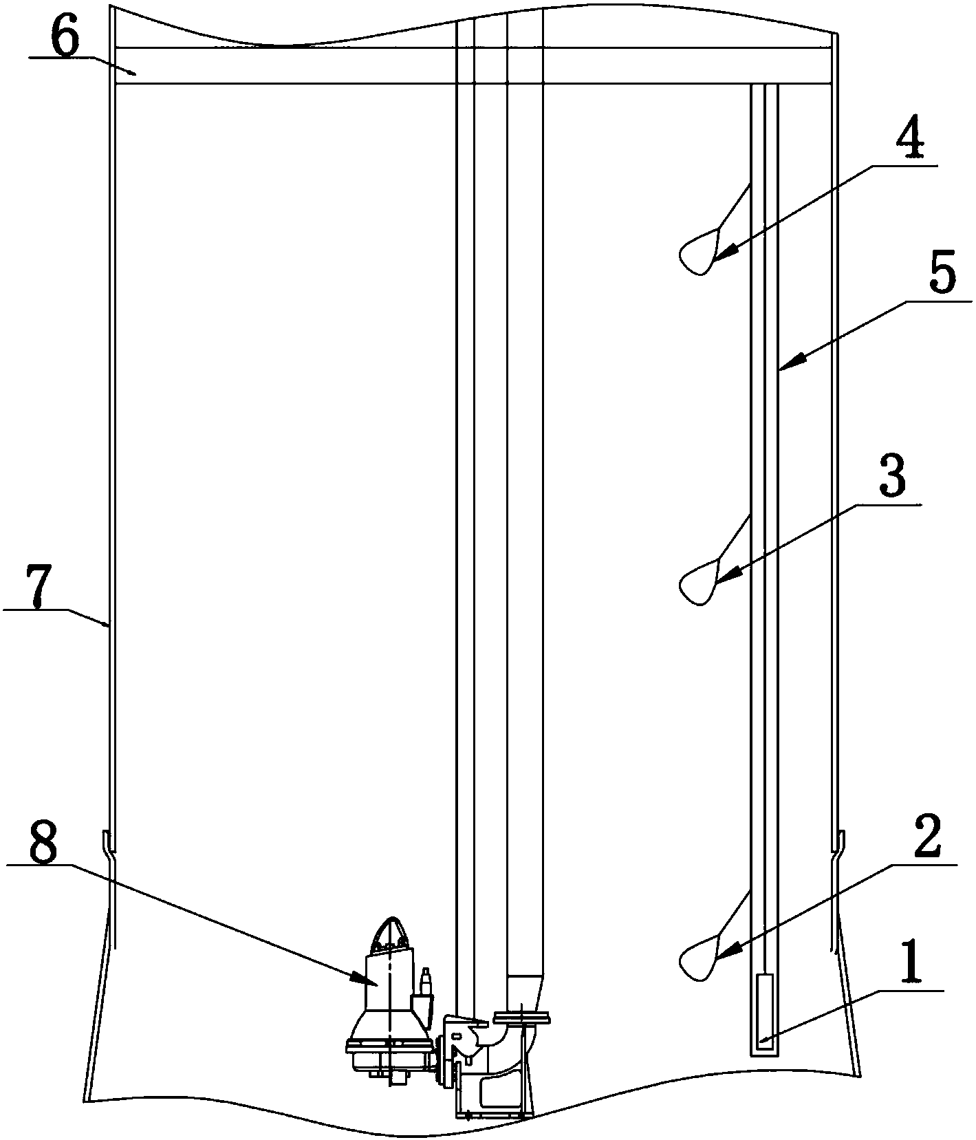
本實用新型涉及一種一體化污水提升泵站污水壓力監控系統,屬于污水提升技術領域。包括投入式壓力變送器及浮球開關,所述投入式壓力變送器通過固定在服務平臺底部的壓力傳感器保護管安裝在泵站的筒體的底部,所述浮球開關安裝在所述壓力傳感器保護管上,所述浮球開關為3個,分別為停泵液位浮球開關、啟動液位浮球開關及報警液位浮球開關。還包括控制模塊,所述控制模塊采用單片機。本實用新型采用投入式壓力變送器和浮球開關兩種壓力傳感器對泵站內的污水壓力進行實時監控,不但避免了僅采用其中一種壓力傳感器導致污水壓力監控系統故障、泵站無法正常運作的情況,而且雙重污水壓力監控系統可適應更多污水水質,保證泵站的正常運行。
權利要求書
1.一種一體化污水提升泵站污水壓力監控系統,其特征在于,包括投入式壓力變送器及浮球開關,所述投入式壓力變送器通過固定在服務平臺底部的壓力傳感器保護管安裝在泵站的筒體內,所述浮球開關安裝在所述壓力傳感器保護管上,所述浮球開關為3個,分別為停泵液位浮球開關、啟動液位浮球開關及報警液位浮球開關。
2.根據權利要求1所述的一體化污水提升泵站污水壓力監控系統,其特征在于,還包括控制模塊,所述控制模塊采用單片機。
說明書
一體化污水提升泵站污水壓力監控系統
技術領域
本實用新型涉及一種污水壓力監控系統,尤其涉及一種一體化污水提升泵站污水壓力監控系統,屬于污水提升技術領域。
背景技術
現有的一體化污水提升泵站的廠家采用的污水壓力監控系統的方案有兩種:第一種方案是單獨采用投入式壓力變送器,投入式壓力變送器是一種測量液位的壓力傳感器,投入式壓力變送器安裝在污水提升泵站的筒體7內來監控污水壓力,它可將各種污水液位的變化如停泵液位、啟動液位及報警液位轉換成標準電流信號,遠傳至泵站控制系統,供計算機進行集中顯示、報警或實現對潛污泵8啟動、關閉的控制,在具體使用時因監控污水故會在投入式壓力變送器的端部安裝防污物裝置,如過濾器,以便于防止污物堵塞;若投入式壓力變送器出現故障時,污水壓力監控系統就會失靈,導致泵站故障;第二種方案是采用浮球開關,浮球開關盡管也是結構簡單,使用方便的液位控制器件,可用于停泵液位、啟動液位、報警液位的液位檢測、信號遠傳及液位報警,但是對于污水壓力監控來說,污水中可能存在袋等漂浮物會影響浮球開關的檢測,導致污水壓力監控系統失靈,影響泵站的正常工作。
總之,目前一體化污水提升泵站使用的過程中,因為水質問題和產品本身質量經常導致污水壓力監控系統失靈,導致泵站故障,泵站故障的后果是污水淹沒整個泵站,污水外溢,污染環境,并連帶使用該污水泵站的用戶都不能正常排放污水。
實用新型內容
本實用新型針對現有技術存在的不足,提供一種能實時監控泵站內污水壓力,且適應多種污水水質要求的一體化污水提升泵站污水壓力監控系統。
本實用新型解決上述技術問題的技術方案如下:一種一體化污水提升泵站污水壓力監控系統,包括投入式壓力變送器及浮球開關,所述投入式壓力變送器通過固定在服務平臺底部的壓力傳感器保護管安裝在泵站的筒體內,所述浮球開關安裝在所述壓力傳感器保護管上,所述浮球開關為3個,分別為停泵液位浮球開關、啟動液位浮球開關及報警液位浮球開關。
進一步的,還包括控制模塊,所述控制模塊采用單片機。所述控制模塊用于將投入式壓力變送器或浮球開關傳送的信號與預設的污水液位比較閾值進行比較,并根據比較結果發出報警信號或者控制泵站內潛污泵執行啟動或停止動作;還用于根據投入式壓力變送器運行狀態正常或故障的信號及時作出采用投入式壓力變送器還是浮球開關對污水壓力進行監控。
本實用新型的有益效果是:在一體化污水提升泵站內同時采用兩種壓力傳感器來實時監控泵站內污水的壓力,如果因為水質或者投入式壓力變送器自身質量故障導致投入式壓力變送器失靈,則控制模塊會報警并及時切換啟用浮球開關繼續對泵站內污水壓力的監控,此時工作人員及時對失靈的投入式壓力變送器進行維修,待投入式壓力變送器檢修好之后,控制模塊控制關閉浮球開關繼續使用投入式壓力變送器進行污水壓力監控。總之,本實用新型采用投入式壓力變送器和浮球開關兩種壓力傳感器對泵站內的污水壓力進行實時監控,不但避免了僅采用其中一種壓力傳感器導致污水壓力監控系統故障、泵站無法正常運作的情況,而且雙重污水壓力監控系統可適應更多污水水質,保證泵站的正常運行。



