申請日2016.05.12
公開(公告)日2016.11.30
IPC分類號C02F11/12
摘要
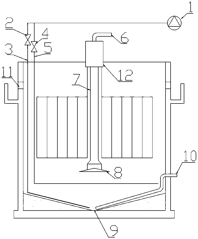
本實用新型實施例公開了一種改良型污泥濃縮池,包括池體、鼓風機、進泥管、折流板、穩流筒、刮泥機、將所述鼓風機的風送入所述池體底部的吹掃管道、曝氣管道,所述池體底部設置有排泥管,所述池體頂部設置有溢流堰,所述刮泥機的中心軸內設置有穩流筒,所述穩流筒與進泥管連接,所述穩流管底端與所述池體底部之間設置有折流板。采用本實用新型,在進泥口設置穩流筒,確保進泥過程不影響污泥沉淀效果,以及排出的上清液質量的穩定性,池體底部布置穿孔曝氣管和吹掃氣管,用于污泥曝氣和均質,池體底部斜坡設置吸泥坑,用于污泥排放,本實用新型整體具有結構相對簡單、節省投資、占地面積小、管理相對方便的優點,實現了污泥處理工藝的優化組合。
權利要求書
1.一種改良型污泥濃縮池,其特征在于,包括池體、鼓風機、進泥管、折流板、穩流筒、刮泥機、將所述鼓風機的風送入所述池體底部的吹掃管道、曝氣管道,所述池體底部設置有排泥管,所述池體頂部設置有溢流堰,所述刮泥機的中心軸內設置有穩流筒,所述穩流筒與進泥管連接,所述穩流筒底端與所述池體底部之間設置有折流板。
2.根據權利要求1所述的改良型污泥濃縮池,其特征在于,所述池體底部呈錐形底的吸泥坑,所述吹掃管道的末端以及排泥管的頭端設置于所述吸泥坑的中心部位。
3.根據權利要求1或2所述的改良型污泥濃縮池,其特征在于,所述吹掃管道設置有吹掃控制閥門。
4.根據權利要求1或2所述的改良型污泥濃縮池,其特征在于,所述曝氣管道設置有曝氣控制閥門。
說明書
一種改良型污泥濃縮池
技術領域
本實用新型涉及一種可應用于水處理設施中污泥脫水單元的污泥處理設施,尤其涉及一種改良型污泥濃縮池。
背景技術
隨著城市建設的持續發展,居民生活水平的日益提高以及環保意識的逐漸增強,污水處理行業受到越來越多的重視,技術水平也在不斷提高,為避免因污泥處理處置不當造成二次污染,讓污水處理變成無用功,針對剩余污泥的處理也提出了更高的要求。污水處理廠傳統的污泥濃縮池占地面積大,處理停留時間長,污泥因厭氧環境可能造成磷的釋放,且易產生臭氣,影響周邊環境。
發明內容
本實用新型實施例所要解決的技術問題在于,提供一種改良型污泥濃縮池。可解決傳統污泥濃縮池占地面積大,停留時間長,污泥穩定性差的問題。
為了解決上述技術問題,本實用新型實施例提供了一種改良型污泥濃縮池,包括池體、鼓風機、進泥管、折流板、穩流筒、刮泥機、將所述鼓風機的風送入所述池體底部的吹掃管道、曝氣管道,所述池體底部設置有排泥管,所述池體頂部設置有溢流堰,所述刮泥機的中心軸內設置有穩流筒,所述穩流筒與進泥管連接,所述穩流筒底端與所述池體底部之間設置有折流板。
其中,所述池體底部呈錐形底的吸泥坑,所述吹掃管道的末端以及排泥管的頭端設置于所述吸泥坑的中心部位。
進一步地,所述吹掃管道設置有吹掃控制閥門。
進一步地,所述曝氣管道設置有曝氣控制閥門。
實施本實用新型實施例,具有如下有益效果:具有池體結構相對簡單、工程投資省、占地面積小、管理相對方便的優點,實現了污泥處理工藝的優化組合。



