申請日2016.05.12
公開(公告)日2016.11.30
IPC分類號C02F9/02; C02F103/44
摘要
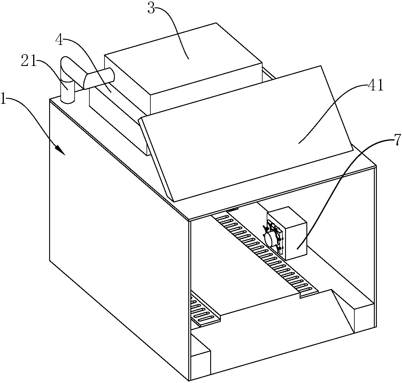
本實用新型公開了一種用于洗車機的污水循環處理裝置,包括洗車箱體,洗車箱體包括底座、設置在底座兩側的側板和設置在側板頂部的頂板,底座向下設置有至少一個用于容納洗車產生的污水的集水槽,底座內設置有過濾腔,集水槽和過濾腔之間設置有多個過濾網孔,過濾腔用于容納由集水槽通過過濾網孔排入的污水,過濾腔內設置有抽水泵,頂板上設置有凈水箱和儲水箱,儲水箱設置有太陽能加熱裝置,抽水泵的抽水出口通過抽水管與凈水箱的凈水入口連通,凈水箱用于凈化由凈水箱的凈水入口排入的污水,凈水箱的凈水出口通過排水管與儲水箱的儲水入口連通;優點是能夠對洗車產生的污水進行循環處理,且利用太陽能對凈化之后的水加熱。
權利要求書
1.一種用于洗車機的污水循環處理裝置,其特征在于:包括洗車箱體,所述的洗車箱體包括底座、設置在所述的底座兩側的側板和設置在所述的側板頂部的頂板,所述的底座向下設置有至少一個用于容納洗車產生的污水的集水槽,所述的底座內設置有過濾腔,所述的集水槽和所述的過濾腔之間設置有多個過濾網孔,所述的過濾腔用于容納由所述的集水槽通過所述的過濾網孔排入的污水,所述的過濾腔內設置有抽水泵,所述的頂板上設置有凈水箱和儲水箱,所述的儲水箱設置有太陽能加熱裝置,所述的抽水泵的抽水出口通過抽水管與所述的凈水箱的凈水入口連通,所述的凈水箱用于凈化由所述的凈水箱的凈水入口排入的污水,所述的凈水箱的凈水出口通過排水管與所述的儲水箱的儲水入口連通,所述的儲水箱用于向洗車機提供水源。
2.根據權利要求1所述的用于洗車機的污水循環處理裝置,其特征在于:所述的集水槽為兩個,兩個所述的集水槽對稱設置在所述的底座的兩邊,所述的過濾腔設置在兩個所述的集水槽之間。
3.根據權利要求1或2所述的用于洗車機的污水循環處理裝置,其特征在于:所述的過濾網孔的最底端的高度大于或等于所述的集水槽的0.3倍槽深所在的高度。
4.根據權利要求1所述的用于洗車機的污水循環處理裝置,其特征在于:所述的過濾腔的一側依次設置有多塊第一導流板,所述的過濾腔的另一側依次設置有多塊第二導流板,所述的第一導流板與所述的第二導流板交錯排列。
5.根據權利要求1所述的用于洗車機的污水循環處理裝置,其特征在于:所述的集水槽上蓋設有格柵板,所述的格柵板上設置有多個漏水孔。
6.根據權利要求1所述的用于洗車機的污水循環處理裝置,其特征在于:所述的洗車箱體內的兩側可移動設置有支撐梁,所述的支撐梁上設置有輪胎旋轉刷和若干個用于沖洗擋泥板的噴淋刷,所述的噴淋刷間隔周向設置在所述的輪胎旋轉刷的四周,所述的噴淋刷通過噴淋水管與所述的儲水箱連通。
7.根據權利要求6所述的用于洗車機的污水循環處理裝置,其特征在于:所述的噴淋刷包括固定部、旋轉支架和至少兩個旋轉噴頭,所述的固定部固定在所述的支撐梁上,所述的旋轉支架為中空結構,所述的旋轉支架一端與所述的旋轉噴頭連通,形成出水通道,另一端可轉動地連接于所述的固定部上。
8.根據權利要求7所述的用于洗車機的污水循環處理裝置,其特征在于:所述的旋轉支架與所述的固定部為過盈配合。
9.根據權利要求7所述的用于洗車機的污水循環處理裝置,其特征在于:所述的旋轉噴頭為三個,且均勻分布在所述的旋轉支架的頂端,每個所述的旋轉噴頭朝外設置有至少一個出水孔。
說明書
一種用于洗車機的污水循環處理裝置
技術領域
本實用新型涉及洗車技術領域,尤其涉及到一種用于洗車機的污水循環處理裝置。
背景技術
眾所周知,水資源日趨緊張,隨著人們生活水平的不斷提高,汽車行業呈井噴式發展趨勢,汽車擁有量大量增加,洗車用水量也在急劇增加,對于城市而言,洗車用水已占據城市水資源的很大比例。目前洗車行業普遍存在這樣的弊端,每人工清洗一輛汽車大概將用掉150升~300升的水,每個洗車行大概一天要清洗五十輛汽車,用水量非常驚人地達到十五噸,而這些清洗廢水都未經處理直接被排放掉,沒有重復使用,既浪費大量的水資源,同時也污染了環境,造成了不環保的局面。
基于上述問題,市面上出現了能自動洗車的洗車機,包括清洗裝置、噴水裝置等,其能夠精確控制出水量,相對于人工清洗而言,已經大大的節省了水資源,但是現有的洗車機結構設計不合理,還是沒有對清洗后的水進行回收利用,導致成本加大,浪費資源。另外,洗車機通常沒有對水進行加熱,在冬天,洗車機的供水常常因為溫度低,導致結冰,無法正常出水,從而影響洗車,這種現象在北方特別明顯。冬季車身上還容易結一層薄薄的冰層,在雨雪天更加突出,此時用冰冷的水直接沖洗,容易導致車身被凍住,冰碴還沿著車身往下滑,很容易在車輛表面留下細小的劃痕。而且發動機的運行會導致車前部分溫度較高,用冷水清洗還會造成的急劇降溫,對車輛表面油漆會有很大的損傷,使其逐漸失去光澤。
發明內容
本實用新型的主要目的在于提供一種用于洗車機的污水循環處理裝置,其能夠對洗車產生的污水進行循環處理,節約水資源,且利用太陽能對凈化之后的水加熱。
為達到以上目的,本實用新型采用的技術方案為:一種用于洗車機的污水循環處理裝置,包括洗車箱體,所述的洗車箱體包括底座、設置在所述的底座兩側的側板和設置在所述的側板頂部的頂板,所述的底座向下設置有至少一個用于容納洗車產生的污水的集水槽,所述的底座內設置有過濾腔,所述的集水槽和所述的過濾腔之間設置有多個過濾網孔,所述的過濾腔用于容納由所述的集水槽通過所述的過濾網孔排入的污水,所述的過濾腔內設置有抽水泵,所述的頂板上設置有凈水箱和儲水箱,所述的儲水箱設置有太陽能加熱裝置,所述的抽水泵的抽水出口通過抽水管與所述的凈水箱的凈水入口連通,所述的凈水箱用于凈化由所述的凈水箱的凈水入口排入的污水,所述的凈水箱的凈水出口通過排水管與所述的儲水箱的儲水入口連通,所述的儲水箱用于向洗車機提供水源。
所述的集水槽為兩個,兩個所述的集水槽對稱設置在所述的底座的兩邊,所述的過濾腔設置在兩個所述的集水槽之間。設置兩個集水槽的好處是能夠將洗車產生的污水快速流向集水槽,在短時間收集較多的污水。
所述的過濾網孔的最底端的高度大于或等于所述的集水槽的0.3倍槽深所在的高度。好處是過濾網孔中的首先將流向過濾腔的水進行初次過濾,且過濾網孔的高度位于集水槽0.3倍高度以上,只有當集水槽的水達到一定程度后才會流向過濾腔,而在集水槽底部的雜質不會流向過濾腔。
所述的過濾腔的一側依次設置有多塊第一導流板,所述的過濾腔的另一側依次設置有多塊第二導流板,所述的第一導流板與所述的第二導流板交錯排列。第一導流板和第二導流板交錯排列,可降低污水的流速,使泥沙沉淀過濾效果好。
所述的集水槽上蓋設有格柵板,所述的格柵板上設置有多個漏水孔。在集水槽上設置格柵板,污水通過格柵板的漏水孔再流進集水槽,避免大件雜物掉落在集水槽當中。
所述的洗車箱體內的兩側可移動設置有支撐梁,所述的支撐梁上設置有輪胎旋轉刷和若干個用于沖洗擋泥板的噴淋刷,所述的噴淋刷間隔周向設置在所述的輪胎旋轉刷的四周,所述的噴淋刷通過噴淋水管與所述的儲水箱連通。通過將儲水箱的水引流到噴淋刷中,可將平時難以清洗到的擋泥板得到清洗。
所述的噴淋刷包括固定部、旋轉支架和至少兩個旋轉噴頭,所述的固定部固定在所述的支撐梁上,所述的旋轉支架為中空結構,所述的旋轉支架一端與所述的旋轉噴頭連通,形成出水通道,另一端可轉動地連接于所述的固定部上。其好處在于旋轉支架以旋轉的形式帶動旋轉噴頭旋轉出水,一方面可將擋泥板的污垢清洗干凈,另一方面節約水資源。
所述的旋轉支架與所述的固定部為過盈配合。其好處在于便于旋轉支架旋轉。
所述的旋轉噴頭為三個,且均勻分布在所述的旋轉支架的頂端,每個所述的旋轉噴頭朝外設置有至少一個出水孔。其目的在于提高清洗效果,節約水資源。
與現有技術相比,本實用新型的優點在于:實際使用時,由洗車機清洗汽車產生的污水進入集水槽,然后通過過濾網孔流向過濾腔,經過過濾腔的過濾作用,污水再通過抽水泵向洗車機頂部的凈水箱流入,經過凈水箱的凈化后,流進儲水箱等待備用;同時太陽能加熱裝置在需要時對儲水箱內的水進行加熱,使由噴淋到車體表面的水溫較溫,從而保護車體表面油漆;該污水循環處理裝置能夠充分利用清洗過程產生的污水,對污水進行一系列處理后循環使用,大大節省了水資源,且較為環保,此外,集水槽和過濾腔設于洗車機的底部,凈水箱和儲水箱設于洗車機的頂部,極大利用了洗車機的空間,大大減少了裝置占用的整體空間。







