申請日2016.05.12
公開(公告)日2016.08.17
IPC分類號B01D53/84; B01D53/72; B01D47/06; C02F3/02
摘要
本發明提供一種能夠對廢氣、廢水協同處理,氣模式、水模式及氣水模式可以任意轉換,以竹炭為填料的一塔三模綜合處理系統和處理廢水廢氣的方法,該系統包括填充有負載微生物膜的竹炭填料的處理塔;風機出口經過進氣管路與處理塔底部相通;循環泵出口與處理塔內上部的噴淋系統相通,處理塔底部通過出水管路與循環水槽相通,循環水槽與循環泵進口相通;處理塔頂部與出氣口相通。該方法,處理廢氣時采用氣模式:廢氣進入塔內,經過負載微生物膜的竹炭填料,被微生物吸附降解后達標排放;處理廢水時采用水模式:廢水由循環泵抽至噴淋系統噴淋而下,經過竹炭填料,被微生物吸附降解后進行循環處理;同時處理廢水和廢氣是采用氣水模式。
權利要求書
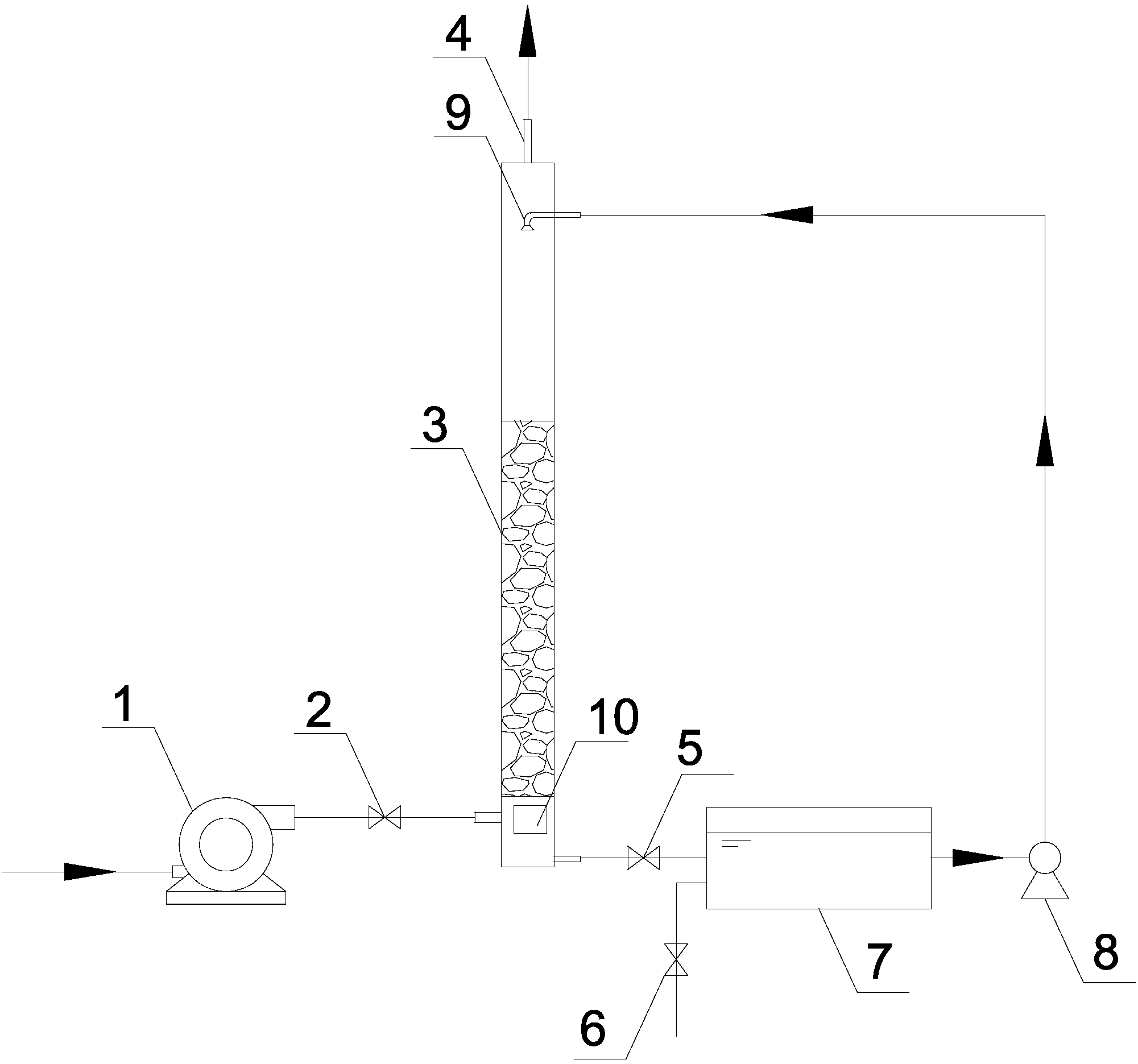
1.一種以竹炭為填料的一塔三模綜合處理系統,包括填充有負載微生物膜的竹炭填料的處理塔;其特征是:風機出口經過串聯有進氣閥的進氣管路與處理塔底部相通;用于向處理塔送入廢水的循環泵出口與位于處理塔內上部的噴淋系統相通,處理塔底部通過串聯有出水閥的出水管路與循環水槽相通,循環水槽與循環泵進口相通;用于向循環水槽內送入廢水的進水管路上串聯有進水閥;處理塔頂部與高于噴淋系統的出氣口相通。
2.如權利要求1所述的以竹炭為填料的一塔三模綜合處理系統,處理塔底部還有可以打開或閉合的通氣口,當通氣口打開時,外部空氣可以通過通氣口進入處理塔內。
3.如權利要求1所述的以竹炭為填料的一塔三模綜合處理系統,其特征是:竹炭粒徑1-2cm,用清水浸泡后置于塔內,填充率50-100%。
4.處理廢水廢氣的方法,其特征是:使用權利要求1、2或3所述的一塔三模綜合處理系統,(1)處理廢氣時采用氣模式:關閉出水閥和進水閥,停運循環泵;打開進氣閥,廢氣經風機以0.5-1m/s的流速進入塔內,經過負載微生物膜的竹炭填料,被填料上微生物吸附降解,凈化后的氣體由出氣口達標排放;定期打開出水閥、進水閥及循環泵,利用循環泵往填料上噴淋,維持填料濕度;
(2)處理廢水時采用水模式:關閉進氣閥,打開出水閥和進水閥,廢水進入循環水槽,由循環泵抽至噴淋系統噴淋而下,由重力作用自上而下經過竹炭填料,被微生物吸附降解后,再排入循環水槽進行循環處理;
(3)同時處理廢水和廢氣是采用氣水模式:打開進氣閥,廢氣經風機以0.5-1m/s的流速進入塔內,經過負載微生物膜的竹炭填料,被填料上微生物吸附降解,凈化后的氣體由出氣口達標排放;出水閥和進水閥,廢水進入循環水槽,由循環泵抽至噴淋系統噴淋而下,由重力作用自上而下經過竹炭填料,被微生物吸附降解后,再排入循環水槽進行循環處理。
5.如權利要求4所述的處理廢水廢氣的方法,其特征是:處理塔底部還有可以打開或閉合的通氣口;采用水模式處理廢水時,打開通氣口,外部空氣可以通過通氣口進入處理塔內,實現生物降解過程所需的氧氣自動供給。
6.如權利要求4所述的處理廢水廢氣的方法,其特征是:處理廢氣或廢水一段時間后,為了防止竹炭填料堵塞,用輕質水反沖洗。
7.如權利要求6所述的處理廢水廢氣的方法,其特征是:反沖洗具體方法是,關閉出水閥,停運循環泵,從塔頂注入清水,使其淹沒整個竹炭填料,然后打開進氣閥,通過風機往處理塔內曝氣,曝氣量8-15L/m2·s,使填料發生輕微松動,2-7min后打開出水閥,排出沖洗水。
8.如權利要求6所述的處理廢水廢氣的方法,其特征是:所述竹炭上的掛膜微生物為經過有機廢氣馴化的微生物,所述微生物培養方法包括掛膜和馴化,掛膜采用菌粉循環掛膜,馴化采用逐漸提高入氣濃度的方法使微生物適應生長。
9.如權利要求6所述的處理廢水廢氣的方法,其特征是:對所述的循環水槽內,加入氮、磷、微量元素供微生物生長。
說明書
一種以竹炭為填料的一塔三模綜合處理系統及處理廢水廢氣的方法
技術領域
本發明涉及一種處理廢水廢氣的裝置及方法,具體地說,是一種以輕質竹炭為填料的一塔三模綜合處理系統,及使用其處理廢水廢氣的方法,它能夠對廢氣、廢水協同處理,處理廢氣時采用氣模式,處理廢水時采用水模式,同時處理廢水和廢氣時采用氣水模式,這三種模式可以任意轉換。
背景技術
隨著化學工業的飛速發展,很多化工企業在生產過程中產生大量的有機廢氣和廢水,嚴重污染了人類的生存環境。化工企業對有機廢水和廢氣的處理一般進行分開處理,單獨有機廢水、單獨有機廢氣處理工藝占地面積大,運行成本高,工藝復雜。因此,如何更高效、簡便、廉價地妥善處理工業有機廢氣及廢水已成為人們研究的焦點。
現在大多數工廠對生產廢氣排放基本屬于自排放,廠區內生產廢水、生活污水無法得到統一處理,對環境造成不利的影響。且工廠廢水、廢氣的產生具有不定時性。目前,市場上還沒有廢水、廢氣協同處理,氣模式、水模式、氣水模式可以任意、隨時轉換的系統。往往需要分別建設廢水處理系統和廢氣處理系統,大大增加了建設和運行成本。
發明內容
本發明的目的是提供一種能夠對廢氣、廢水協同處理,氣模式、水模式及氣水模式可以任意轉換,一體化的整體式的以竹炭為填料的一塔三模綜合處理系統,它能夠有效凈化廢氣、廢水達到國家標準規定的排放標準,裝置結構簡單,容易實現。
本發明所述的以竹炭為填料的一塔三模綜合處理系統,包括填充有負載微生物膜的竹炭填料的處理塔;風機出口經過串聯有進氣閥的進氣管路與處理塔底部相通;用于向處理塔送入廢水的循環泵出口與位于處理塔內上部的噴淋系統相通,處理塔底部通過串聯有出水閥的出水管路與循環水槽相通,循環水槽與循環泵進口相通;用于向循環水槽內送入廢水的進水管路上串聯有進水閥;處理塔頂部與高于噴淋系統的出氣口相通。
上述的以竹炭為填料的一塔三模綜合處理系統,處理塔底部還有可以打開或閉合的通氣口,當通氣口打開時,外部空氣可以通過通氣口進入處理塔內。
上述的以竹炭為填料的一塔三模綜合處理系統,竹炭粒徑1-2cm,用清水浸泡后置于塔內,填充率50-100%。
本發明還提供一種能夠對目廢氣、廢水協同處理,氣模式、水模式及氣水模式可以任意轉換的處理廢水廢氣的方法。
本發明所述的處理廢水廢氣的方法,使用所述的一塔三模綜合處理系統,(1)處理廢氣時采用氣模式:關閉出水閥5和進水閥6,停運循環泵8;打開進氣閥2,廢氣經風機1以0.5-1m/s的流速進入塔內,經過負載微生物膜的竹炭填料3,被填料上微生物吸附降解,凈化后的氣體由出氣口4達標排放;定期打開出水閥5、進水閥6及循環泵8,利用循環泵8往填料上噴淋,維持填料濕度。
(2)處理廢水時采用水模式:關閉進氣閥2,打開出水閥5和進水閥6,廢水進入循環水槽7,由循環泵8抽至噴淋系統9噴淋而下,由重力作用自上而下經過竹炭填料3,被微生物吸附降解后,再排入循環水槽7進行循環處理。定期打開出水閥5和進水閥6,利用循環泵8往填料上噴淋,維持填料濕度。
(3)同時處理廢水和廢氣是采用氣水模式:打開進氣閥2,廢氣經風機1以0.5-1m/s的流速進入塔內,經過負載微生物膜的竹炭填料3,被填料上微生物吸附降解,凈化后的氣體由出氣口4達標排放;出水閥5和進水閥6,廢水進入循環水槽7,由循環泵8抽至噴淋系統9噴淋而下,由重力作用自上而下經過竹炭填料3,被微生物吸附降解后,再排入循環水槽7進行循環處理。
上述的處理廢水廢氣的方法,處理塔底部還有可以打開或閉合的通氣口;采用水模式處理廢水時,打開通氣口,外部空氣可以通過通氣口進入處理塔內,實現生物降解過程所需的氧氣自動供給。
上述的處理廢水廢氣的方法,處理廢氣或廢水一段時間后,為了防止竹炭填料堵塞,用輕質水反沖洗。反沖洗具體方法是,關閉出水閥5,停運循環泵8,從塔頂注入清水,使其淹沒整個竹炭填料3,然后打開進氣閥2,通過風機往處理塔內曝氣,曝氣量8-15L/m2·s,使填料發生輕微松動,2-7min后打開出水閥5,排出沖洗水。
本發明的有益效果:
以竹炭為填料的一塔三模綜合處理系統,可用于企業處理廢氣、廢水、廢氣和廢水的協同處理,它的三種操作模式:
(1)氣模式(處理廢氣):關閉循環系統,廢氣經風機進入塔內,被塔內竹炭填料上附著微生物吸附降解。
(2)水模式(處理廢水):打開循環系統,循環水槽中的廢水經噴淋系統被微生物吸附降解,凈化后的廢水由出水口排出。
(3)氣水模式(同時處理廢水和廢氣):廢氣進入塔內與上部淋下的廢水在塔內逆向接觸,廢氣中90%以上的粉塵、VOCs、臭氣等被廢水中的微生物胞外多聚物等物質吸收,廢氣廢水中的有機物在循環過程中被降解。
本發明與現有技術相比,最大的優點在于:
1、該系統可以對廢氣廢水協同處理,吸附和降解協同發生,高效、省時。氣模式,水模式,氣水模式能任意轉換,操作便捷,靈活。噴淋水也可以去除廢氣中含有的除塵、對廢氣進行降溫。
2、竹炭作為微生物膜的載體,其表面積巨大,可以負載大量微生物,同時具有一定的強度,具有耐久、耐磨特性,不會產生二次污染,其保水性良好,能吸附循環液中的C、N、P源,在系統長時間停運過程中為微生物提供良好的濕度環境和營養物質,保證微生物的正常生長狀態。同時竹炭也可以吸附有機物,延長有機物停留時間,提高去除效果。
3、由于竹炭為輕質填料,且填充高度較低,使用輕質水反沖洗即可,方式簡便,清洗強度較低,減少了水的用量,能達到快速使用的目的。
4、改變以單純水進行噴淋吸收的工藝,以富含胞外多聚物的噴淋液進行噴淋,大大提高了循環液對VOCs等有機氣體的去除效果,而且避免了微生物直接與高溫氣體接觸,能夠最大限度保證系統中微生物的活性,提高了循環液的再生效率。
5、生產廢水中的有機物質能為微生物生長提供足夠的碳源,使裝置真正實現無人化操作。系統占地面積小,處理效果好,成本低,尤其適用于各行業工廠產生的各種VOCs和廢水,經處理后的廢氣都能優于國家大氣污染物排放標準。



