申請日2016.05.27
公開(公告)日2016.10.12
IPC分類號C02F9/04
摘要
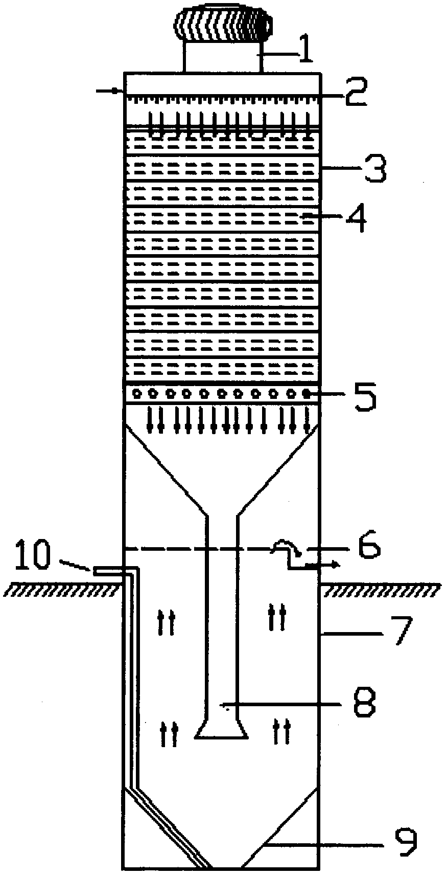
本實用新型公開了一種一體化微動力式污水處理裝置,屬于污水處理領域。該裝置通過上下2個方形箱體和一道中間通風承托層,被分隔成氧化單元和沉淀單元2個部分;上箱體為氧化單元,下箱體為沉淀單元,該裝置為半地埋式裝置。氧化單元通過中間通風承托層連通沉淀單元中心管,沉淀單元出水通過出水堰收集再連通出水管道。本實用新型結構緊湊,投資少、占地面積小、運營成本低等,主要應用于小規模污水處理。
摘要附圖
權利要求書
1.一種一體化微動力式污水處理裝置,該裝置通過上下2個方形箱體和一道中間通風承接板,被分隔成氧化單元和沉淀單元2個部分;上箱體為氧化單元,頂部安裝有無動力風機,內部安裝有布水系統和填充多孔濾料;下箱體為沉淀單元,安裝有沉淀中心管、集水槽和排泥管,裝置為半地埋式裝置;氧化單元通過中間通風承托層連通沉淀單元中心管,沉淀單元出水通過集水槽收集出水。
2.根據權利要求1所述的一種一體化微動力式污水處理裝置,其特征在于所述方形箱體采用碳鋼鋼板焊接而成,氧化單元安裝有布水系統及采用多孔濾料填充。
3.根據權利要求1所述的一種一體化微動力式污水處理裝置,其特征在于所述裝置基頂部安裝有無動力風機,并與氧化單元開孔連通。
4.根據權利要求1所述的一種一體化微動力式污水處理裝置,其特征在于所述沉淀單元采用豎流式工藝,中心管為碳鋼材質,單元上部內周布設出水槽,池下部設污泥斗,布設排泥管。
說明書
一體化微動力式污水處理裝置
技術領域
本實用新型涉及小城鎮污水處理領域,特別是涉及一種一體化微動力式污水處理裝置。
背景技術
近些年我國城鎮污水處理飛速發展,污水處理率已達到百分之八十以上的水平;但與之形成強烈對比的小城鎮、農村污水卻大多沒有配套相應的處理措施;“十三五”期間將迎來小城鎮污水處理的大發展時期,中小城鎮和農村污水處理成為最具發展潛力的一個市場。
目前國內小規模污水處理均大多數采用接觸氧化工藝或者人工濕地、穩定塘等生態處理措施;接觸氧化工藝由于要采用風機曝氣,運行費用高,為很多農村污水處理所不能接受;而人工濕地、穩定塘等生態處理工藝雖然運行成本很低,但是占地大處理效果不是很好,在環保標準趨嚴的情況下,很難做到達標排放。
實用新型內容
針對目前小規模污水處理所存在的問題,本實用新型的目的是提供一種用于小規模污水處理的技術,以碳鋼防腐結構為主體的一體化微動力式污水處理裝置,解決傳統技術一次性投資大、占地大、施工復雜難度大、周期長、電耗高、運營維護成本高的問題;裝置采用多孔濾料接觸氧化工藝,其結合無動力風機技術,組合成一體化微動力式污水處理裝置,以實現生物除碳、脫氮、沉淀等多種功能。
為實現上述目的,本實用新型采取以下技術方案:
一種一體化微動力式污水處理裝置,該裝置通過上下2個方形箱體和一道中間通風承托層,被分隔成氧化單元和沉淀單元2個部分;上箱體為氧化單元,下箱體為沉淀單元;該裝置為半地埋式裝置。氧化單元通過中間通風承接板連通沉淀單元中心管,沉淀單元出水通過出水堰收集進入出水管道。
所述裝置箱體用碳鋼鋼板焊接而成,箱體內壁采用專用防腐材料。
所述裝置基礎為30厘米厚度鋼混結構,雙層雙向鋼筋鋪設;微動力式污水處理裝置固定在鋼混基礎上。
所述氧化單元安裝有無動力風機位于箱體頂部,頂部鋼板開孔與風機連通。
所述氧化單元安裝有進水布水系統位于反應單元上部,進水管連通布水系統均勻補水,離池頂100毫米。
所述氧化單元填充有多孔濾料占氧化單元體積的80%,多孔濾料為HDPE材質,多孔濾料由中間通風承接板支撐。濾料掛膜后不會堵塞,運行中產生的多余生物膜可以隨污水沖刷,流到下面的沉淀單元。
所述中間通風承托層開設有通風孔,空氣由設備外通風孔進入,然后向上流經多孔濾料由無動力風機排出。
所述無動力風機是利用設備內外溫差產生的動力推動風機的渦輪旋轉,產生由下而上垂直的空氣流動,其根據空氣自然規律和氣流流動原理,以形成填料的好氧條件。該風機不用電,無噪音,可長期運轉。
所述沉淀單元采用豎流式工藝,中心管為碳鋼材質,單元上部內周布設出水槽,池下部設污泥斗,布設排泥管,多余污泥定期用污泥車吸出拉走。
本實用新型的有益效果:
本實用新型通過這種集成化模式,將小規模污水處理的技術流程組合到一個一體化裝置中來,僅由一臺提升泵提供動力,與傳統裝置相比,具有結構緊湊,投資少、占地面積小、施工簡單、低運營成本等優點。
所述裝置通過將過濾、好氧、沉淀等工藝組合在一起,形成一體化小規模污水處理設備;可同時實現去除有機污染物、脫氮、沉淀等多項功能,不需要在該處理設備之后再設置后續沉淀及相關配套設備。
所述裝置采用多孔濾料接觸氧化工藝,其結合無動力風機技術,降低了污水處理裝置的運營成本。多孔濾料具有比表面積大、親水性好、不堵塞、生物活性高、掛膜快、處理效果好,具有脫碳和脫氮能力。


