申請日2016.05.12
公開(公告)日2016.07.27
IPC分類號C02F9/14
摘要
本發明公開了一種磁絮凝?前置庫聯用的分流制雨水處理系統,在雨水泵站前池與河道之間的地平面下設置有磁絮凝前置庫,當降雨來臨且水位超過警戒線時,可實現在雨水外排過程中削減部分入河污染物、特別是懸浮物。當降雨現象發生但水位未達到警戒線、需要提前放空蓄積雨水或旱季排放混入雨水管道的污水時,雨水依次通過生態前置庫、強化凈化區和深度凈化區得到凈化,最終從深度凈化區內廊道的末端流入河道。本發明充分利用排水管道內的水力攪動,節約了能耗,工藝流程簡單,可維持生態系統的基本穩定,并通過種植多種水生景觀植物,使系統兼具實用性與景觀性。
權利要求書
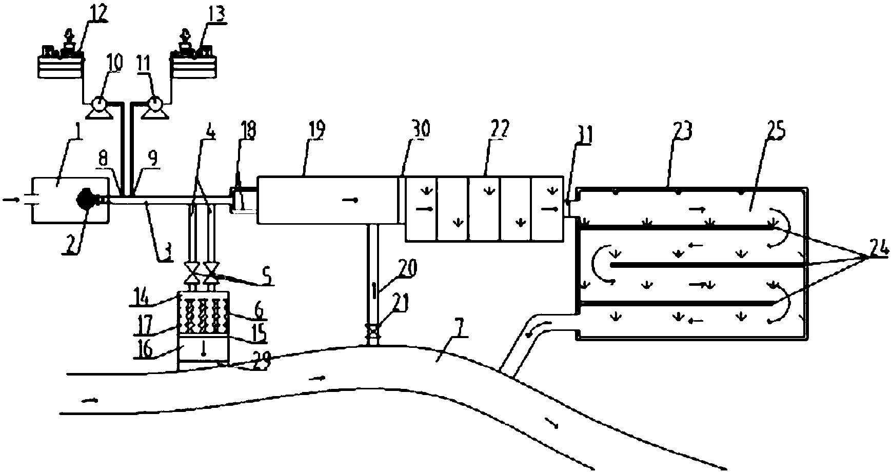
1.一種磁絮凝-前置庫聯用的分流制雨水處理系統,包括雨水泵站前池、潛水泵、排水干管和排水支管,其特征在于,雨水泵站前池(1)內設置有潛水泵(2),潛水泵(2)通過排水干管(3)與排水支管A(4)、排水支管B(18)相連接,所述排水支管A(4)上設置有自動閥門(5);在排水干管(3)的前端分別設置有磁粉投加口(8)與絮凝劑投加口(9),在磁粉投加口(8)與絮凝劑投加口(9)的臨近處還設置有磁粉加載裝置(12)與絮凝劑配置裝置(13),磁粉加載裝置(12)通過磁粉自動投加泵(10)與磁粉投加口(8)相連接,絮凝劑配置裝置(13)通過絮凝劑自動投加泵(11)與絮凝劑投加口(9)相連接;
在河道(7)與雨水泵站前池(1)之間的地平面之下設置有磁絮凝前置庫(6),磁絮凝前置庫(6)通過排水支管A(4)與排水干管(3)相連接;磁絮凝前置庫(6)的中間部位設置有隔墻(15),隔墻(15)將磁絮凝前置庫(6)分割為藥劑絮凝區(14)和沉淀區(16);藥劑絮凝區(14)設置有土筑弧形波狀導流墻(17);磁絮凝前置庫(6)與河道(7)之間設置有溢流壩A(29);磁絮凝前置庫(6)近岸邊處種植挺水植物(26);
所述排水支管B(18)設置于排水干管(3)的末端,沿排水支管B(18)的水流方向依次設置有生態前置庫(19)、強化凈化區(22)和深度凈化區(23);生態前置庫(19)與強化凈化區(22)之間設置有溢流壩B(30),強化凈化區(22)與深度凈化區(23)之間設置有溢流壩C(31);
所述生態前置庫(19)設置于地平面之下,近岸邊處種植挺水植物(26);生態前置庫(19)的一側設置有一條土筑溝渠(20),土筑溝渠(20)與河道(7)相連通,土筑溝渠(20)內設置有閘門(21),以便在旱季維持生態前置庫內水位的穩定;
所述強化凈化區(22),為一片疊水花臺濕地,由階梯狀水池組成,階梯狀水池中均種植挺水植物(26),每個水池的出水通過跌水的方式進入下一個水池;
所述深度凈化區(23)內設置有3條土壩(24),由3條土壩(24)分隔出4條廊道(25),構成回轉式廊道結構;依托廊道(25)的地形,按廊道(25)深度和區域面積分別種植挺水植物(26)和沉水植物(27);深度凈化區(23)的水面還設置附著有脫氮除磷微生物的浮床(28);深度凈化區(23)的出水沿廊道末端流入河道(7)。
2.根據權利要求所述的磁絮凝-前置庫聯用的分流制雨水處理系統,其特征在于,所述潛水泵(2)為3~5臺。
3.根據權利要求所述的磁絮凝-前置庫聯用的分流制雨水處理系統,其特征在于,所述磁粉投加口(8)與絮凝劑投加口(9)的間距為2~4m。
4.根據權利要求所述的磁絮凝-前置庫聯用的分流制雨水處理系統,其特征在于,所述弧形波狀導流墻(17)為3~7個。
5.根據權利要求所述的磁絮凝-前置庫聯用的分流制雨水處理系統,其特征在于,所述排水干管(3)的管徑為1.2~1.5m。
6.根據權利要求所述的磁絮凝-前置庫聯用的分流制雨水處理系統,其特征在于,所述排水支管A(4)與排水支管B(18)各設置有兩套完全相同的管線;排水支管A(4)的管徑為1.2~1.5m,排水支管B(18)的管徑為0.6~0.8m。
7.根據權利要求所述的磁絮凝-前置庫聯用的分流制雨水處理系統,其特征在于,所述磁絮凝前置庫(6)面積為1500~2000m2,與排水支管A(4)末端相連接,利用已有洼地進行改建,其中的弧形波狀導流墻(17)縱向長度至少為36m。
8.根據權利要求所述的磁絮凝-前置庫聯用的分流制雨水處理系統,其特征在于,所述生態前置庫(19)面積為2000~2500m2,與排水支管B(18)末端相連接,利用現有池塘或者河岸低洼處進行改造。
9.根據權利要求所述的磁絮凝-前置庫聯用的分流制雨水處理系統,其特征在于,所述強化凈化區(22)的面積為1600~2000m2,由5個階梯狀水池組成。
10.根據權利要求所述的磁絮凝-前置庫聯用的分流制雨水處理系統,其特征在于,所述深度凈化區(23)的面積為4000~5000m2;單個廊道(25)長為100~150m,寬為8~15m。
說明書
磁絮凝-前置庫聯用的分流制雨水處理系統
技術領域
本發明涉及一種雨水處理系統,具體涉及一種磁絮凝-前置庫聯用的分流制雨水處理系統。
背景技術
由于雨污混接及雨天徑流污染的普遍存在,城市雨水泵站外排水中含有大量的顆粒態污染物及溶解態營養鹽。直接將其排放入河,會使受納水體發生突發性水質惡化,隨之造成的水體“黑臭”現象,也會影響周圍居民的正常生活及市容市貌。因此在雨水進入受納水體前,有必要設置雨水處理系統以削減入河污染物總量,并達到一定的景觀效應,其中前置庫是一種相對實用且應用較為廣泛的技術。
前置庫技術通過延長水力停留時間,促進水中泥沙及營養鹽的沉降,同時利用庫中水生植物、藻類等進一步吸收、吸附、攔截營養鹽,從而降低進入下一級子庫或者受納水體水中的N、P等營養鹽含量,抑制水體中藻類過渡繁殖,減緩水體富營養化進程,改善水質。近年來此技術在我國平原地區及城市河道逐步得到應用,公開號為CN1621622A的專利,公開了一種平原河網地區面源污染強化凈化前置庫系統,可有效控制面源污染,減少入河污染負荷,但構筑物占地面積較大,且無法處理點源污染、缺乏景觀化效果,無法適用于城市河道。公開號為CN104803558A的專利,公開了一種適用于低流速城市小流域河網的水質凈化系統及方法,利用前置庫—生物繩—生物群落系統中生物協同作用凈化污水河水質,并達到美化城市河道環境的目的。公開號為CN103924551A的專利,公開了一種以景觀一體化為特征的前置庫處理系統,布置緊湊,具有處理點源污染效率高、管理簡單和景觀化效果等特點。這些技術均可在來水較為穩定時,通過水生生物作用強化凈化效果,實現污染物的去除,但其多用于處理河道水,當汛期暴雨來臨,進水流量突然增大時,抗水力沖擊能力較差,需要將來水直接導流至受納水體,亦對河道造成污染。
磁絮凝技術通過加載磁種并投加混凝劑的方式,使污染物與磁粉絮凝結合為一磁性整體,增加絮體體積和密度,并利用自身高效的沉降性,增強沉降分離效果,實現污染物的去除。該技術具有處理效率高、處理成本低、運行穩定且操作簡單等優點。磁絮凝技術在處理懸浮物含量較高的污水時,往往能取得較好的效果,且處理時間相較于傳統工藝大為縮短。但該技術現有的應用實例,例如公開號為CN202898156U和公開號為CN202898156U的專利,分別公開了一種磁絮凝水處理系統及一種一體化磁絮凝裝置,均需要構建專門的池體,工藝流程較為復雜,能耗較高,并無充分利用該技術顯著縮短處理時間的特性。
發明內容
本發明針對目前城市分流制泵站雨水不經處理直排入河,其水質較差且含有大量懸浮物,嚴重污染受納河道的現狀,將磁絮凝技術與前置庫系統相結合,提供一種磁絮凝-前置庫聯用的分流制雨水處理系統,可以在不同的排水條件下,發揮各自的優勢,對外排的雨水進行處理,削減入河污染物的總量,并達到一定的景觀效果。
本發明通過如下技術方案予以實現。
一種磁絮凝-前置庫聯用的分流制雨水處理系統,包括雨水泵站前池、潛水泵、排水干管和排水支管,其特征在于,雨水泵站前池1內設置有潛水泵2,潛水泵2通過排水干管3與排水支管A4、排水支管B18相連接,所述排水支管A4上設置有自動閥門5;在排水干管3的前端分別設置有磁粉投加口8與絮凝劑投加口9,在磁粉投加口8與絮凝劑投加口9的臨近處還設置有磁粉加載裝置12與絮凝劑配置裝置13,磁粉加載裝置12通過磁粉自動投加泵10與磁粉投加口8相連接,絮凝劑配置裝置13通過絮凝劑自動投加泵11與絮凝劑投加口9相連接;
在河道7與雨水泵站前池1之間的地平面之下設置有磁絮凝前置庫6,磁絮凝前置庫6通過排水支管A4與排水干管3相連接;磁絮凝前置庫6的中間部位設置有隔墻15,隔墻15將磁絮凝前置庫6分割為藥劑絮凝區14和沉淀區16;藥劑絮凝區14設置有土筑弧形波狀導流墻17;磁絮凝前置庫6與河道7之間設置有溢流壩A29;磁絮凝前置庫6近岸邊處種植挺水植物26;
所述排水支管B18設置于排水干管3的末端,沿排水支管B18的水流方向依次設置有生態前置庫19、強化凈化區22和深度凈化區23;生態前置庫19與強化凈化區22之間設置有溢流壩B30,強化凈化區22與深度凈化區23之間設置有溢流壩C31;
所述生態前置庫19設置于地平面之下,近岸邊處種植挺水植物26;生態前置庫19的一側設置有一條土筑溝渠20,土筑溝渠20與河道7相連通,土筑溝渠20內設置有閘門21,以便在旱季維持生態前置庫內水位的穩定;
所述強化凈化區22,為一片疊水花臺濕地,由階梯狀水池組成,階梯狀水池中均種植挺水植物26,每個水池的出水通過跌水的方式進入下一個水池;
所述深度凈化區23內設置有3條土壩24,由3條土壩24分隔出4條廊道25,構成回轉式廊道結構;依托廊道25的地形,按廊道25深度和區域面積分別種植挺水植物26和沉水植物27;深度凈化區23的水面還設置附著有脫氮除磷微生物的浮床28;深度凈化區23的出水沿廊道末端流入河道7。
所述潛水泵2為3~5臺。
所述磁粉投加口8與絮凝劑投加口9的間距為2~4m。
所述弧形波狀導流墻17為3~7個。
所述排水干管3的管徑為1.2~1.5m。
所述排水支管A4與排水支管B18各設置有兩套完全相同的管線;排水支管A4的管徑為1.2~1.5m,排水支管B18的管徑為0.6~0.8m。
所述磁絮凝前置庫6面積為1500~2000m2,與排水支管A4末端相連接,利用已有洼地進行改建,其中的弧形波狀導流墻17縱向長度至少為36m。
所述生態前置庫19面積為2000~2500m2,與排水支管B18末端相連接,利用現有池塘或者河岸低洼處進行改造。
所述強化凈化區22的面積為1600~2000m2,由5個階梯狀水池組成。
所述深度凈化區23的面積為4000~5000m2;單個廊道25長為100~150m,寬為8~15m。
本發明的有益效果如下:
(1)在保證排水速度的同時,緩解暴雨對河道水質的影響,避免水體“黑臭”現象的發生;
(2)在非泄洪情況下,通過延長水力停留時間,利用水生植物及微生物的共同作用,對泵站外排雨水進行深度處理,強化凈化效果;
(3)充分利用了排水管道內的水力攪動,節省動力能耗,工藝流程簡單,結構緊湊,自動化程度高;
(4)強化凈化區的疊水花臺與深度凈化區通過逐級跌水的方式相連接,可以達到補充水體溶解氧的效果;
(5)生態前置庫通過溝渠與河道相連接,可在枯水期補充系統進水,維持系統內生態系統的基本穩定;
(6)系統內根據水位的高低,選種不同的適應性較強的水生景觀植物,系統兼具實用性與景觀性。



