申請日2016.05.12
公開(公告)日2016.07.20
IPC分類號C02F1/46
摘要
本發明提供了一種自動除垢的電化學水處理設備及其裝配方法,該設備包括橫置的筒狀殼體、陰極板、陽極板、陰極桿和陽極桿,所述筒狀殼體的至少一端能夠開閉,所述陰極板、陽極板、陰極桿和陽極桿均設于所述筒狀殼體內,所述陰極板和陽極板之間相鄰間隔設置,所述陰極桿導通穿過部分或全部所述陰極板,所述陽極桿導通穿過部分或全部所述陽極板。
權利要求書
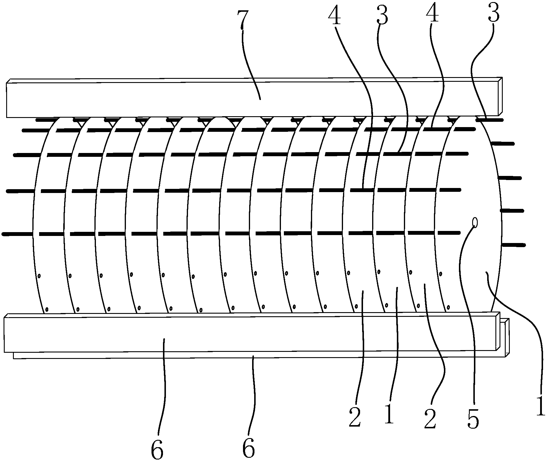
1.一種自動除垢的電化學水處理設備,其特征在于:包括橫置的筒狀殼體、陰極板、陽極板、陰極桿和陽極桿,所述筒狀殼體的至少一端能夠開閉,所述陰極板、陽極板、陰極桿和陽極桿均設于所述筒狀殼體內,所述陰極板和陽極板之間相鄰間隔設置,所述陰極桿導通穿過部分或全部所述陰極板,所述陽極桿導通穿過部分或全部所述陽極板。
2.如權利要求1所述的自動除垢的電化學水處理設備,其特征在于:所述陰極桿穿過所述陰極板和陽極板,且所述陰極桿與陽極板絕緣;所述陽極桿穿過所述陽極板和陰極板,且所述陽極桿與陰極板絕緣。
3.如權利要求1所述的自動除垢的電化學水處理設備,其特征在于:所述陰極桿和陽極桿環繞所述陰極板和陽極板周向布置,且所述陰極桿和陽極桿相鄰間隔設置。
4.如權利要求1所述的自動除垢的電化學水處理設備,其特征在于:所述陰極板和/或陽極板上設有固定件,所述筒狀殼體內側對應設有卡槽結構,進而通過所述固定件和卡槽結構的接合確定所述陰極板、陽極板以及串接其上的陰極桿和陽極桿相對所述筒狀殼體的位置。
5.如權利要求4所述的自動除垢的電化學水處理設備,其特征在于:所述固定件的數量為三組,且三組所述固定件環繞所述陰極板和/或陽極板周向布置。
6.如權利要求5所述的自動除垢的電化學水處理設備,其特征在于:其中一組所述固定件設于所述陰極板和/或陽極板的頂部,另兩組對稱設于所述陰極板和/或陽極板靠近底部的位置。
7.如權利要求1所述的自動除垢的電化學水處理設備,其特征在于:所述筒狀腔體的至少一端通過端蓋組件實現開閉,所述陽極桿和陰極桿固定連接且導通于至少之一所述端蓋組件,從而通過至少之一所述端蓋組件分別連接外部正極和負極。
8.如權利要求1所述的自動除垢的電化學水處理設備,其特征在于:還包括轉動軸和用以為所述陰極板刮垢的刮刀結構,所述陰極板和陽極板上還設有轉軸通孔,所述轉動軸穿過所述轉軸通孔,所述刮刀結構被所述轉動軸驅動旋轉,以實現刮垢。
9.如權利要求1所述的自動除垢的電化學水處理設備,其特征在于:所述筒狀殼體內形成圓形的腔體。
10.一種自動除垢的電化學水處理設備的裝配方法,其特征在于:包括如下步驟:
S0:提供陰極板、陽極板、陰極桿和陽極桿,以及橫置的筒狀殼體;
S1:將所述陰極桿穿過所述陰極板和陽極板,將所述陽極桿穿過所述陰極板和陽極板,從而形成一整體;其中,所述陰極桿與陽極板絕緣,所述陽極桿與陰極板絕緣;
S2:將步驟S1形成的整體自所述筒狀殼體的一端的開口送入所述筒狀殼體內;
S3:對所述陰極板、陽極板、陰極桿和陽極桿進行定位安裝,完成裝配。
說明書
自動除垢的電化學水處理設備及其裝配方法
技術領域
本發明涉及水處理領域,尤其涉及一種自動除垢的電化學水處理設備及其裝配方法。
背景技術
當前,隨著我國經濟的飛速發展,工業廢水帶來的環境污染日趨嚴重。現有技術中使用的電化學處理裝置中,為了實現水處理,需要使用陰極板和陽極板之間的作用吸附垢物,或者利用其氧化作用對水進行作用。
為了實現該目的,在現有技術中的水處理裝置,其通常會提供一種殼體,殼體的開口處設有門板,從而將陰極板和陽極板分別設于殼體和門板上,通過門的關合,使得陰極板和陽極板之間間隔排布,從而達到以上提到的作用。然而,這種結構的下的裝置,其所采用的陰極板和陽極板的數量和尺寸,受限于門板的承受能力,這樣一來,就大大制約了水處理裝置的處理能力。
為了解決這樣的問題,現有技術中也存在一些解決辦法,比如在已公開的申請號為201510605568.0的專利中,采用兩個門板來分攤所需承受的負載,這在一定程度上提高了可采用的陰極板和陽極板的數量和尺寸,但其依舊受限于門板本身,未從本質上解決這一問題,也無法使得水處理裝置的處理能力有明顯的提升。
發明內容
本發明要解決的技術問題是如何使得電化學水處理裝置擺脫門板承載能力的束縛,從而有效提高處理能力。
為了解決這一技術問題,本發明提供了一種自動除垢的電化學水處理設備,包括橫置的筒狀殼體、陰極板、陽極板、陰極桿和陽極桿,所述筒狀殼體的至少一端能夠開閉,所述陰極板、陽極板、陰極桿和陽極桿均設于所述筒狀殼體內,所述陰極板和陽極板之間相鄰間隔設置,所述陰極桿導通穿過部分或全部所述陰極板,所述陽極桿導通穿過部分或全部所述陽極板。
可選的,所述陰極桿穿過所述陰極板和陽極板,且所述陰極桿與陽極板絕緣;所述陽極桿穿過所述陽極板和陰極板,且所述陽極桿與陰極板絕緣。
可選的,所述陰極桿和陽極桿環繞所述陰極板和陽極板周向布置,且所述陰極桿和陽極桿相鄰間隔設置。
可選的,所述陰極板和/或陽極板上設有固定件,所述筒狀殼體內側對應設有卡槽結構,進而通過所述固定件和卡槽結構的接合確定所述陰極板、陽極板以及串接其上的陰極桿和陽極桿相對所述筒狀殼體的位置。
可選的,所述固定件的數量為三組,且三組所述固定件環繞所述陰極板和/或陽極板周向布置。
可選的,其中一組所述固定件設于所述陰極板和/或陽極板的頂部,另兩組對稱設于所述陰極板和/或陽極板靠近底部的位置。
可選的,所述筒狀腔體的至少一端通過端蓋組件實現開閉,所述陽極桿和陰極桿固定連接且導通于至少之一所述端蓋組件,從而通過至少之一所述端蓋組件分別連接外部正極和負極。
可選的,所述的自動除垢的電化學水處理設備還包括轉動軸和用以為所述陰極板刮垢的刮刀結構,所述陰極板和陽極板上還設有轉軸通孔,所述轉動軸穿過所述轉軸通孔,所述刮刀結構被所述轉動軸驅動旋轉,以實現刮垢。
可選的,所述筒狀殼體內形成圓形的腔體。
本發明還提供了一種自動除垢的電化學水處理設備的裝配方法,包括如下步驟:
S0:提供陰極板、陽極板、陰極桿和陽極桿,以及橫置的筒狀殼體;
S1:將所述陰極桿穿過所述陰極板和陽極板,將所述陽極桿穿過所述陰極板和陽極板,從而形成一整體;其中,所述陰極桿與陽極板絕緣,所述陽極桿與陰極板絕緣;
S2:將步驟S1形成的整體自所述筒狀殼體的一端的開口送入所述筒狀殼體內;
S3:對所述陰極板、陽極板、陰極桿和陽極桿進行定位安裝,完成裝配。
本發明利用一個端部可開口的筒狀殼體代替了傳統殼體,更重要的是,陰極板與陽極板都并未承載于門板上,從而使得其并不會受門板承載能力的限制。這并非只是是否裝載于門板的差別,其擺脫了過去技術的偏見,從而做出的整體思路的創造性改進。
而且,基于此,本發明利用陰極桿和陽極桿的串接,使得陰極桿、陽極桿、陰極板和陽極板可以被連接在一起,通過對其中部分的定位和安裝,即可實現其整體的安裝和定位,而無需依賴于門板去進行其中陰極板或陽極板的承載,這種裝配關系本身就能夠與現有的方案構成區別,更不提基于這種裝配關系而產生的裝配方法了。
可見,本發明不但提出了“不裝載于門板”的構思,而且給出了可實現該構思的具體裝配關系和裝配方法,使得電化學水處理裝置擺脫門板承載能力的束縛,在此基礎上,使得裝配任意數量和尺寸的陰極板和陽極板成為了可能,從而有效提高處理能力。
此外,本發明的設備和方法還使得自動化的快速裝配成為了可能。



