申請日2016.05.27
公開(公告)日2016.08.31
IPC分類號C02F9/12; A01G25/02
摘要
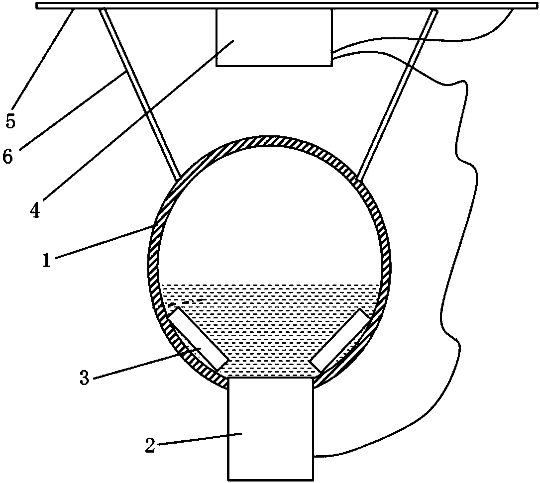
本發明公開了一種農業灌溉用超聲波水處理裝置,包括:第一管體;超聲波發生器,其設置在第一管體側壁的底部,所述超聲波發生器與第一管體內部連通;磁體,其設置在所述第一管體內;蓄電池,其通過導線與所述超聲波發生器連接用以對所述超聲波發生器供電;以及太陽能光伏板,其通過導線與所述蓄電池連接,所述太陽能光伏板通過支架設置在第一管體側壁的上方。本發明作用于流過的灌溉水,對灌溉水既形成磁場又形成超聲振動,兩者共同對灌溉水起作用,增加灌溉效率,提高水的吸收率,節約用水,增加產量。
摘要附圖
權利要求書
1.一種農業灌溉用超聲波水處理裝置,其特征在于,包括:
第一管體;
超聲波發生器,其設置在第一管體側壁的底部,所述超聲波發生器與第一管體內部連通;
磁體,其設置在所述第一管體內;
蓄電池,其通過導線與所述超聲波發生器連接用以對所述超聲波發生器供電;以及
太陽能光伏板,其通過導線與所述蓄電池連接,所述太陽能光伏板通過支架設置在第一管體側壁的上方。
2.如權利要求1所述的農業灌溉用超聲波水處理裝置,其特征在于,所述超聲波發生器上設置有超聲波變幅桿。
3.如權利要求1所述的農業灌溉用超聲波水處理裝置,其特征在于,所述磁體設置在超聲波發生器的超聲波輻射面內。
4.如權利要求1或3任意一項所述的農業灌溉用超聲波水處理裝置,其特征在于,所述磁體包括第一圓筒形磁體和第二圓筒形磁體,所述第一圓筒形磁體套設在所述第二圓筒形磁體外,第一圓筒形磁體的內周面與第二圓筒形磁體二的外周面對置設置,且兩者之間具有間隔,所述第一圓筒形磁體設置在第一管體內壁上,所述第一圓筒形磁體和第二圓筒形磁體之間通過一圓環片固定,所述圓環片上沿周向均勻設置有多個供水流過的通孔。
5.如權利要求4所述的農業灌溉用超聲波水處理裝置,其特征在于,所述第一圓筒形磁體和所述第二圓筒形磁體由永磁材料制成。
6.如權利要求1所述的農業灌溉用超聲波水處理裝置,其特征在于,還包括:旋轉盤,其中心通過一支桿固定在所述超聲波發生器和所述磁體之間的第一管體內側壁的底部上,所述旋轉盤可轉動地設置在所述支桿上,所述旋轉盤上設置多個葉片。
7.如權利要求1所述的農業灌溉用超聲波水處理裝置,其特征在于,還包括:第一管體的進水端連接一根第二管體,所述第二管體內遠離所述第一管體的方向依次設置有石英砂過濾器和過濾網。
8.如權利要求7所述的農業灌溉用超聲波水處理裝置,其特征在于,還包括:設置在所述過濾網和所述石英砂過濾器之間的第二管體的側壁上的兩組高壓噴嘴,兩組高壓噴嘴分別設置在第二管體側壁的上方和下方,所述高壓噴嘴朝向所述石英砂過濾器設置,高壓噴嘴的嘴部設置在第二管體的內部,所述高壓噴嘴的尾部設置在第二管體的外部,所述高壓噴嘴通過管道與高壓水泵連接。
9.如權利要求8所述的農業灌溉用超聲波水處理裝置,其特征在于,每組高壓噴嘴包括多個高壓噴嘴,所述高壓噴嘴與第二管體軸向夾角為15-75°。
10.如權利要求8所述的農業灌溉用超聲波水處理裝置,其特征在于,所述第二管體上遠離所述高壓噴嘴且靠近第二管體出水口端依次設置有垂直于所述第二管體且與所述第二管體連通的支管和控制第二管體水流開關的控制閥門,所述支管上也設置有閥門。
說明書
農業灌溉用超聲波水處理裝置
技術領域
本發明涉及農業灌溉設備領域。更具體地說,本發明涉及一種農業灌溉用超聲波水處理設備。
背景技術
隨著經濟的發展,農業在我們生活中占據著越來越重要的作用,目前全國大多的地區的都會出現干旱的情況,人們為了農業的產量,都會使用灌溉裝置來對農田進行灌溉,普通的灌溉裝置只是能給農田進行水的補給。農業灌溉用水有的是河水,也有的是山泉水,自然未經過處理的水多是大分子團的非活性水。水對我國廣大農村來說十分寶貴,有的地方特別是處于干旱季節更是惜水如油。因此,如何提高農作物對水的吸收率從而提高水資源的利用率是目前農業研究的一個重要課題。
發明內容
本發明的目的是提供一種農業灌溉用超聲波水處理裝置,該裝置能將灌溉水活性化從而提高農作物對水的吸收率,提高水資源的利用率,節約用水。
為了實現根據本發明的這些目的和其它優點,提供了一種農業灌溉用超聲波水處理裝置,包括:
第一管體;
超聲波發生器,其設置在第一管體側壁的底部,所述超聲波發生器與第一管體內部連通;
磁體,其設置在所述第一管體內;
蓄電池,其通過導線與所述超聲波發生器連接用以對所述超聲波發生器供電;以及
太陽能光伏板,其通過導線與所述蓄電池連接,所述太陽能光伏板通過支架設置在第一管體側壁的上方。
優選的是,其中,所述超聲波發生器上設置有超聲波變幅桿。
優選的是,其中,所述磁體設置在超聲波發生器的超聲波輻射面內。
優選的是,其中,所述磁體包括第一圓筒形磁體和第二圓筒形磁體,所述第一圓筒形磁體套設在所述第二圓筒形磁體外,第一圓筒形磁體的內周面與第二圓筒形磁體二的外周面對置設置,且兩者之間具有間隔,所述第一圓筒形磁體設置在第一管體內壁上,所述第一圓筒形磁體和第二圓筒形磁體之間通過一圓環片固定,所述圓環片上沿周向均勻設置有多個供水流過的通孔。
優選的是,其中,所述第一圓筒形磁體和所述第二圓筒形磁體由永磁材料制成。
優選的是,其中,還包括:旋轉盤,其中心通過一支桿固定在所述超聲波發生器和所述磁體之間的第一管體內側壁的底部上,所述旋轉盤可轉動地設置在所述支桿上,所述旋轉盤上設置多個葉片。
優選的是,其中,還包括:第一管體的進水端連接一根第二管體,所述第二管體內遠離所述第一管體的方向依次設置有石英砂過濾器和過濾網。
優選的是,其中,還包括:設置在所述過濾網和所述石英砂過濾器之間的第二管體的側壁上的兩組高壓噴嘴,兩組高壓噴嘴分別設置在第二管體側壁的上方和下方,所述高壓噴嘴朝向所述石英砂過濾器設置,高壓噴嘴的嘴部設置在第二管體的內部,所述高壓噴嘴的尾部設置在第二管體的外部,所述高壓噴嘴通過管道與高壓水泵連接。
優選的是,其中,每組高壓噴嘴包括多個高壓噴嘴,所述高壓噴嘴與第二管體軸向夾角為15-75°。
優選的是,其中,所述第二管體上遠離所述高壓噴嘴且靠近第二管體出水口端依次設置有垂直于所述第二管體且與所述第二管體連通的支管和控制第二管體水流開關的控制閥門,所述支管上也設置有閥門。
本發明至少包括以下有益效果:
(1)本發明的裝置作用于流過的灌溉水,對灌溉水既形成磁場又形成超聲振動,兩者共同對灌溉水起作用,增加灌溉效率,提高水的吸收率,節約用水,增加產量;
(2)本發明的磁體能形成強磁場,灌溉水從強磁場中流過增加了水的磁性,有助于水在生物體內有序運動,進一步提高水的吸收率;
(3)本發明具有過濾裝置,能防止水中的雜質堵塞超聲波過濾器。
本發明的其它優點、目標和特征將部分通過下面的說明體現,部分還將通過對本發明的研究和實踐而為本領域的技術人員所理解。


