申請日2016.05.28
公開(公告)日2017.12.05
IPC分類號B01D33/04; B01D33/76
摘要
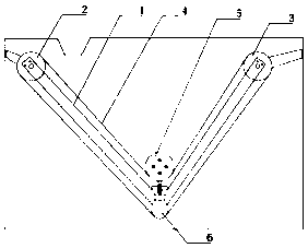
本發明涉及一種水處理過濾機的除渣裝置,要解決的技術問題是提供一種能夠增大過濾裝置過濾面與污水接觸面積,提高過濾裝置過慮效率,減少過濾裝置工作耗能,節約過濾裝置工作成本的除渣裝置,包括支架,其中支架的兩端分別設置有主動滾筒和從動滾筒,其中支架的外圍設置有濾布,所述的支架呈V形;所述的V形支架的折彎處設置有限位滾筒和可調濾布松緊的支撐滾筒。本發明屬于水處理過濾機的技術領域,通過本發明能夠明顯提高過濾機工作的效率,減少過濾機工作的成本。
摘要附圖
權利要求書
1.一種水處理過濾機的除渣裝置,包括支架,其中支架的兩端分別設置有主動滾筒和從動滾筒,支架的外圍設置有濾布,其特征在于:所述的支架呈V形;所述的V形支架的折彎處設置有限位滾筒和可調濾布松緊的支撐滾筒。
2.根據權利要求1所述的一種水處理過濾機的除渣裝置,其特征在于:所述的主動滾筒、從動滾筒、限位滾筒及支撐滾筒的兩端設置有限位盤,各滾筒中部滾柱的直徑小于滾筒兩端限位盤的直徑,該中部滾柱的長度與濾布的寬度一致。
說明書
一種水處理過濾機的除渣裝置
技術領域
本發明屬于水處理過濾機的技術領域,具體涉及一種水處理過濾機的除渣裝置。
背景技術
在污水處理過程中,一般采用多級處理流程,這樣多級處理流程就需要多個處理單元,每個處理單元均需有專用設備配套,并需要相應的構筑物,這樣導致設備投入、土地使用面積、土建工程量均較大,且運行效率低。
現中國發明專利ZL200610053225.9公開一種水處理篩濾裝置,該裝置將多個處理單元功能合并,提高了效率,節約了空間,但是該裝置的除渣裝置的一端斜置于水槽中,這樣除渣過濾的時就主要靠污水的流動沖力來通過濾布,這樣就需要一個水流速度調節器或者其他水流穩定裝置來保證水流的速度,從而保證過濾的沖力,這樣就需要額外增加過濾裝置工作的耗能,增大成本;并且該種除渣裝置的設置使過濾面與污水接觸的面積過小,過濾效率不高,從而增加了過濾裝置的工作成本。
發明內容
本發明要解決的技術問題是提供一種能夠增大過濾裝置過濾面與污水接觸面積,提高過濾裝置過慮效率,減少過濾裝置工作耗能,節約過濾裝置工作成本的除渣裝置。
為了解決上述技術問題,本發明提供一種水處理過濾機的除渣裝置,包括支架,其中支架的兩端分別設置有主動滾筒和從動滾筒,其中支架的外圍設置有濾布,所述的支架呈V形;所述的V形支架的折彎處設置有限位滾筒和可調濾布松緊的支撐滾筒。
由于該除渣裝置的支架呈V形,當污水流入支架外圍的濾布上,液體靠自身的重力來通過濾布,從而進行過濾,這樣就不需要額外的增加污水流速調節裝置,減少了過濾裝置工作的耗能;另外,V形的支架外圍設置的濾布也呈V形,這樣與傳統的斜置形的濾布相比,增加了污水與濾布的接觸面積,這樣就能夠增加污水過濾的效率,從而節約過濾裝置工作的成本。
進一步,限制所述的主動滾筒、從動滾筒、限位滾筒及支撐滾筒的兩端設置有限位盤,各滾筒中部滾柱的直徑小于滾筒兩端限位盤的直徑,該中部滾柱的長度與濾布的寬度一致。由于各滾筒的中部滾柱的直徑小于滾筒兩端限位盤的直徑,且該中部滾柱的長度與濾布的寬度一致,這樣就能夠使濾布嵌于滾筒中部滾柱上,從而能夠保證濾布不會左右偏移,這樣能夠保證過濾裝置工作的穩定性,也能增加濾布使用的壽命。


