申請日2016.05.05
公開(公告)日2016.10.05
IPC分類號C02F9/08
摘要
本實用新型提供了一種廢水凈化消毒裝置的技術方案,包括殼體,所述殼體內設置有第一隔板和第二隔板,所述第一隔板位于所述第二隔板的上部,所述第一隔板上設置有過濾箱,所述第二隔板上設置有除臭箱,所述殼體的底板上設置有消毒箱。本實用新型采用殼體將過濾箱、除臭箱和消毒箱集中設置,整體占地面積小,移動方便,安全維護容易,而且能夠高效、徹底的對污水進行處理,殺菌消毒效果好,具有很強的應用推廣價值。
權利要求書
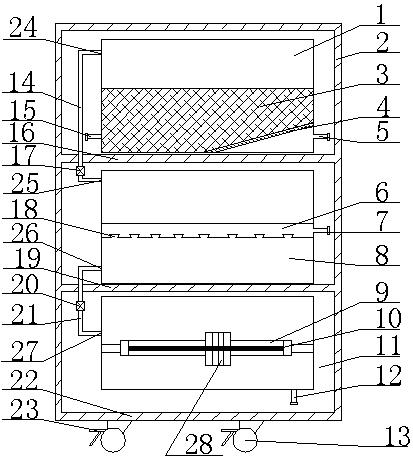
1.一種廢水凈化消毒裝置,其特征是:包括殼體,所述殼體內設置有第一隔板和第二隔板,所述第一隔板位于所述第二隔板的上部,所述第一隔板上設置有過濾箱,所述第二隔板上設置有除臭箱,所述殼體的底板上設置有消毒箱;
所述過濾箱內設置有傾斜支撐板,所述傾斜支撐板的上部固定有過濾料,所述傾斜支撐板的下部的過濾箱側壁上設置有進水口,所述過濾料上部的過濾箱側壁上設置有出水口,所述出水口的下部設置有過濾料出口;
所述除臭箱的上端設置有進水口,所述除臭箱的下端設置有出水口,所述除臭箱的側壁上設置有進氣口,所述除臭箱內設置有與所述進氣口相連通的臭氧分布器,所述臭氧分布器的下腔壁上均勻布置有出氣孔,所述出氣孔的截面形狀為梯形且梯形的大邊在上部;
所述消毒箱的上端設置有進水口,所述消毒箱的下端設置有出水口,所述消毒箱內設置有紫外燈光管,所述紫外燈光管安裝在石英玻璃管內,所述石英玻璃管的兩端固定在所述消毒箱的內壁上,所述石英玻璃管的管壁上滑動設置有清洗環;
所述過濾箱的出水口通過第一連接管與所述除臭箱的進水口連通,所述除臭箱的出水口通過第二連接管與所述消毒箱的進水口連通。
2.根據權利要求1所述的廢水凈化消毒裝置,其特征是:所述第一連接管上設置有單向閥。
3.根據權利要求2所述的廢水凈化消毒裝置,其特征是:所述第二連接管上設置有單向閥。
4.根據權利要求3所述的廢水凈化消毒裝置,其特征是:所述第一隔板上設置有與所述第一連接管相匹配的通孔,所述第二隔板上設置有與所述第二連接管相匹配的通孔。
5.根據權利要求4所述的廢水凈化消毒裝置,其特征是:所述殼體的底部設置有萬向輪。
6.根據權利要求5所述的廢水凈化消毒裝置,其特征是:所述萬向輪上設置有鎖緊機構。
說明書
一種廢水凈化消毒裝置
技術領域
本實用新型涉及的是一種廢水凈化消毒裝置。
背景技術
水是生命之源,雖然地球上70%是水,但是真正能被人利用的水卻十分有限。隨著科技的發展,水污染越來越嚴重,隨著生活水平的提高,人們對環境保護的意識開始淡薄。為了有效的保護水資源,人們開始將廢水凈化后再使用。目前使用的處理廢水的設備一般是用多級凈化罐,各級凈化罐位于同一平面上,各級凈化罐之間通過水管連接,污水進行多級凈化,但是其占地面積大,維護困難,處理效果也不理想,這就是現有技術所存在的不足之處。
發明內容
本實用新型所要解決的技術問題,就是針對現有技術所存在的不足,而提供一種廢水凈化消毒裝置的技術方案。
本方案是通過如下技術措施來實現的:一種廢水凈化消毒裝置,包括殼體,所述殼體內設置有第一隔板和第二隔板,所述第一隔板位于所述第二隔板的上部,所述第一隔板上設置有過濾箱,所述第二隔板上設置有除臭箱,所述殼體的底板上設置有消毒箱;
所述過濾箱內設置有傾斜支撐板,所述傾斜支撐板的上部固定有過濾料,所述傾斜支撐板的下部的過濾箱側壁上設置有進水口,所述過濾料上部的過濾箱側壁上設置有出水口,所述出水口的下部設置有過濾料出口;
所述除臭箱的上端設置有進水口,所述除臭箱的下端設置有出水口,所述除臭箱的側壁上設置有進氣口,所述除臭箱內設置有與所述進氣口相連通的臭氧分布器,所述臭氧分布器的下腔壁上均勻布置有出氣孔,所述出氣孔的截面形狀為梯形且梯形的大邊在上部;
所述消毒箱的上端設置有進水口,所述消毒箱的下端設置有出水口,所述消毒箱內設置有紫外燈光管,所述紫外燈光管安裝在石英玻璃管內,所述石英玻璃管的兩端固定在所述消毒箱的內壁上,所述石英玻璃管的管壁上滑動設置有清洗環。
所述過濾箱的出水口通過第一連接管與所述除臭箱的進水口連通,所述除臭箱的出水口通過第二連接管與所述消毒箱的進水口連通。
本實用新型的進一步改進還有,所述第一連接管上設置有單向閥,防止過濾后的污水倒流回過濾箱。
本實用新型的進一步改進還有,所述第二連接管上設置有單向閥,防止了除臭殺菌后的污水倒流回除臭箱。
本實用新型的進一步改進還有,所述第一隔板上設置有與所述第一連接管相匹配的通孔,所述第二隔板上設置有與所述第二連接管相匹配的通孔。
本實用新型的進一步改進還有,所述殼體的底部設置有萬向輪。
本實用新型的進一步改進還有,所述萬向輪上設置有鎖緊機構。
本方案的有益效果可根據對上述方案的敘述得知,本實用新型采用殼體將過濾箱、除臭箱和消毒箱集中設置,整體占地面積小,移動方便,安全維護容易,而且能夠高效、徹底的對污水進行處理,殺菌消毒效果好,具有很強的應用推廣價值。
由此可見,本實用新型與現有技術相比,具有實質性特點和進步,其實施的有益效果也是顯而易見的。



