申請日2016.05.05
公開(公告)日2016.09.14
IPC分類號C02F3/02
摘要
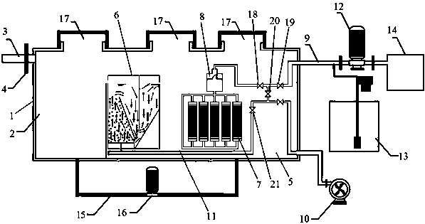
本實用新型公開了一種膜分離污水處理裝置,其包括箱體,所述箱體內設有酸化池和膜生物反應池,酸化池和膜生物反應池之間設有泥水分離裝置,泥水分離裝置的進水口連通酸化池,出水口連通膜生物反應池,所述膜生物反應池內設有膜生物反應器和氣水分離裝置,所述氣水分離裝置的進水口與膜生物反應器的出水口相互連通,氣水分離裝置的出水口通過管道分別與出水管和鼓風機相互連接,所述出水管上連接有吸水泵和加藥器,所述鼓風機的出風口通過管道與曝氣管相連通,曝氣管位于所述泥水分離裝置和膜生物反應器的下方,在曝氣管上分布有曝氣孔。本實用新型采用一體化設置,節省空間,污水處理方便簡單,且清洗方便,污水處理效率得到大大的提高。
權利要求書
1.一種膜分離污水處理裝置,其特征在于:包括箱體,所述箱體內設有酸化池和膜生物反應池,所述酸化池和膜生物反應池之間設有泥水分離裝置,泥水分離裝置的進水口連通酸化池,出水口連通膜生物反應池,所述膜生物反應池內設有膜生物反應器和氣水分離裝置,所述氣水分離裝置的進水口與膜生物反應器的出水口相互連通,氣水分離裝置的出水口通過管道分別與出水管和鼓風機相互連接,所述出水管上連接有吸水泵和加藥器,所述鼓風機的出風口通過管道與曝氣管相連通,曝氣管位于所述泥水分離裝置和膜生物反應器的下方,在曝氣管上分布有曝氣孔。
2.根據權利要求1所述的一種膜分離污水處理裝置,其特征在于:所述泥水分離裝置包括池體,以及位于所述池體內的第一導流墻、第二導流墻和第三導流墻,所述第一導流墻與水平方向成102-118°角向外傾斜設置,且其下端與所述池體底部的距離為80-120cm,上端低于所述池體內最高水位所在平面的距離為20-80cm ;所述第三導流墻與所述池體的底部固定連接,并且其與所述池體的底部成65-80°角向外傾斜;所述第二導流墻垂直于所述池體的池底并位于所述第一導流墻與所述第三導流墻之間,第二導流墻上端高出所述池體內有效水位35-55cm,所述第二導流墻下端與所述第一導流墻和第三導流墻之間分別形成泥水混合液的流通通道;所述池體底部一側安裝有所述曝氣管。
3.根據權利要求1所述的一種膜分離污水處理裝置,其特征在于:所述膜生物反應器包括膜組件、產水支管和產水總管,所述膜組件的產水口與產水支管連接,產水支管再與產水總管連接,產水總管的出水口與所述氣水分離裝置的進水口相連通。
4.根據權利要求1所述的一種膜分離污水處理裝置,其特征在于:所述氣水分離裝置包括活塞筒和設在所述活塞筒內并將所述活塞筒內腔分為前腔和后腔的活塞,所述活塞上設有可導通前腔到后腔方向的單向閥,所述膜生物反應器與活塞筒的前腔連通,所述活塞筒的后腔通過出水管道與出水管連通,并且還通過供氣管道與鼓風機連通。
5.根據權利要求4所述的一種膜分離污水處理裝置,其特征在于:所述出水管道上設有第一截止閥和第二截止閥,所述供氣管道于所述第一截止閥和第二截止閥間匯入所述出水管道,在所述供氣管道上設有第三截止閥。
6.根據權利要求5所述的一種膜分離污水處理裝置,其特征在于:所述曝氣管與所述供氣管道并聯,在連接曝氣管與鼓風機的曝氣管路上設有第四截止閥。
7.根據權利要求1所述的一種膜分離污水處理裝置,其特征在于:所述酸化池和膜生物反應池之間設有污泥回流管和回流泵。
8.根據權利要求1所述的一種膜分離污水處理裝置,其特征在于:所述箱體上方設有檢修孔,所述箱體的進水口處設有格柵。
說明書
一種膜分離污水處理裝置
技術領域
本實用新型涉及一種膜分離污水處理裝置,屬于環保技術領域。
背景技術
膜生物反應器(MBR)是水處理中較新的而且較有前途的反應形式之一,它成功地將生物反應和膜過濾技術結合了起來。其突出的特點就是用膜過濾代替了傳統反應系統中的二沉池,避免了傳統的生物反應系統中二沉池沉淀難度較大的問題,同時用膜進行過濾,曝氣池中的污泥的濃度可以保持在較高的水平,相應污泥負荷處于較低水平,能有效避免污泥膨脹等現象。一般經過膜生物反應器的處理,生化污水可以達到回收利用的要求。也正因這些優點,膜生物反應器被認為是現代最有前景的反應器之一。
然而,當前一體式膜生物反應器由于其膜表面直接與反應器內的高濃度活性污泥直接接觸,極易產生濃差極化,造成膜表面的污染;為了減輕這種污染,目前一般采用定期反沖洗,即采用產水作為沖洗水,在壓力條件下從產水側濾過膜流出至進水側的過程。然而整個水反沖洗過程會消耗大量能量,導致膜生物反應器的噸水處理成本居高不下,制約了膜生物反應器技術的發展。采用能夠克服傳統膜生物反應器技術能耗高的缺陷的一種反沖洗方式將迫在眉睫。另外,在MBR膜池中污泥濃度較高的情況時,污染和堵塞較為嚴重,為了保證MBR系統的正常運行不得不增加對膜表面氣吹掃的強度,導致能耗進一步增加。因此,降低MBR膜處理單元的混合液污泥濃度,也是亟需解決的一個問題。
實用新型內容
為克服上述現有技術存在的不足,本實用新型提供了一種膜分離污水處理裝置。
本實用新型采取的技術方案是:一種膜分離污水處理裝置,其包括箱體,所述箱體內設有酸化池和膜生物反應池,所述酸化池和膜生物反應池之間設有泥水分離裝置,泥水分離裝置的進水口連通酸化池,出水口連通膜生物反應池,所述膜生物反應池內設有膜生物反應器和氣水分離裝置,所述氣水分離裝置的進水口與膜生物反應器的出水口相互連通,氣水分離裝置的出水口通過管道分別與出水管和鼓風機相互連接,所述出水管上連接有吸水泵和加藥器,所述鼓風機的出風口通過管道與曝氣管相連通,曝氣管位于所述泥水分離裝置和膜生物反應器的下方,在曝氣管上分布有曝氣孔。
進一步的,所述泥水分離裝置包括池體,以及位于所述池體內的第一導流墻、第二導流墻和第三導流墻,所述第一導流墻與水平方向成102-118°角向外傾斜設置,且其下端與所述池體底部的距離為80-120cm,上端低于所述池體內最高水位所在平面的距離為20-80cm ;所述第三導流墻與所述池體的底部固定連接,并且其與所述池體的底部成65-80°角向外傾斜;所述第二導流墻垂直于所述池體的池底并位于所述第一導流墻與所述第三導流墻之間,第二導流墻上端高出所述池體內有效水位35-55cm,所述第二導流墻下端與所述第一導流墻和第三導流墻之間分別形成泥水混合液的流通通道;所述池體底部一側安裝有所述曝氣管。
進一步的,所述膜生物反應器包括膜組件、產水支管和產水總管,所述膜組件的產水口與產水支管連接,產水支管再與產水總管連接,產水總管的出水口與所述氣水分離裝置的進水口相連通。
進一步的,所述氣水分離裝置包括活塞筒和設在所述活塞筒內并將所述活塞筒內腔分為前腔和后腔的活塞,所述活塞上設有可導通前腔到后腔方向的單向閥,所述膜生物反應器與活塞筒的前腔連通,所述活塞筒的后腔通過出水管道與出水管連通,并且還通過供氣管道與鼓風機連通,
進一步的,所述出水管道上設有第一截止閥和第二截止閥,所述供氣管道于所述第一截止閥和第二截止閥間匯入所述出水管道,在所述供氣管道上設有第三截止閥。
進一步的,所述曝氣管與所述與所述供氣管道并聯,在連接曝氣管與鼓風機的曝氣管路上設有第四截止閥。
進一步的,所述酸化池和膜生物反應池之間設有污泥回流管和回流泵。
進一步的,所述箱體上方設有檢修孔;所述箱體的進水口處設有格柵。
本實用新型的有益效果是:
(1)本裝置采用一體化設置,節省空間,污水處理方便簡單,且清洗方便,污水處理效率得到大大的提高。
(2)本裝置設置了泥水分離裝置,并且通過泥水分離裝置中三塊導流墻的設計,使進入泥水分離裝置的混合液連續經歷兩次泥水分離過程,使得進入膜處理單元的混合液污泥濃度降低,能夠有效緩解膜組件的污染,延長膜組件的使用壽命和膜組件的清洗周期,減少膜清洗的藥劑,降低運行成本。
(3)本裝置設置了氣水分離裝置,采用完善的管路設計,采用曝氣氣源替代反沖洗水泵,節約了反沖洗水泵等昂貴的大型設備,從而降低工程成本和噸水費用。采用氣源作為反洗的動力源,實踐證明壓力的上升比反洗水泵更加快速,能夠更有效地清潔膜表面,處理效果好,單位能耗低。
(4)本裝置的全部元件采用自動化控制并連接至主控箱,可在能源的消耗較低水平下實現短周期的頻繁、快速運行和反沖洗。



