申請日2016.05.05
公開(公告)日2016.09.14
IPC分類號C02F9/02; C02F9/04; C02F103/44
摘要
本實用新型的目的是提供一種高效洗車循環水處理設備。本實用新型的技術方案為一種高效洗車循環水處理設備,由原水箱、復合沉淀池、砂濾器、碳濾器、保安過濾器、超濾膜系統和產品水箱依次通過管路連通,原水箱與復合沉淀池的管路間設有潛污泵,復合沉淀池與砂濾器的管路間依次設有保護閥和增壓泵,超濾膜系統與產品水箱的管路間設有產水保護閥。本實用新型的有益效果在于:本高效洗車循環水處理設備電控系統采用PLC可編程序控制,全觸摸屏菜單式操作,全自動運行,免人工維護;通過在線監測技術手段,可以實現對設備的實時監控;可適應自來水、中水、雨水等多種水源,系統運行可靠,性能穩定,連續運行產水水質穩定;設備占地面積小,易維護。
權利要求書
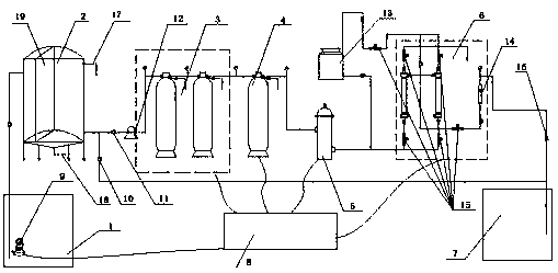
1.一種高效洗車循環水處理設備,其特征在于:由原水箱、復合沉淀池、砂濾器、碳濾器、保安過濾器、超濾膜系統、產品水箱和電控系統組成,所述原水箱、復合沉淀池、砂濾器、碳濾器、保安過濾器、超濾膜系統和產品水箱依次通過管路連通,所述原水箱與復合沉淀池的管路間設有潛污泵,所述復合沉淀池與砂濾器的管路間依次設有保護閥和增壓泵,所述超濾膜系統與產品水箱的管路間設有產水保護閥,所述電控系統分別與原水箱、復合沉淀池、砂濾器、碳濾器、保安過濾器、超濾膜系統、產品水箱、潛污泵、保護閥、增壓泵和產水保護閥通過導線連通。
2.根據權利要求1所述高效洗車循環水處理設備,其特征在于:所述復合沉淀池與產品水箱之間通過管路連通,并在管路上設有旁通閥。
3.根據權利要求1-2任意一項所述高效洗車循環水處理設備,其特征在于:所述復合沉淀池為不銹鋼材質,所述復合沉淀池的內腔設有隔板,所述隔板將復合沉淀池分隔為進水沉淀室和給水澄清室兩部分,所述給水澄清室的容積大于進水沉淀室的容積,所述復合沉淀池的上部設有溢流口,所述復合沉淀池的底部設有排泥口。
4.根據權利要求1-2任意一項所述高效洗車循環水處理設備,其特征在于:所述砂濾器的過濾介質為不同目數的石英砂,所述砂濾器設有自動沖洗多路閥并與電控系統通過導線連通。
5.根據權利要求4所述高效洗車循環水處理設備,其特征在于:所述砂濾器采用兩級或兩級以上砂濾。
6.根據權利要求1-2任意一項所述高效洗車循環水處理設備,其特征在于:所述碳濾器的過濾介質為果殼炭,所述碳濾器設有自動沖洗多路閥并與電控系統通過導線連通。
7.根據權利要求1-2任意一項所述高效洗車循環水處理設備,其特征在于:所述保安過濾器為不銹鋼材質,并且內部設置有一支以上的過濾濾芯。
8.根據權利要求7所述高效洗車循環水處理設備,其特征在于:所述過濾濾芯為5微米過濾濾芯。
9.根據權利要求1-2任意一項所述高效洗車循環水處理設備,其特征在于:所述超濾膜系統采用過濾孔徑小于0.01m的有機高分子超濾膜,所述超濾膜系統的進水管路及出水管路均設有電磁閥,任意所述電磁閥均與電控系統通過導線連通,所述超濾膜系統的出水管路上還設有產水流量計,所述產水流量計通過導線與電控系統連通。
10.根據權利要求9所述高效洗車循環水處理設備,其特征在于:所述保安過濾器與超濾膜系統的管路間設有加藥裝置,所述加藥裝置通過導線與電控系統連通。
說明書
高效洗車循環水處理設備
技術領域
本實用新型涉及循環水處理技術領域,尤其涉及一種高效洗車循環水處理設備。
背景技術
隨著人民生活水平的提高,單位和家庭擁有的汽車數量也越來越多,這加劇了洗車用水的大量消耗與水資源短缺之間的矛盾。大部分洗車廢水未經處理就直接排放,造成城市水資源的極大浪費和環境污染。傳統處理洗車廢水采用沉淀—除油—過濾的工藝,這類傳統的處理工藝占地面積較大,出水可滿足廢水排放標準但卻在總大腸桿菌、濁度等指標上不能滿足《中華人民共和國生活雜用水水質標準》的回用洗車用水要求;電解法處理洗車廢水工藝,同樣是占地面積大,而且采用電解工藝需要消耗較高的電能,且只能節約50%的自來水,操作維護也比較復雜。由此看出,目前市場上推出的一些洗車水循環處理設備普遍存在:節水效率不高、占地面積大、操作復雜、出水水質較差等問題。
實用新型內容
本實用新型的目的是提供一種高效洗車循環水處理設備。
本實用新型的技術方案為一種高效洗車循環水處理設備,由原水箱、復合沉淀池、砂濾器、碳濾器、保安過濾器、超濾膜系統、產品水箱和電控系統組成,所述原水箱、復合沉淀池、砂濾器、碳濾器、保安過濾器、超濾膜系統和產品水箱依次通過管路連通,所述原水箱與復合沉淀池的管路間設有潛污泵,所述復合沉淀池與砂濾器的管路間依次設有保護閥和增壓泵,所述超濾膜系統與產品水箱的管路間設有產水保護閥,所述電控系統分別與原水箱、復合沉淀池、砂濾器、碳濾器、保安過濾器、超濾膜系統、產品水箱、潛污泵、保護閥、增壓泵和產水保護閥通過導線連通。
進一步,所述復合沉淀池與產品水箱之間通過管路連通,并在管路上設有旁通閥。
進一步,所述復合沉淀池為不銹鋼材質,所述復合沉淀池的內腔設有隔板,所述隔板將復合沉淀池分隔為進水沉淀室和給水澄清室兩部分,所述給水澄清室的容積大于進水沉淀室的容積,所述復合沉淀池的上部設有溢流口,所述復合沉淀池的底部設有排泥口。
進一步,所述砂濾器的過濾介質為不同目數的石英砂,所述砂濾器設有自動沖洗多路閥并與電控系統通過導線連通。
再進一步,所述砂濾器采用兩級或兩級以上砂濾。
進一步,所述碳濾器的過濾介質為果殼炭,所述碳濾器設有自動沖洗多路閥并與電控系統通過導線連通。
進一步,所述保安過濾器為不銹鋼材質,并且內部設置有一支以上的過濾濾芯。
再進一步,所述過濾濾芯為5微米過濾濾芯。
進一步,所述超濾膜系統采用過濾孔徑小于0.01m的有機高分子超濾膜,所述超濾膜系統的進水管路及出水管路均設有電磁閥,任意所述電磁閥均與電控系統通過導線連通,所述超濾膜系統的出水管路上還設有產水流量計,所述產水流量計通過導線與電控系統連通。
再進一步,所述保安過濾器與超濾膜系統的管路間設有加藥裝置,所述加藥裝置通過導線與電控系統連通。
本實用新型的有益效果在于:本高效洗車循環水處理設備電控系統采用PLC可編程序控制,全觸摸屏菜單式操作,全自動運行,免人工維護;通過在線監測技術手段,可以實現對設備的實時監控;可適應自來水、中水、雨水等多種水源,回用水水質直觀可視無異味;針對洗車廢水特點,采用多級沉淀、兩級砂濾等強化預處理過程,保護后續超濾膜及反滲透膜,使膜正常使用壽命可達3-5年,耗材更換少;過濾器的自動沖洗程序設計,無須用戶調整;完善的意外保護功能,高低液位、低壓高壓自動保護;水回用率可分別達到90%以上,節水效益明顯;設計有緊急旁路,在設備意外故障時,可滿足短期用水需求;回用水質達到或優于GB/T18920-2002《城市污水再生利用——城市雜用水水質》標準;系統運行可靠,性能穩定,連續運行產水水質穩定;設備占地面積小,易維護。







