申請日2016.07.20
公開(公告)日2016.12.07
IPC分類號C02F11/12; C02F103/30
摘要
本實用新型涉及一種紡織污泥處理系統,它包括污泥輸送機構、與所述污泥輸送機構相連接且設置于其下游的固液分離機構、與所述固液分離機構相連通的緩沖箱、與所述緩沖箱上部相連通的精餾機構以及與所述緩沖箱下部相連通的水箱。通過采用相配合的污泥輸送機構、固液分離機構、緩沖箱和精餾機構等,能夠將污泥中的油水從中分離出來,最終實現污泥的干化而還田,同時油水分離后各自進行收集,而實現廢物利用。
權利要求書
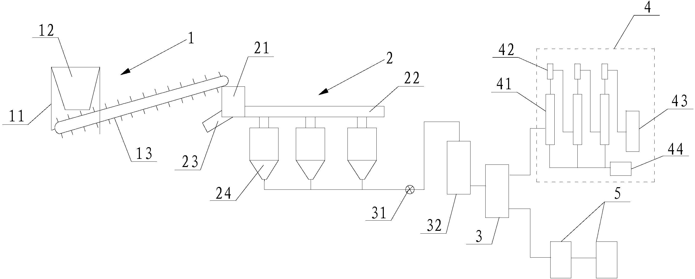
1.一種紡織污泥處理系統,其特征在于:它包括污泥輸送機構(1)、與所述污泥輸送機構(1)相連接且設置于其下游的固液分離機構(2)、與所述固液分離機構(2)相連通的緩沖箱(3)、與所述緩沖箱(3)上部相連通的精餾機構(4)以及與所述緩沖箱(3)下部相連通的水箱(5)。
2.根據權利要求1所述的紡織污泥處理系統,其特征在于:所述污泥輸送機構(1)包括設置于地面上的支撐架(11)、安裝在所述支撐架(11)上的料斗(12)以及一端設置于所述料斗(12)下方且另一端與所述固液分離機構(2)相連接的循環傳送帶(13)。
3.根據權利要求1所述的紡織污泥處理系統,其特征在于:所述固液分離機構(2)包括承接料箱(21)、與所述承接料箱(21)相連通的輸料箱(22)、與所述承接料箱(21)相連通的溢料管(23)以及與所述輸料箱(22)相連通且并聯設置的多個分離罐(24),所述緩沖箱(3)與所述分離罐(24)的底部相連通。
4.根據權利要求3所述的紡織污泥處理系統,其特征在于:所述緩沖箱(3)與所述分離罐(24)之間安裝有泵(31),所述泵(31)與所述緩沖箱(3)之間連接有高于所述緩沖箱(3)的集液箱(32)。
5.根據權利要求1所述的紡織污泥處理系統,其特征在于:所述精餾機構(4)包括交替連接的多組蒸餾塔(41)和冷凝罐(42)、與所述蒸餾塔(41)相連通的高沸點餾分收集罐(44)以及與所述冷凝罐(42)相連通的低沸點餾分收集罐(43)。
說明書
一種紡織污泥處理系統
技術領域
本實用新型涉及一種污泥處理系統,具體涉及一種紡織污泥處理系統。
背景技術
噴水織機是紡織業中常用的一種專用設備,在作業過程中需要有一定的清潔水進行噴射帶動,每臺織機日用水量一般在1.5-2噸之間,所產生的廢水中主要含有油脂、膠狀物、懸浮物、化學漿液、色度、微生物及有機物等,其廢水的濃度約為COD500mg/l,pH約為6.5,SS為420mg/L左右,而且可生化性較差,屬難處理的工業廢水之一,這些廢水在經過處理后會產生一定量的污泥。
隨著污水處理規模的擴大及標準的提高,污泥產生量不斷增加,加之過往積累下來的污泥,中國污泥處理處置成為污水處理領域一個重大問題。從污水處理廠產生的污泥含液率(含水和油的比率)很高,一般>80%,而且含有諸如化學漿液、油脂等有機物。因此需要對這些污泥進行無害化處理,最終達到還田的效果,這就需要研發新的紡織污泥處理系統。
發明內容
本實用新型目的是為了克服現有技術的不足而提供一種紡織污泥處理系統。
為達到上述目的,本實用新型采用的技術方案是:一種紡織污泥處理系統,它包括污泥輸送機構、與所述污泥輸送機構相連接且設置于其下游的固液分離機構、與所述固液分離機構相連通的緩沖箱、與所述緩沖箱上部相連通的精餾機構以及與所述緩沖箱下部相連通的水箱。
優化地,所述污泥輸送機構包括設置于地面上的支撐架、安裝在所述支撐架上的料斗以及一端設置于所述料斗下方且另一端與所述固液分離機構相連接的循環傳送帶。
優化地,所述固液分離機構包括承接料箱、與所述承接料箱相連通的輸料箱、與所述承接料箱相連通的溢料管以及與所述輸料箱相連通且并聯設置的多個分離罐,所述緩沖箱與所述分離罐的底部相連通。
進一步地,所述緩沖箱與所述分離罐之間安裝有泵,所述泵與所述緩沖箱之間連接有高于所述緩沖箱的集液箱。
優化地,所述精餾機構包括交替連接的多組蒸餾塔和冷凝罐、與所述蒸餾塔相連通的高沸點餾分收集罐以及與所述冷凝罐相連通的低沸點餾分收集罐。
由于上述技術方案運用,本實用新型與現有技術相比具有下列優點:本實用新型紡織污泥處理系統,通過采用相配合的污泥輸送機構、固液分離機構、緩沖箱和精餾機構等,能夠將污泥中的油水從中分離出來,最終實現污泥的干化而還田,同時油水分離后各自進行收集,而實現廢物利用。



