申請日2016.05.17
公開(公告)日2016.11.30
IPC分類號C02F9/06
摘要
本實用新型適用于污水處理技術領域,尤其是垃圾滲濾液濃水的處理領域。提供了一種應用多相催化氧化耦合技術處理污水的系統,包括酸化罐、微電解單元、催化氧化單元及沉淀器。酸化罐內添加有液態酸;微電解單元內設置有填料區,填料區內填充有在酸性條件下產生亞鐵離子且能對污水進行物理吸附的材料;催化氧化單元內設置有紫外光發生器,并添加有氧化劑雙氧水與催化劑五水硫酸銅。催化氧化單元中的污水在雙氧水與亞鐵離子共同作用下發生Fenton氧化,紫外光、雙氧水和催化劑五水硫酸銅的耦合作用加速了Fenton、紫外催化氧化速度,可高效降解有機物。解決了高濃度難降解有機物處理,尤其是垃圾滲濾液濃水難以達標或處理效率較低的問題。
權利要求書
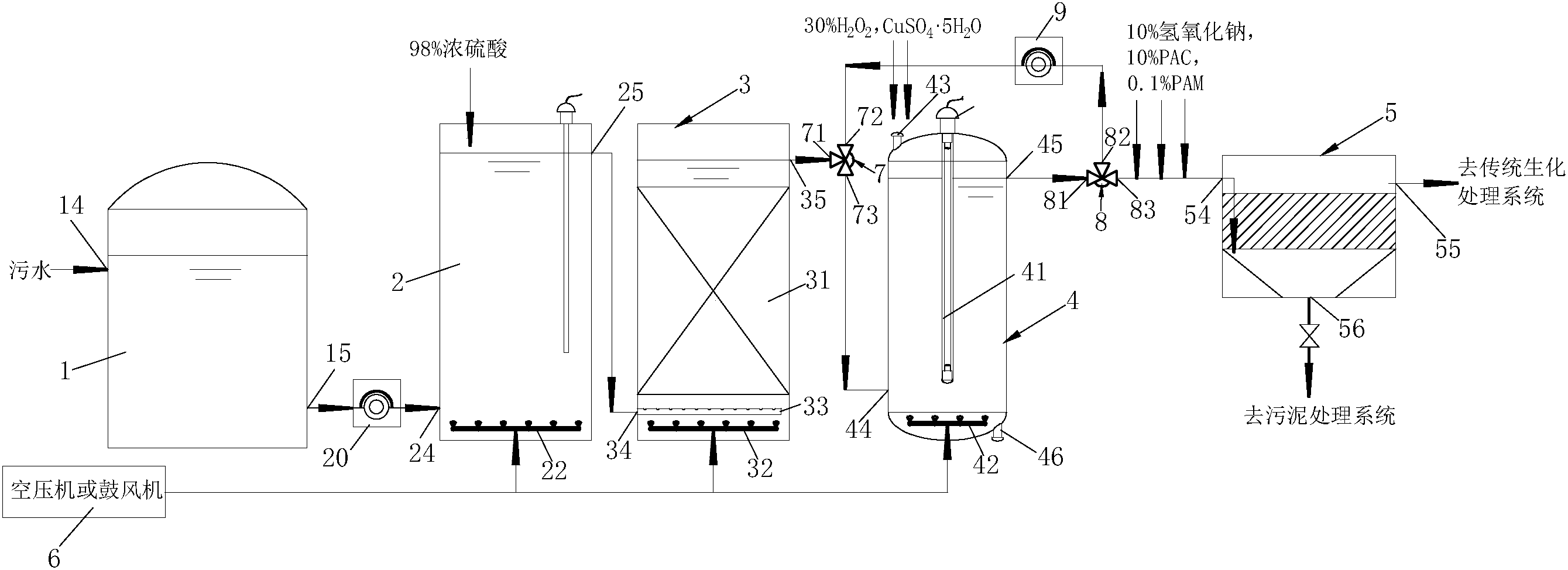
1.一種應用多相催化氧化耦合技術處理污水的系統,其特征在于,所述系統包括相互連通的用于調節污水PH的酸化罐、用于降解污水COD、消除污水色度的微電解單元、用于分解有機物的催化氧化單元以及用于液固分離的沉淀器;所述酸化罐內添加有液態酸;所述微電解單元內設置有填料區,所述填料區內填充有在酸性條件下產生亞鐵離子且能對污水進行物理吸附的材料;所述催化氧化單元內設置有紫外光發生器,并添加有氧化劑雙氧水與催化劑。
2.如權利要求1所述的應用多相催化氧化耦合技術處理污水的系統,其特征在于,所述酸化罐、微電解單元以及催化氧化單元內部均設置有曝氣裝置,所述曝氣裝置通過外面的空壓機或鼓風機接入空氣。
3.如權利要求1所述的應用多相催化氧化耦合技術處理污水的系統,其特征在于,所述填料區內填充的材料為鐵碳合金球。
4.如權利要求1至3中任意一項所述的應用多相催化氧化耦合技術處理污水的系統,其特征在于,所述微電解單元設置有用于將污水均勻地輸入所述填料區的水流分布器。
5.如權利要求1至3中任意一項所述的應用多相催化氧化耦合技術處理污水的系統,其特征在于,所述催化劑為CuSO4〃5H2O。
6.如權利要求1至3中任意一項所述的應用多相催化氧化耦合技術處理污水的系統,其特征在于,所述催化氧化單元為全封閉反應釜式結構,其頂部設有帶蓋的加藥口,其底部開設有用于定期清洗排污的帶蓋排水口,所述紫外光發生器為一嵌入所述微電解單元內部的防水紫外燈。
7.如權利要求1至3中任意一項所述的應用多相催化氧化耦合技術處理污水的系統,其特征在于,所述系統還包括具有第一三通球閥以及第二三通球閥;所述第一三通球閥設置有第一入口、第二入口以及出口;所述第二三通球閥設置有入口、第一出口以及第二出口;所述第一三通球閥的第一入口與所述微電解單元連通,其第二入口通過一循環泵與第二三通球閥的第一出口相連通,其出口與催化氧化單元連通;所述催化氧化單元與所述第二三通球閥的入口連通,所述第二三通球閥的第二出口與所述沉淀器連通。
說明書
一種應用多相催化氧化耦合技術處理污水的系統
技術領域
本實用新型屬于污水處理技術領域,尤其涉及一種應用多相催化氧化耦合技術處理污水的系統。
背景技術
城市生活垃圾衛生填埋過程會產生大量高COD(化學需氧量,ChemicalOxygen Demand)、高濃度難降解的垃圾滲濾液,垃圾滲濾液處理成為垃圾填埋場穩定運行和管理的難題。我國于2008年頒布了《生活垃圾填埋場污染物控制標準》(GB16889-2008),對垃圾滲濾液(污水)的處理排放提出了更嚴格的要求,為了滿足新標準的排放要求,“生化處理+膜生物技術”越來越廣泛的被應用在垃圾滲濾液的處理中。為了保證達標排放并控制膜的運行壓力,膜系統回收率控制在70%~80%,即會產生20%~30%的膜濾濃縮液。而膜濾濃縮液普遍存在可生物降解性差(BOD5/COD通常小于0.1),有機物濃度和鹽含量高等問題。傳統的處理方法為回灌填埋場,但這樣會造成重金屬和難降解有機物以及鹽分循環累積于系統中。
同樣,老齡化滲濾液由于長時間經過填埋場一系列生化反應,其中的有機物多為長鏈的碳水化合物和腐殖質,且隨著時間的推移,BOD5(生化需氧量,Biochemical Oxygen Demand,),急速下降,BOD5/COD比值低,難降解成分高、毒性大。不僅如此,其氨氮含量也很高,會影響微生物的活性,不利于生物處理。并且,老齡化滲濾液的營養元素比例失調,BOD5/P大于300,與微生物生長所需的磷元素相差較大,導致在生物處理中磷元素缺乏。因此,老齡化滲濾液的處理也一直都是個棘手的難題。
針對以上提到的膜后濃縮滲濾液和老齡化滲濾液所存在的可生化性差的問題,目前較有效的處理方法多采用高級氧化技術。高級氧化技術以產生具有強氧化能力的羥基自由基(·OH)為特點,在高溫高壓、電、聲、光輻照、催化劑等反應條件下,使大分子難降解有機物氧化成低毒或無毒的小分子物質。根據產生自由基的方式和反應條件的不同,可將其分為光化學氧化、催化濕式氧化、電化學氧化、芬頓(Fenton)氧化等。其中,光化學氧化法受反應條件限制,光照無法透過渾濁溶液,有機物降解不徹底;濕式催化氧化法需要在高溫高壓下進行,對設備配置要求較高;Fenton反應能有效氧化去除傳統廢水處理技術無法去除的難降解有機物,其實質是H2O2在Fe2+的催化作用下生成具有高反應活性的羥基自由基(〃OH),〃OH可與大多數有機物作用使其降解。但Fenton氧化法需要在酸性條件進行,反應條件苛刻;而電化學氧化法利用陽極直接催化降解污染物,或電解產生強氧化劑間接降解污染物。該技術在常溫常壓下進行,是目前比較推崇的一種處理技術。
大量的應用研究表明,單一的氧化技術手段的氧化速率和效率都不能滿足降解高濃度有機污染物的要求,存在相應的局限性。
專利CN201410732275中就采用了微電解技術與電解氧化技術的結合,能有效的降解有機物,但是電解耗電大、成本高。
專利CN201510686297中則采用了芬頓氧化技術與微電解技術以及絮凝沉降技術的結合,但是三個技術均分開獨立反應,藥劑消耗量大、成本高,沒有相互協同效果。
本專利的實用新型則是在微電解技術的基礎上,聯合了Fenton氧化技術,形成可在常溫常壓下進行的紫外催化濕式氧化技術。微電解單元、催化氧化單元可通過相互協同作用和發揮各自的優勢,提高降解速率和效率,從而提高處理效果,減少藥劑消耗量,降低成本,實質性的解決膜后濃縮滲濾液和老齡化滲濾液難處理的問題。具有安全、環保、高效、低耗的特點。
實用新型內容
本實用新型所要解決的技術問題在于提供一種應用多相催化氧化耦合技術處理污水的系統,旨在解決現有技術中處理膜后濃縮液以及老齡化滲濾液所存在的有機物濃度和鹽含量高、難降解成分高、BOD5/COD比值低可生化性差的問題。
本實用新型是這樣實現的,一種應用多相催化氧化耦合技術處理污水的系統,其特征在于,所述系統包括相互連通的用于調節污水PH的酸化罐、用于降解污水COD、消除污水色度的微電解單元、用于分解有機物的催化氧化單元以及用于液固分離的沉淀器;所述酸化罐內添加有液態酸;所述微電解單元內設置有填料區,所述填料區內填充有在酸性條件下產生亞鐵離子且能對污水進行物理吸附的材料;所述催化氧化單元內設置有紫外光發生器,并添加有氧化劑雙氧水與催化劑。
進一步地,所述酸化罐、微電解單元以及催化氧化單元內部均設置有曝氣裝置,所述曝氣裝置通過外面的空壓機或鼓風機接入空氣。
進一步地,所述填料區內填充的材料為鐵碳合金球。
進一步地,所述微電解單元設置有用于將污水均勻地輸入所述填料區的水流分布器。
進一步地,所述催化劑為CuSO4·5H2O。
進一步地,所述催化氧化單元為全封閉反應釜式結構,其頂部設有帶蓋的加藥口,其底部開設有用于定期清洗排污的帶蓋排水口,所述紫外光發生器為一嵌入所述微電解單元內部的紫外燈。
進一步地,所述系統還包括具有第一三通球閥以及第二三通球閥;所述第一三通球閥設置有第一入口、第二入口以及出口;所述第二三通球閥設置有入口、第一出口以及第二出口;所述第一三通球閥的第一入口與所述微電解單元連通,其第二入口通過一循環泵與第二三通球閥的第一出口相連通,其出口與催化氧化單元連通;所述催化氧化單元與所述第二三通球閥的入口連通,所述第二三通球閥的第二出口與所述沉淀器連通。
本實用新型與現有技術相比,有益效果在于:本實用新型中的微電解單元,其填料可產生0.9-1.7V電位差,可以使污水中的電解質形成無數原電池,能產生離子將污水中的不飽和基團雙鍵打開、環狀長鏈有機物分解為小分子有機物,并且溶解在污水中的吸附材料也能對污水進行物理吸附,降解滲濾液的COD,降低色度。
經過微電解單元處理后的污水,通入催化氧化單元,其中添加的氧化劑雙氧水與微電解單元產生的亞鐵離子共同作用下形成Fenton氧化,產生的羥基自由基與水中的溶解性有機物反應形成有機自由基,當在氧氣存在時,有機自由基與氧氣反應生成有機過氧自由基,有機過氧自由基相互反應產生有機過氧化物,該有機過氧化物可通過多種途徑進一步降解。而氧化劑作用下生成的三價鐵離子也能跟〃OH自由基形成絮凝劑,進一步地降低污水色度。而添加的催化劑CuSO4·5H2O既可促進Fenton反應的速率,也可作為紫外光的催化劑使氧化劑產生強氧化的〃OH自由基。紫外光、雙氧水和催化劑五水硫酸銅的耦合作用加速了Fenton、紫外催化氧化速度,可高效降解有機物。有效地解決膜后濃縮液以及老齡化滲濾液等污水中有機物濃度高、難降解成分高、可生化性差的問題



