申請日2016.05.17
公開(公告)日2016.11.30
IPC分類號F22D1/00; F27D17/00
摘要
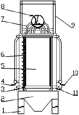
本實用新型公開了一種新型工業廢水余熱回收加熱鍋爐,包括水箱、水位監測器、集熱管、溢水口,鍋爐底腳上安裝有底座,所述底座上方設置有所述水箱,所述水箱下方一側安裝有排污入口,所述水箱一側安裝有循環水入口,所述水箱上安裝有所述水位監測器,所述水箱另一側安裝有循環水出口和排污出口,所述水箱上設置有所述集熱管,所述水箱上設置有所述溢水口,所述水箱上方安裝有吊裝架。有益效果在于:本設計可以利用電爐余熱對鍋爐內的水進行加熱,并且采用多集熱管加熱,使熱量得到更加充分的利用。
權利要求書
1.一種新型工業廢水余熱回收加熱鍋爐,其特征在于:包括水箱、水位監測器、集熱管、溢水口,鍋爐底腳上安裝有底座,所述底座上方設置有所述水箱,所述水箱下方一側安裝有排污入口,所述水箱一側安裝有循環水入口,所述水箱上安裝有所述水位監測器,所述水箱另一側安裝有循環水出口和排污出口,所述水箱上設置有所述集熱管,所述水箱上設置有所述溢水口,所述水箱上方安裝有吊裝架。
2.根據權利要求1所述的一種新型工業廢水余熱回收加熱鍋爐,其特征在于:所述鍋爐底腳與所述底座相連接,所述底座與所述水箱相連接。
3.根據權利要求1所述的一種新型工業廢水余熱回收加熱鍋爐,其特征在于:所述水箱與所述排污入口相連接,所述水箱與所述循環水入口相連接根據權利要求1所述的一種新型工業廢水余熱回收加熱鍋爐,其特征在于:所述水箱與所述水位監測器相連接,所述水箱與所述循環水出口相連接。
4.根據權利要求1所述的一種新型工業廢水余熱回收加熱鍋爐,其特征在于:所述水箱與所述排污出口相連接,所述水箱與所述集熱管相連接。
5.根據權利要求1所述的一種新型工業廢水余熱回收加熱鍋爐,其特征在于:所述水箱與所述溢水口相連接,所述水箱與所述吊裝架相連接。
說明書
一種新型工業廢水余熱回收加熱鍋爐
技術領域
本實用新型屬余熱利用設備領域,具體涉及一種新型工業廢水余熱回收加熱鍋爐。
背景技術
鍋爐是一種用于加熱水的裝置,其廣泛應用于各個工業領域,而煉鋼產業中,電爐在融化鋼鐵的過程中需要產生大量的熱量,并且用于給電爐降溫的水都為酸性水,無法直接進行重復利用,所以只能通過冷卻塔進行冷卻,再進入循環,造成了很大的熱量浪費。
實用新型內容
本實用新型的目的就在于為了解決上述問題而提供一種新型工業廢水余熱回收加熱鍋爐。
本實用新型通過以下技術方案來實現上述目的:
一種新型工業廢水余熱回收加熱鍋爐,包括水箱、水位監測器、集熱管、溢水口,鍋爐底腳上安裝有底座,所述底座上方設置有所述水箱,所述水箱下方一側安裝有排污入口,所述水箱一側安裝有循環水入口,所述水箱上安裝有所述水位監測器,所述水箱另一側安裝有循環水出口和排污出口,所述水箱上設置有所述集熱管,所述水箱上設置有所述溢水口,所述水箱上方安裝有吊裝架。
上述結構中,所述集熱管共設置有6根,可以增加循環水在水箱內部的運動行程,充分利用循環水的熱量。
為了進一步提高其工作性能,所述鍋爐底腳與所述底座相連接,所述底座與所述水箱相連接。
為了進一步提高其工作性能,所述水箱與所述排污入口相連接,所述水箱與所述循環水入口相連接。
為了進一步提高其工作性能,所述水箱與所述水位監測器相連接,所述水箱與所述循環水出口相連接。
為了進一步提高其工作性能,所述水箱與所述排污出口相連接,所述水箱與所述集熱管相連接。
為了進一步提高其工作性能,所述水箱與所述溢水口相連接,所述水箱與所述吊裝架相連接。
有益效果在于:本設計可以利用電爐余熱對鍋爐內的水進行加熱,并且采用多集熱管加熱,使熱量得到更加充分的利用。



