申請日2016.05.17
公開(公告)日2016.12.07
IPC分類號C02F9/14; B01D46/12
摘要
本實用新型公開了一種微電荷微動力污水處理設備,包括曝氣室和靜置室,所述曝氣室的頂部連通有進水管,所述進水管上設有第一電子閥門,所述曝氣室的內壁一側設有送氣管,且送氣管的一端貫穿曝氣室并延伸至曝氣室的外部,所述曝氣室的一側設有氣泵,所述氣泵的輸出端與送氣管連通,所述氣泵的輸入端連通有進氣管。該微電荷微動力污水處理設備,通過對空氣過濾裝置的設置,減少了空氣中的雜質進入曝氣室內,干擾曝氣室內的反應,提高了曝氣效果,通過對消毒裝置的設置,能夠對靜置室內處理后的污水進行殺菌,從而減少了排放后的污水中的毒素,有效的保護了環境,同時也提高了人們的工作效率。
權利要求書
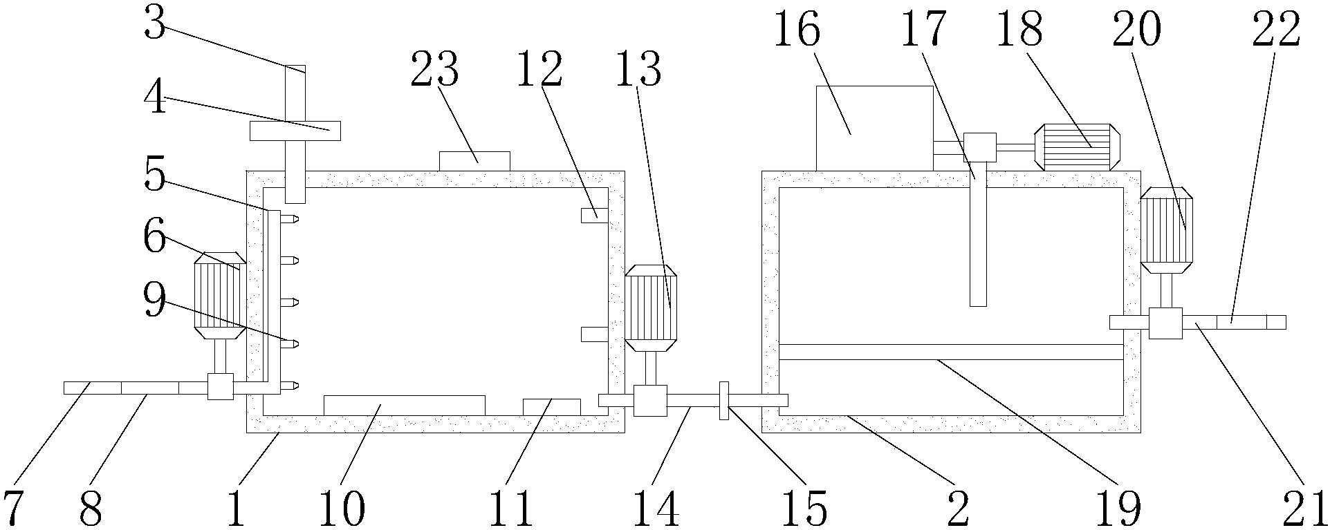
1.一種微電荷微動力污水處理設備,包括曝氣室(1)和靜置室(2),其特征在于:所述曝氣室(1)的頂部連通有進水管(3),所述進水管(3)上設有第一電子閥門(4),所述曝氣室(1)的內壁一側設有送氣管(5),且送氣管(5)的一端貫穿曝氣室(1)并延伸至曝氣室(1)的外部,所述曝氣室(1)的一側設有氣泵(6),所述氣泵(6)的輸出端與送氣管(5)連通,所述氣泵(6)的輸入端連通有進氣管(7),且進氣管(7)內設有空氣過濾裝置(8),所述送氣管(7)的一側設有噴頭(9),所述曝氣室(1)的內壁底部從左到右依次設有加熱裝置(10)和溫度計(11),所述曝氣室(1)的另一側內壁上設有通電板(12),所述曝氣室(1)的另一側設有第一水泵(13),所述第一水泵(13)的輸入端設有管道,且管道與曝氣室(1)連通,所述第一水泵(13)的輸出端連通有連接管(14),且連接管(14)與靜置室(2)連通,所述連接管(14)上設有第二電子閥門(15),所述靜置室(2)的頂部從左到右依次設有消毒箱(16)、消毒管(17)和第二水泵(18),所述消毒管(17)的一端貫穿靜置室(2)并延伸至靜置室(2)的內部,所述消毒管(17)與第二水泵(18)的輸出端連通,所述第二水泵(18)的輸入端通過水管與消毒箱(16)連通,所述靜置室(2)內設有半透膜隔板(19),所述靜置室(2)的一側設有第三水泵(20),所述第三水泵(20)的輸入端通過出水管道連通靜置室(2),所第三水泵(20)的輸出端連通有出水管(21),所述出水管(21)內設有過濾裝置(22),所述曝氣室(1)的頂部設有控制器(23),所述控制器(23)與氣泵(6)、通電板(12)、加熱裝置(10)、第一水泵(13)、第二水泵(18)、第三水泵(20)、第一電子閥門(4)和第二電子閥門(15)電性連接。
2.根據權利要求1所述的一種微電荷微動力污水處理設備,其特征在于:所述空氣過濾裝置(8)包括過濾網層(81)、過濾棉層(82)和過濾板層(83),且過濾網層(81)、過濾棉層(82)和過濾板層(83)均勻分布在空氣過濾裝置(8)的內部。
3.根據權利要求1所述的一種微電荷微動力污水處理設備,其特征在于:所述過濾裝置(22)包括生化棉層(221)、海綿層(222)和活性炭層(223),且生化棉層(221)、海綿層(222)和活性炭層(223)均勻分布在過濾裝置(22)的內部。
4.根據權利要求1所述的一種微電荷微動力污水處理設備,其特征在于:所述加熱裝置(10)內部包括導熱盤(101)和電熱板(102),且加熱板(102)位于導熱盤(101)的內部。
5.根據權利要求1所述的一種微電荷微動力污水處理設備,其特征在于:所述噴頭(9)的數量至少為五個,且噴頭(9)等距離的分布在送氣管(5)的一側。
說明書
一種微電荷微動力污水處理設備
技術領域
本實用新型涉及污水處理技術領域,具體為一種微電荷微動力污水處理設備。
背景技術
在有機廢水處理,普遍采用活性污泥法進行處理,活性污泥的微生物的作用下將污水中的淀粉、纖維、碳水化合物等有機物、懸浮污染物和可溶性有機物水解為有機酸,對于大分子有機物則分解為小分子有機物,不溶性的有機物轉化成可溶性有機物,當這些有機物經水解后進一步在反應器里進行氧化分解,實現污水無害化處理,然而傳統的污水處理在進行曝氣室時需要消耗的時間過長,嚴重影響工作人員對污水處理的速率。
實用新型內容
本實用新型的目的在于提供一種微電荷微動力污水處理設備,以解決上述背景技術中提出的問題。
為實現上述目的,本實用新型提供如下技術方案:一種微電荷微動力污水處理設備,包括曝氣室和靜置室,所述曝氣室的頂部連通有進水管,所述進水管上設有第一電子閥門,所述曝氣室的內壁一側設有送氣管,且送氣管的一端貫穿曝氣室并延伸至曝氣室的外部,所述曝氣室的一側設有氣泵,所述氣泵的輸出端與送氣管連通,所述氣泵的輸入端連通有進氣管,且進氣管內設有空氣過濾裝置,所述送氣管的一側設有噴頭,所述曝氣室的內壁底部從左到右依次設有加熱裝置和溫度計,所述曝氣室的另一側內壁上設有通電板,所述曝氣室的另一側設有第一水泵,所述第一水泵的輸入端設有管道,且管道與曝氣室連通,所述第一水泵的輸出端連通有連接管,且連接管與靜置室連通,所述連接管上設有第二電子閥門,所述靜置室的頂部從左到右依次設有消毒箱、消毒管和第二水泵,所述消毒管的一端貫穿靜置室并延伸至靜置室的內部,所述消毒管與第二水泵的輸出端連通,所述第二水泵的輸入端通過水管與消毒箱連通,所述靜置室內設有半透膜隔板,所述靜置室的一側設有第三水泵,所述第三水泵的輸入端通過出水管道連通靜置室,所第三水泵的輸出端連通有出水管,所述出水管內設有過濾裝置,所述曝氣室的頂部設有控制器,所述控制器與氣泵、通電板、加熱裝置、第一水泵、第二水泵、第三水泵、第一電子閥門和第二電子閥門電性連接。
優選的,所述空氣過濾裝置包括過濾網層、過濾棉層和過濾板層,且過濾網層、過濾棉層和過濾板層均勻分布在空氣過濾裝置的內部。
優選的,所述過濾裝置包括生化棉層、海綿層和活性炭層,且生化棉層、海綿層和活性炭層均勻分布在過濾裝置的內部。
優選的,所述加熱裝置內部包括導熱盤和電熱板,且加熱板位于導熱盤的內部。
優選的,所述噴頭的數量至少為五個,且噴頭等距離的分布在送氣管的一側。
與現有技術相比,本實用新型的有益效果是:該微電荷微動力污水處理設備,通過對通電板和加熱裝置的設置,加快曝氣室內的微生物活動和化學反應,從而減少了對污水的曝氣時間,通過對噴頭的設置,使曝氣室內的氧氣均勻的分布,增強微生物的生活環境,提高了微生物對污水的分解速度,從而降低了曝氣時間,通過對空氣過濾裝置的設置,減少了空氣中的雜質進入曝氣室內,干擾曝氣室內的反應,提高了曝氣效果,通過對消毒裝置的設置,能夠對靜置室內處理后的污水進行殺菌,從而減少了排放后的污水中的毒素,有效的保護了環境,同時也提高了人們的工作效率。



