申請日2017.10.01
公開(公告)日2018.01.09
IPC分類號C02F1/52; B01D21/01; B01D21/02; B01D21/28
摘要
本發明公開了一種高濃度含鹽廢水處理工藝中的攪拌澄清池及其工藝,其可在高濃度含鹽廢水進行混合處理過程中,通過對于高濃度含鹽廢水形成多個維度的環流處理,以使得高濃度含鹽廢水的混合均度得以顯著改善,進而使其與藥劑的混合效果以及污泥的均布效果均得以提升,以使得高濃度含鹽廢水處理工藝的效率得以顯著改善。
權利要求書
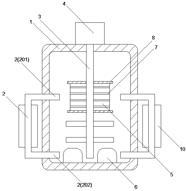
1.一種高濃度含鹽廢水處理工藝中的攪拌澄清池,其包括有澄清池;其特征在于,所述澄清池包括有澄清池本體,澄清池本體內部設置有攪拌軸,其通過設置在澄清池本體外部的驅動電機進行驅動,澄清池本體內部設置有多個在豎直方向上延伸的導流管道,多個導流管道沿澄清池本體的周向均勻分布,每一個導流管道均包括有第一端部與第二端部,其分別位于導流管道的上端與下端,且其均朝向澄清池本體的軸線進行延伸;所述攪拌軸之上包括有設置有與導流管道的第一端部相齊平的推進葉片,推進葉片采用沿攪拌軸旋轉方向彎曲的曲面結構,且其高度至少為第一端部直徑的2倍;所述澄清池本體之中,每一個導流管道的第二端部對應位置均設置有液壓泵。
2.按照權利要求1所述的高濃度含鹽廢水處理工藝中的攪拌澄清池,其特征在于,所述推進葉片的側端面之上設置有多個在水平方向上進行延伸的導流槽體,推進葉片的上端部與下端部分別設置有導流擋板。
3.按照權利要求1或2所述的高濃度含鹽廢水處理工藝中的攪拌澄清池,其特征在于,每一個導流管道的第一端部均設置設置引流端板,引流端板設置于導流管道第一端部的側端部之上,且其采用背離攪拌軸的旋轉方向進行彎曲的曲面結構。
4.按照權利要求3所述的高濃度含鹽廢水處理工藝中的攪拌澄清池,其特征在于,所述導流管道經由澄清池本體的內部延伸至其外部,導流管道位于澄清池本體外部區域設置有沿其外壁進行延伸的冷凝套管,冷凝套管的內壁與導流管道的外壁之間填充有冷凝液。
5.一種按照權利要求1所述的高濃度含鹽廢水處理工藝中的攪拌澄清池進行高濃度含鹽廢水混合處理的工藝方法,其特征在于,所述高濃度含鹽廢水混合處理的工藝方法包括有如下工藝步驟:
1)將高濃度含鹽廢水導入至澄清池內,同時導入處理藥劑;
2)對于步驟1)中澄清池內的高濃度含鹽廢水、藥劑以及其所包含的污泥同時通過攪拌軸以及導流管道進行繞軸攪拌與外部循環攪拌。
說明書
高濃度含鹽廢水處理工藝中的攪拌澄清池及其工藝
技術領域
本發明涉及污水處理領域,尤其是一種高濃度含鹽廢水處理工藝中的攪拌澄清池及其工藝。
背景技術
高濃度含鹽廢水在處理過程中往往需要對其進行預混合處理,以使得高濃度含鹽廢水與相關藥劑以及其內部污泥之間處于均布狀態,進而使得其后續易于進行相關處理反應;然而,現有的高濃度含鹽廢水進行混合處理過程中往往單純采用攪拌軸進行旋轉,由于高濃度含鹽廢水內含有大量污泥,故其在實際處理過程中的攪拌均度難以達到需求,進而使其整體工藝的效率及效果易于受到影響。
發明內容
本發明要解決的技術問題是提供一種高濃度含鹽廢水處理工藝中的攪拌澄清池及其工藝,其可在高濃度含鹽廢水的處理過程中使其工藝效率與效果得以顯著改善。
為解決上述技術問題,本發明涉及一種高濃度含鹽廢水處理工藝中的攪拌澄清池,其包括有澄清池;所述澄清池包括有澄清池本體,澄清池本體內部設置有攪拌軸,其通過設置在澄清池本體外部的驅動電機進行驅動,澄清池本體內部設置有多個在豎直方向上延伸的導流管道,多個導流管道沿澄清池本體的周向均勻分布,每一個導流管道均包括有第一端部與第二端部,其分別位于導流管道的上端與下端,且其均朝向澄清池本體的軸線進行延伸;所述攪拌軸之上包括有設置有與導流管道的第一端部相齊平的推進葉片,推進葉片采用沿攪拌軸旋轉方向彎曲的曲面結構,且其高度至少為第一端部直徑的2倍;所述澄清池本體之中,每一個導流管道的第二端部對應位置均設置有液壓泵。
作為本發明的一種改進,所述推進葉片的側端面之上設置有多個在水平方向上進行延伸的導流槽體,推進葉片的上端部與下端部分別設置有導流擋板。采用上述技術方案,其可通過導流槽體的設置以使得推進葉片在運動過程中形成的液流沿導流槽體進行徑向運動,以使得導流管道的第一端部的進液效率得以改善;同時,推進葉片兩端的導流擋板則可避免相鄰的推進葉片之間的液流向上側或下側擴散,致使其液流運動方向更為精準。
作為本發明的一種改進,每一個導流管道的第一端部均設置設置引流端板,引流端板設置于導流管道第一端部的側端部之上,且其采用背離攪拌軸的旋轉方向進行彎曲的曲面結構。采用上述技術方案,其可通過引流端板的設置以使得澄清池本體內部液流在進行水平旋轉過程中可在引流端板的作用下進入至導流管道第一端部內部,致使導流管道的進液效率得以進一步的改善。
作為本發明的一種改進,所述導流管道經由澄清池本體的內部延伸至其外部,導流管道位于澄清池本體外部區域設置有沿其外壁進行延伸的冷凝套管,冷凝套管的內壁與導流管道的外壁之間填充有冷凝液。采用上述技術方案,其可在澄清池本體外部對于導流管道內的高濃度含鹽廢水進行冷卻處理,以在改善澄清池本體內冷卻效率的同時,避免高濃度含鹽廢水同時進行大范圍冷卻而造成的冷卻過度或不均等現象。
采用上述高濃度含鹽廢水處理工藝中的攪拌澄清池進行高濃度含鹽廢水混合處理的工藝方法,其包括有如下工藝步驟:
1)將高濃度含鹽廢水導入至澄清池內,同時導入處理藥劑;
2)對于步驟1)中澄清池內的高濃度含鹽廢水、藥劑以及其所包含的污泥同時通過攪拌軸以及導流管道進行繞軸攪拌與外部循環攪拌。
采用上述技術方案的高濃度含鹽廢水處理工藝中的攪拌澄清池,其可在高濃度含鹽廢水進行處理過程中,通過導流管道的設置以使得高濃度含鹽廢水沿其進行環流處理;實際工作過程中,攪拌軸之上的推進葉片在導流管道第一端部對應位置形成徑向的推進液流,以使得高濃度含鹽廢水在上述推進液流作用下進入至導流管道的第一端部之中;澄清池本體底端部的液壓泵則可在導流管道的第二端部對應位置形成吸附液流,進而使得導流管道內的高濃度含鹽廢水從導流管道的第二端部排出;上述導流管道第一端部與第二端部對應的液流運動方向使得澄清池本體內的高濃度含鹽廢水在導流管道對應位置形成環流。
上述高濃度含鹽廢水處理工藝中的攪拌澄清池,其可在高濃度含鹽廢水進行混合處理過程中,通過對于高濃度含鹽廢水形成多個維度的環流處理,以使得高濃度含鹽廢水的混合均度得以顯著改善,進而使其與藥劑的混合效果以及污泥的均布效果均得以提升,以使得高濃度含鹽廢水處理工藝的效率得以顯著改善。



