申請日2017.10.01
公開(公告)日2018.01.09
IPC分類號C02F9/06
摘要
環境工程用綜合性污水凈化處理設備,包括有相互連接成一體的重金屬處理器、多介質過濾器和處理凈化器,所述重金屬處理器的濾后出口連接于多介質過濾器的進水管;所述多介質過濾器的排放口連接于所述處理凈化器的進水管道。重金屬處理器具有良好的雜質吸附效率;并能夠分別通過吸附、離心和電解對水中的重金屬進行處理;有效的提高了重金屬污水處理的效率和質量。多介質過濾器具有能實現循環過濾處理,過濾效果好,避免水資源浪費現象和滲漏器不易阻塞等優點。處理凈化器具有能進行水質檢測的效果,能夠對污水進行回流處理,對于污水的處理效果好。
權利要求書
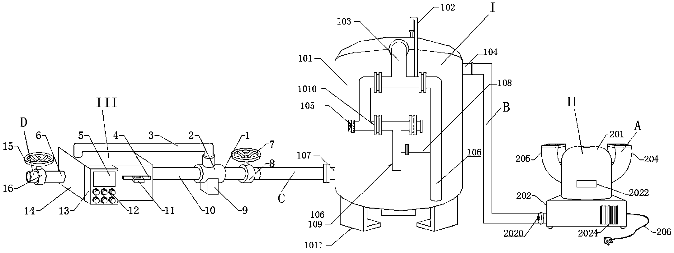
1.環境工程用綜合性污水凈化處理設備,包括有相互連接成一體的重金屬處理器(II)、多介質過濾器(I)和處理凈化器(III),其特征在于:所述重金屬處理器(II)的濾后出口(2020)連接于多介質過濾器(I)的進水管(104);所述多介質過濾器(I)的排放口(107)連接于所述處理凈化器(III)的進水管道(1);
所述重金屬處理器(II)包括過濾桶(201)、處理箱(202)、電機(203)、污水進口(204)和電解質添加口(205);污水進口(204)和電解質添加口(205)呈對稱分布于過濾桶(201)的兩側,過濾桶(201)的內部形成吸附倉(2011);處理箱(202)的內部分別形成離心倉(2012)、電解倉(2013)和防回流倉(2014),且污水進口(204)的底端貫穿設置在吸附倉(2011)內;電解質添加口(205)的底端分別貫穿過濾桶(201)和處理箱(202),并設置在電解倉(2013)內,且電解質添加口(205)的底端設有增壓機(2023);過濾桶(201)的側面設有顯示屏(2022),處理箱(202)的側面設有電源線(206),處理箱(202)的一側設有拆卸口(2024),且拆卸口(2024)嵌入設置在處理箱(202)中,處理箱(202)的側面設有濾后出口(2020),且濾后出口(2020)的一端貫穿處理箱(202),并設置在防回流倉(2014)內;電機(203)的一端安裝有離心泵(2018),離心泵(2018)設置在過濾桶(201)中,且電機(203)與離心泵(2018)通過設置在電機(203)側面的轉軸活動連接,離心泵(2018)的頂部設有離心泵進口(2017),離心泵(2018)的底部設有對稱的離心泵出口(2019),且離心泵出口(2019)的底端分別貫穿過濾桶(201)和處理箱(202),并設置在離心倉(2012)內;
所述多介質過濾器(I)包括塔罐(101);塔罐(101)的一側設有裝濾管(103),裝濾管(103)的側面設有排氣管(102),裝濾管(103)的一端嵌入設置于塔罐(101)內,并與塔罐(101)連通,回流管(108)設置于裝濾管(103)的底部,排放口(107)設置于塔罐(101)的底部,進水管(104)設置于排放口(107)的頂部,并貫穿設置于塔罐(101)內,進水管(104)的底部設有若干呈“一”字排列的下滲口(1012),下滲口(1012)與進水管(104)連通;塔罐(101)的內部設有無煙煤過濾層(1013),無煙煤過濾層(1013)的底部設有粗砂過濾層(1014),粗砂過濾層(1014)的底部分別設有細沙過濾層(1015)和砂礫支撐層(1016),砂礫支撐層(1016)的內部設有若干均勻分布的滲漏器(1017),且砂礫支撐層(1016)覆蓋設置于滲漏器(1017)上,塔罐(101)的底部焊接設有若干對稱排列的支腳(1011);
所述處理凈化器(III)包括污水處理凈化器主體(10);凈化箱(14)的一側設有進水管道(1),進水管道(1)的一端通過防水膠貫穿固定在凈化箱(14)的側壁;進水管道(1)的相對面設有排水管道(6),排水管道(6)的一端通過防水膠貫穿固定在凈化箱(14)的側壁;
凈化箱(14)的側面貼合設有顯示面板(13),并與凈化箱(14)通過螺絲固定連接,顯示面板(13)的側面設有嵌入設置在顯示面板(13)內部的顯示屏(5),顯示屏(5)與顯示面板(13)電信號連接;顯示屏(5)的底部設有控制按鈕(12),控制按鈕(12)嵌入設置在顯示面板(13)內部,并與顯示面板(13)電信號連接;顯示面板(13)的側面設有過濾柵網(4),過濾柵網(4)貫穿在凈化箱(14)的側壁設置在凈化箱(14)內部中間位置,并與凈化箱(14)活動連接;凈化箱(14)的內部呈水平設置有固定框(17),并與凈化箱(14)的內壁緊密貼合固定;固定框(17)的頂部呈垂直設置有側邊擋板(18),并與固定框(17)焊接;凈化箱(14)的內部安裝有水泵(20),水泵(20)的底端設有固定底座(21),固定底座(21)頂部設有弧形凹槽,水泵(20)與固定底座(21)通過凹槽卡合;進水管道(1)的中間位置嵌套設有進水管道控制閥(8),進水管道控制旋鈕(7)的底端嵌入設置在進水管道控制閥(8)的內部;進水管道控制閥(8)的側面設有三通接頭(2),三通接頭(2)嵌套在進水管道(1)的一端,三通接頭(2)的底端設有電控閥(9),電控閥(9)嵌入設置在三通接頭(2)內部;電控閥(9)與顯示面板(13)電信號連接,三通接頭(2)的頂部設有回流管(3),回流管(3)的另一端貫穿在凈化箱(14)的頂部,并與水泵(20)貫通;排水管道(6)嵌入設置有排水管道控制閥(16),排水管道控制閥(16)的頂部設有排水管道控制旋鈕(15),排水管道控制旋鈕(15)的底端嵌入設置在排水管道控制閥(16)的內部。
2.根據權利要求1所述的環境工程用綜合性污水凈化處理設備,其特征在于:所述過濾桶(201)的頂壁設有吸附卡(207)和多個吸附樹脂板(208),且所述吸附卡(207)與過濾桶(201)固定連接,所述吸附樹脂板(208)之間平行設置,并嵌入設置在吸附卡(207)中。
3.根據權利要求1所述的環境工程用綜合性污水凈化處理設備,其特征在于:所述過濾桶(201)的內部分別設有初過濾網(209)和納濾膜(2010);初過濾網(209)和納濾膜(2010)之間平行設置,且初過濾網(209)和納濾膜(2010)均與過濾桶(201)的內壁緊密貼合。
4.根據權利要求1所述的環境工程用綜合性污水凈化處理設備,其特征在于:所述離心倉(2012)的底部設有限壓膜(2015),電解倉(2013)的內部設有電解管(2016),且電解管(2016)與處理箱(202)底壁固定連接;防回流倉(2014)的側面設有防回流板(2021),且防回流板(2021)的側面與處理箱(202)內壁緊密貼合。
5.根據權利要求1所述的環境工程用綜合性污水凈化處理設備,其特征在于:所述回流管(108)的側面設有第一輸水管(106),第一輸水管(106)的對側設有第二輸水管(109),且第一輸水管(106)和第二輸水管(109)均與回流管(108)連通。
6.根據權利要求1所述的環境工程用綜合性污水凈化處理設備,其特征在于:所述裝濾管(103)的一側設有反沖洗閥(105),且回流管(108)和回流管(108)的外側面均設有管卡(1010)。
7.根據權利要求1所述的環境工程用綜合性污水凈化處理設備,其特征在于:所述滲漏器(1017)的頂部設有濾布(1018),滲漏器(1017)的側面設有環繞該滲漏器(1017)均勻分布的濾孔(1019)。
8.根據權利要求1所述的環境工程用綜合性污水凈化處理設備,其特征在于:所述過濾柵網(4)的側面設有把手(11),把手(11)呈水平設置在過濾柵網(4)的一側,并與過濾柵網(4)焊接。
9.根據權利要求1所述的環境工程用綜合性污水凈化處理設備,其特征在于:所述固定框(17)的底端設有水體檢測儀(19),水體檢測儀(19)貫穿在凈化箱(14)的內部側壁,并與顯示面板(13)電信號連接。
10.根據權利要求1所述的環境工程用綜合性污水凈化處理設備,其特征在于:所述顯示面板(13)依次與電控閥(9)、水體檢測儀(19)串聯;顯示面板(13)分別與控制按鈕(12)和顯示屏(5)連接,并分別與電控閥(9)、水體檢測儀(19)和顯示屏(5)電信號連接;電控閥(9)型號為ASCO電磁閥,水體檢測儀(19)型號為小型ZXcm-500-TN污染指數檢測器,顯示屏(5)為三星品牌的XCC-P2.5曲面顯示屏。
說明書
環境工程用綜合性污水凈化處理設備
技術領域
本發明涉及污水處理裝置領域,具體講是環境工程用綜合性污水凈化處理設備。
背景技術
水是生命之源,是自然界最寶貴的資源。水資源的保護、利用和處理是當今世界上最熱門的話題之一,因此,國際上有關水質和水處理技術的研究工作發展很快,來自工業廢水和生活廢水的污染也是國家面臨的重大問題。我國是世界上水資源缺乏的國家之一,水質和水處理技術的開發有很大的發展,對環境保護、節水護水做出了很大的貢獻,但是現階段的污水處理技術和發達國家相比仍然有較大的差距。當前國內水處理技術和水處理市場仍被龐雜的有害的方案及方法所充斥。所以優質、高效、價廉、安全、無毒的水處理方法的研究和開發與應用是當今世界各國共同關注的大課題。
隨著我國工業化的發展,在一些電鍍、冶金、化工、制革、電解等企業事業單位,其產生的含有較多的如含鎘、鎳、汞、鋅等,重金屬污水也已經成為污染最嚴重和對人類危害最大的工業廢水之一。重金屬是工業生產中使用頻率較高的材料,在一些合金材料的加工過程中,也會產生重金屬含量超標的污水。例如Pb、Zn、Cu等金屬含量在一些行業的污水中的含量很高,遠遠超出了國家規定的排放標準。所以降低這些重金屬廢水中的重金屬含量具有非常大的意義。常規的重金屬污水的處理方法很多,但是對重金屬含量的降低效果卻不佳,有的工藝復雜,效果甚微,成本過高,操作繁瑣等。所以目前研究開發出一種簡便有效的重金屬污水的處理方法顯得尤為重要。
經過檢索發現,專利號CN205598759U的發明公開了一種CIT重金屬處理器,包括凈化槽、絮凝沉淀槽、過濾槽和離心過濾器,凈化槽內設置有分布器,分布器進口與污水源管路連通,凈化槽與絮凝沉淀槽相接,凈化槽與絮凝沉淀槽共用槽壁的上部設有溢流口,絮凝沉淀槽遠離凈化槽一側的側壁上部設有上清液出口且該上清液出口與過濾槽入口管路連通,過濾槽內設置有過濾組件,過濾組件遠離過濾槽入口一側的槽壁上設置有過濾槽出口,過濾槽出口與離心過濾器的進口管路連通且上述管路上設置有輸送泵。
然而,經過分析發現,現有的污水凈化處理設備存在以下不足;1、初步沉淀不完全,雜質較多;2、吸附的絮凝劑具有一定的毒性,同時吸附效率較低;3、離心處理時間長、凈水效率低;4、長久使用后,內部的滲漏器容易被細沙阻塞;5、不能對污水進行回流處理;6、對污水的處理效果差。
發明內容
因此,為了解決上述不足,本發明在此提供環境工程用綜合性污水凈化處理設備,其中,重金屬處理器具有良好的雜質吸附效率;并能夠分別通過吸附、離心和電解對水中的重金屬進行處理;有效的提高了重金屬污水處理的效率和質量。多介質過濾器具有能實現循環過濾處理,過濾效果好,避免水資源浪費現象和滲漏器不易阻塞等優點。處理凈化器具有能進行水質檢測的效果,能夠對污水進行回流處理,對于污水的處理效果好。
本發明是這樣實現的,環境工程用綜合性污水凈化處理設備,包括有相互連接成一體的重金屬處理器、多介質過濾器和處理凈化器,重金屬處理器的濾后出口連接于多介質過濾器的進水管;多介質過濾器的排放口連接于處理凈化器的進水管道。
重金屬處理器包括過濾桶、處理箱、電機、污水進口和電解質添加口,污水進口和電解質添加口呈對稱分布于過濾桶的兩側,過濾桶的內部形成吸附倉,處理箱的內部分別形成離心倉、電解倉和防回流倉,且污水進口的底端貫穿設置在吸附倉內,電解質添加口的底端分別貫穿過濾桶和處理箱,并設置在電解倉內,且電解質添加口的底端設有增壓機,過濾桶的側面設有顯示屏,處理箱的側面設有電源線,處理箱的一側設有拆卸口,且拆卸口嵌入設置在處理箱中,處理箱的側面設有濾后出口,且濾后出口的一端貫穿處理箱,并設置在防回流倉內,電機的一端安裝有離心泵,離心泵設置在過濾桶中,且電機與離心泵通過設置在電機側面的轉軸活動連接,離心泵的頂部設有離心泵進口,離心泵的底部設有對稱的離心泵出口,且離心泵出口的底端分別貫穿過濾桶和處理箱,并設置在離心倉內。
多介質過濾器包括塔罐、進水管、排放口、回流管、無煙煤過濾層、粗砂過濾層、細沙過濾層、砂礫支撐層和滲漏器;塔罐的一側設有裝濾管,裝濾管的側面設有排氣管,裝濾管的一端嵌入設置于塔罐內,并與塔罐連通,回流管設置于裝濾管的底部,排放口設置于塔罐的底部,進水管設置于排放口的頂部,并貫穿設置于塔罐內,進水管的底部設有若干呈“一”字排列的下滲口,下滲口與進水管連通,塔罐的內部設有無煙煤過濾層,無煙煤過濾層的底部設有粗砂過濾層,粗砂過濾層的底部分別設有細沙過濾層和砂礫支撐層,砂礫支撐層的內部設有若干均勻分布的滲漏器,且砂礫支撐層覆蓋設置于滲漏器上,塔罐的底部設有若干對稱排列的支腳,支腳與塔罐焊接。
處理凈化器包括污水處理凈化器主體;凈化箱的一側設有進水管道,進水管道的一端貫穿在凈化箱的側壁,并與凈化箱通過防水膠固定連接,進水管道的相對面設有排水管道,排水管道的一端貫穿在凈化箱的側壁,并與凈化箱通過防水膠固定連接;凈化箱的側面設有顯示面板,顯示面板的側面貼合在凈化箱的側壁,并與凈化箱通過螺絲固定連接,顯示面板的側面設有顯示屏,顯示屏嵌入設置在顯示面板內部,并與顯示面板電信號連接,顯示屏的底部設有控制按鈕,控制按鈕嵌入設置在顯示面板內部,并與顯示面板電信號連接,顯示面板的側面設有過濾柵網,過濾柵網貫穿在凈化箱的側壁設置在凈化箱內部中間位置,并與凈化箱活動連接,凈化箱的內部設有固定框,固定框呈水平設置在凈化箱內部,并與凈化箱的內壁緊密貼合固定,固定框的頂部設有側邊擋板,側邊擋板呈垂直設置在固定框的頂部,并與固定框焊接,凈化箱的內部安裝有水泵,水泵的底端設有固定底座,固定底座頂部設有弧形凹槽,水泵與固定底座通過凹槽卡合;進水管道一端設有進水管道控制閥,進水管道控制閥的嵌套在進水管道的中間位置,進水管道控制閥的頂部設有進水管道控制旋鈕,進水管道控制旋鈕的底端嵌入設置在進水管道控制閥的內部,并與進水管道控制閥活動連接,進水管道控制閥的側面設有三通接頭,三通接頭嵌套在進水管道的一端,三通接頭的底端設有電控閥,電控閥嵌入設置在三通接頭內部,電控閥與顯示面板電信號連接,三通接頭的頂部設有回流管,回流管的一端嵌入設置在三通接頭的頂部,并與三通接頭貫通,回流管的另一端貫穿在凈化箱的頂部,并與水泵貫通;排水管道的一端設有排水管道控制閥,排水管道控制閥嵌入設置在排水管道的內部,并與排水管道卡合,排水管道控制閥的頂部設有排水管道控制旋鈕,排水管道控制旋鈕的底端嵌入設置在排水管道控制閥的內部。
作為上述技術方案的改進,過濾桶的頂壁設有吸附卡和多個吸附樹脂板,且吸附卡與過濾桶固定連接,吸附樹脂板之間平行設置,并嵌入設置在吸附卡中。通過設置吸附卡能夠有效的將吸附樹脂板固定在過濾桶內,無毒性的吸附樹脂板對Cu2+的吸附率為99.2%,吸附容量高達49.6mg/g,同時對Cr3+、Co2+、Hg2+、Pb2+及Ni2+都具有有效的吸附能力,提高了初級吸附效率。
作為上述技術方案的改進,過濾桶的內部分別設有初過濾網和納濾膜,初過濾網和納濾膜之間平行設置,且初過濾網和納濾膜均與過濾桶的內壁緊密貼合。通過設置初過濾網能夠將有效的將泥土和大型雜質進行過濾,通過設置納濾膜能夠有效的將微生物及金屬化合物擋在膜外,提高了次級過濾效率。
作為上述技術方案的改進,離心倉的底部設有限壓膜,電解倉的內部設有電解管,且電解管與處理箱底壁固定連接。通過設置限壓膜能夠進一步將離心后的重金屬離子通透,并將重新結合的化合物留在膜外,最后通透的重金屬離子進行離子交換,與電解管和電解質發生電解反應,利用電解使離子交換提高了凈水效率。
作為上述技術方案的改進,防回流倉的側面設有防回流板,且防回流板的側面與處理箱內壁緊密貼合,通過設置防回流板是防止通入防回流倉中的凈化水重新回流至電解倉。
作為上述技術方案的改進,回流管的側面設有第一輸水管,第一輸水管的對側設有第二輸水管,且第一輸水管和第二輸水管均與回流管連通。通過設置的回流管,當污水經過進水管并從下滲口流入塔罐后,逐漸在塔罐內形成一定水位,下層水會逐漸滲入無煙煤過濾層、粗砂過濾層和細沙過濾層中,由于無煙煤過濾層、粗砂過濾層和細沙過濾層中的砂粒是按照過濾深度緊密排列的,使得水中微粒有更多的機會與砂粒碰撞,于是水中凝絮物、懸浮物和砂粒表面相互粘附,水中雜質被按照大小程度分別截留在濾料層中無煙煤過濾層、粗砂過濾層和細沙過濾層當中,而上層水的水位到達一定的高度后,就會從裝濾管中流出,隨后進入回流管內,并分別從第一輸水管和第二輸水管回到污水處理流程的上一級進行循環過濾,這樣的話一方面實現了污水處理循環過濾的效果,又能夠省去上層水等待下層水滲漏的時間,既提高了過濾效果又能夠提高過濾效率。
作為上述技術方案的改進,裝濾管的一側設有反沖洗閥,且回流管和回流管的外側面均設有管卡。通過設置的反沖洗閥可在裝置完成工作后進行內部的反沖洗,這一過程中該過濾器過濾后的潔凈水作為反沖洗閥的沖洗水,反沖洗閥通過改變水流的流向,關閉進水管,打開排放口,從排放口處截留潔凈水進入反沖洗閥對內進行沖洗,并將沖洗水經排放口完成排放,實現了有效的內部清潔,并且采用過濾水充當沖洗水的方式,也避免了水資源浪費的現象。
作為上述技術方案的改進,滲漏器的頂部設有濾布,滲漏器的側面設有環繞該滲漏器均勻分布的濾孔。通過設置的濾布將顆粒較小的細沙過濾層和滲漏器進行區隔,防止細砂礫進入滲漏器內造成濾孔的堵塞,避免長久使用后排放口排水不暢的問題。
作為上述技術方案的改進,過濾柵網的側面設有把手,把手呈水平設置在過濾柵網的一側,并與過濾柵網焊接,待處理的污水通過進水管道進入到凈化箱內,通過固定框頂部的過濾柵網進行過濾處理,通過過濾柵網過濾后的污水流入凈化箱底部進行沉淀,工作人員通過添加凈化藥劑對其進行凈化處理。
作為上述技術方案的改進,固定框的底端設有水體檢測儀,水體檢測儀貫穿在凈化箱的內部側壁,并與顯示面板電信號連接,在凈化箱內部進行凈化處理的污水通過水體檢測儀進行水質監測,由于水體檢測儀與顯示面板電信號連接,水體檢測儀檢測到的水質信息將實時反饋到顯示面板內,并通過顯示屏顯示出來。
作為上述技術方案的改進,顯示面板依次與電控閥、水體檢測儀串聯,顯示面板分別與控制按鈕和顯示屏連接,并分別與電控閥、水體檢測儀和顯示屏電信號連接,電控閥型號為ASCO電磁閥,水體檢測儀型號為小型ZXcm-500-TN污染指數檢測器,顯示屏為三星品牌的XCC-P2.5曲面顯示屏,工作人員通過進水管道控制旋鈕將進水管道控制閥打開,污水通過進水管道進入凈化箱,如果水體檢測儀檢測到凈化后的水質不達標,則將進水管道控制閥關閉,啟動水泵,通過水泵將凈化箱內部經過處理后的污水通過回流管導入進水管道,進行二次凈化,凈化箱內污水達標后將排水管道控制閥開啟,通過排水管道將處理完畢的污水進行排放。
與現有技術相比,本發明具有如下優點:
一、重金屬處理器具有良好的雜質吸附效率;并能夠分別通過吸附、離心和電解對水中的重金屬進行處理;有效的提高了重金屬污水處理的效率和質量。具體體現為:
優點1:過濾桶的頂壁設有吸附卡和多個吸附樹脂板,且吸附卡與過濾桶固定連接,吸附樹脂板之間平行設置,并嵌入設置在吸附卡中。通過設置吸附卡能夠有效的將吸附樹脂板固定在過濾桶內,無毒性的吸附樹脂板對Cu2+的吸附率為99.2%,吸附容量高達49.6mg/g,同時對Cr3+、Co2+、Hg2+、Pb2+及Ni2+都具有有效的吸附能力,提高了初級吸附效率。
優點2:過濾桶的內部分別設有初過濾網和納濾膜,初過濾網和納濾膜之間平行設置,且初過濾網和納濾膜均與過濾桶的內壁緊密貼合。通過設置初過濾網能夠將有效的將泥土和大型雜質進行過濾,通過設置納濾膜能夠有效的將微生物及金屬化合物擋在膜外,提高了次級過濾效率。
優點3:離心倉的底部設有限壓膜,電解倉的內部設有電解管,且電解管與處理箱底壁固定連接。通過設置限壓膜能夠進一步將離心后的重金屬離子通透,并將重新結合的化合物留在膜外,最后通透的重金屬離子進行離子交換,與電解管和電解質發生電解反應,利用電解使離子交換提高了凈水效率。
優點4:防回流倉的側面設有防回流板,且防回流板的側面與處理箱內壁緊密貼合,通過設置防回流板是防止通入防回流倉中的凈化水重新回流至電解倉。
二、多介質過濾器具有能實現循環過濾處理,過濾效果好,避免水資源浪費現象和滲漏器不易阻塞等優點,具體體現為:
優點1:回流管的側面設有第一輸水管,第一輸水管的對側設有第二輸水管,且第一輸水管和第二輸水管均與回流管連通。通過設置的回流管,當污水經過進水管并從下滲口流入塔罐后,逐漸在塔罐內形成一定水位,下層水會逐漸滲入無煙煤過濾層、粗砂過濾層和細沙過濾層中,由于無煙煤過濾層、粗砂過濾層和細沙過濾層中的砂粒是按照過濾深度緊密排列的,使得水中微粒有更多的機會與砂粒碰撞,于是水中凝絮物、懸浮物和砂粒表面相互粘附,水中雜質被按照大小程度分別截留在濾料層中無煙煤過濾層、粗砂過濾層和細沙過濾層當中,而上層水的水位到達一定的高度后,就會從裝濾管中流出,隨后進入回流管內,并分別從第一輸水管和第二輸水管回到污水處理流程的上一級進行循環過濾,這樣的話一方面實現了污水處理循環過濾的效果,又能夠省去上層水等待下層水滲漏的時間,既提高了過濾效果又能夠提高過濾效率。。
優點2:裝濾管的一側設有反沖洗閥,且回流管和回流管的外側面均設有管卡。通過設置的反沖洗閥可在裝置完成工作后進行內部的反沖洗,這一過程中該過濾器過濾后的潔凈水作為反沖洗閥的沖洗水,反沖洗閥通過改變水流的流向,關閉進水管,打開排放口,從排放口處截留潔凈水進入反沖洗閥對內進行沖洗,并將沖洗水經排放口完成排放,實現了有效的內部清潔,并且采用過濾水充當沖洗水的方式,也避免了水資源浪費的現象。
優點3:滲漏器的頂部設有濾布,滲漏器的側面設有環繞該滲漏器均勻分布的濾孔。通過設置的濾布將顆粒較小的細沙過濾層和滲漏器進行區隔,防止細砂礫進入滲漏器內造成濾孔的堵塞,避免長久使用后排放口排水不暢的問題。
三、處理凈化器具有能進行水質檢測的效果,能夠對污水進行回流處理,對于污水的處理效果好,具體體現為:
優點1:過濾柵網的側面設有把手,把手呈水平設置在過濾柵網的一側,并與過濾柵網焊接,待處理的污水通過進水管道進入到凈化箱內,通過固定框頂部的過濾柵網進行過濾處理,通過過濾柵網過濾后的污水流入凈化箱底部進行沉淀,工作人員通過添加凈化藥劑對其進行凈化處理。
優點2:固定框的底端設有水體檢測儀,水體檢測儀貫穿在凈化箱的內部側壁,并與顯示面板電信號連接,在凈化箱內部進行凈化處理的污水通過水體檢測儀進行水質監測,由于水體檢測儀與顯示面板電信號連接,水體檢測儀檢測到的水質信息將實時反饋到顯示面板內,并通過顯示屏顯示出來。
優點3:顯示面板依次與電控閥、水體檢測儀串聯,顯示面板分別與控制按鈕和顯示屏連接,并分別與電控閥、水體檢測儀和顯示屏電信號連接,電控閥型號為ASCO電磁閥,水體檢測儀型號為小型ZXcm-500-TN污染指數檢測器,顯示屏為三星品牌的XCC-P2.5曲面顯示屏,工作人員通過進水管道控制旋鈕將進水管道控制閥打開,污水通過進水管道進入凈化箱,如果水體檢測儀檢測到凈化后的水質不達標,則將進水管道控制閥關閉,啟動水泵,通過水泵將凈化箱內部經過處理后的污水通過回流管導入進水管道,進行二次凈化,凈化箱內污水達標后將排水管道控制閥開啟,通過排水管道將處理完畢的污水進行排放。



