申請日2017.09.30
公開(公告)日2017.12.15
IPC分類號C02F3/32
摘要
本發明涉及一種利用硬質駁岸進行污水處理的凈化系統,設置在河道的硬質駁岸上,具有進水總口和出水總口,其由至少兩個凈化單元組成,各凈化單元沿硬質駁岸的長度方向并列設置;各凈化單元均包括至少兩個凈化單體,各凈化單體均包括具有進水口和出水口的殼體,且各殼體中通過豎向設置的分隔板而均分為至少兩個凈化空間,各凈水空間中均設置有填料層和種植在該填料層上的植物層,該填料層上方的形成蓄水空間,且各蓄水空間中的水能沿進水口向出水口方向流動,該蓄水空間中養殖有浮游生物。本發明通過層層凈化,延長污水與處理系統的接觸時間,有效控制點源污染,污水處理過程中,邊收集邊處理,處理達標后排入河道,減輕污染負荷。
權利要求書
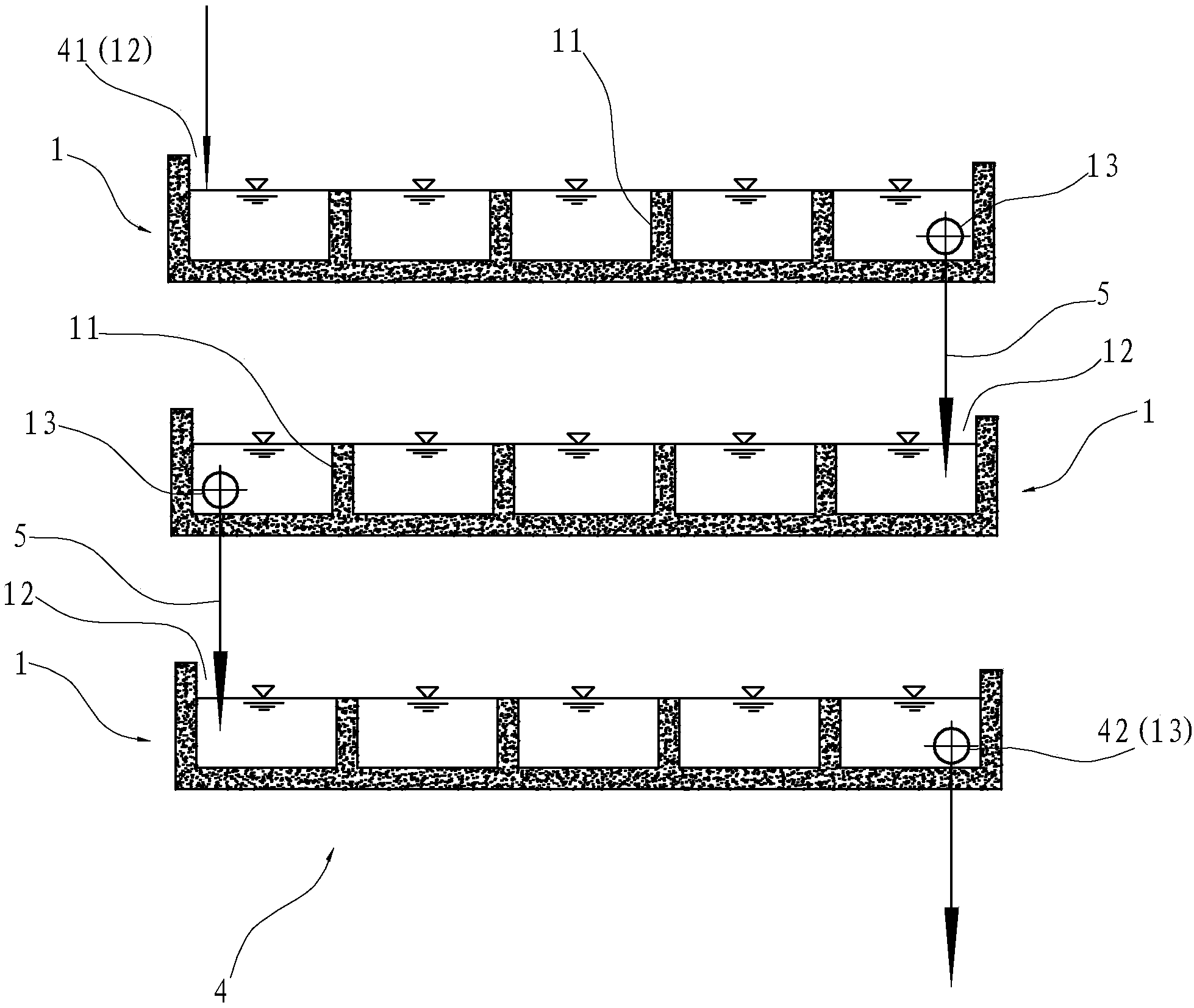
1.一種利用硬質駁岸進行污水處理的凈化系統,設置在河道的硬質駁岸上,其特征在于,所述凈化系統具有供待處理污水流入的進水總口和供處理后水流出的出水總口,其由至少兩個凈化單元組成,各凈化單元沿硬質駁岸的長度方向并列設置,且各凈化單元均包括進水支口和出水支口,相鄰的凈化單元中,其中一個凈化單元的出水支口與另一凈化單元的進水支口通過動力提升管連通,位于兩端的凈化單元中,其中一個凈化單元的進水支口即為上述進水總口,而另一個凈化單元的出水支口即為上述出水總口;
各凈化單元均包括沿硬質駁岸坡面方向并列設置的至少兩個凈化單體,各凈化單體均包括具有進水口和出水口的殼體,且各殼體中通過豎向設置的分隔板而均分為至少兩個凈化空間,各凈水空間中均設置有填料層和種植在該填料層上的植物層,該填料層上方的形成蓄水空間,且各蓄水空間中的水能沿進水口向出水口方向流動,該蓄水空間中養殖有枝角類浮游動物;
相鄰凈化單體中,其中一個凈化單體的出水口與另一單體的進水口通過重力流水管連通,而位于兩端的凈化單體中,其中一個單體的進水口即為上述進水支口,而另一單體的出水口即為上述出水支口。
2.如權利要求1所述的凈化系統,其特征在于,所述填料層包括有陶粒、爐渣、珍珠巖、蛭石、沸石、海泡石、麥飯石中的至少一種。
3.如權利要求1所述的凈化系統,其特征在于,所述植物層中種植有微齒眼子菜、苦草、水蔥、梭魚草、菖蒲、黃花水龍,水芹菜、空心蓮子草、澤瀉、狹葉澤瀉、香蒲、黃菖蒲中任意3~5種。
4.如權利要求1所述的凈化系統,其特征在于,所述枝角類浮游生物包括水蚤和薄皮蚤中的至少一種。
5.如權利要求1~4任一項所述的凈化系統,其特征在于,所述殼體的外觀呈頂部開口的盒體結構,各所述分隔板沿該殼體的長度方向分別橫貫設置在該殼體中,上述開口沿上述分隔板的設置方向的一端為上述進水口,另一端的殼體側壁上開設有上述出水口。
6.如權利要求5所述的凈化系統,其特征在于,所述殼體為混凝土的長方體結構,其長為40~50cm,寬為30~40cm,高為25~30cm,分隔板的高度為15~25cm。
7.如權利要求5所述的凈化系統,其特征在于,所述殼體通過一側側面壁掛在硬質駁岸上。
8.如權利要求5所述的凈化系統,其特征在于,所述殼體通過其底部嵌于硬質駁岸中。
9.如權利要求5所述的凈化系統,其特征在于,所述相鄰的凈化單元中,其中一個凈化單元的出水支口中設置有潛污泵,該潛污泵連接有上述動力提升管,而該動力提升管與另一凈化單元的進水支口連通,其各動力提升管上設置有用于控制該動力提升管開閉的控制閥。
說明書
一種利用硬質駁岸進行污水處理的凈化系統
技術領域
本發明涉及污水處理領域,尤其涉及一種利用硬質駁岸進行污水處理的凈化系統。
背景技術
河流是地面水系的重要組成部分,不僅能供給生活用水,而且還能保證工業用水、消防用水以及綠化灌溉等。河水除地下水補給外,雨水補給是其重要來源,初期雨水中溶解了空氣中的大量酸性氣體、汽車尾氣、工廠廢氣等污染性氣體,降落地面后,又由于沖刷屋面、路面等,初期雨水中攜帶大量的污染物質。此外,生活廢水、工農業生產廢水等污水未經處理直接匯入河流中,污水中的懸浮物(垃圾、浮油等)、N、P、重金屬等可溶性污染物及其他污染有機物將對河水的水質產生嚴重影響。
如:申請號為201510548086.6(申請公布號為CN 105152472 A)的中國發明專利《一種雨水入河污染控制的滲透型生態堤岸》公開了一種生態堤岸,其包括沿河道堤岸構建的人工滲透系統,所述人工滲透系統包括通過進水管與雨水井連接的滲透池,滲透池中自下而上依次設置有集水層、承托層和過濾層,集水層中設置有連至河道的排水管,將徑流雨水均勻投配到過濾層中,雨水自上而下流動經過濾層、承托層得到凈化,通過底部的集水層收集后,排放入河。上述專利中的生物堤岸能從一定程度上處理入河雨水面源污染,但是不適合對其他入河廢水進行處理,尤其是生活污水,此外,僅通過滲透池簡單的物理化學作用對污水進行處理,凈化效果不佳,并且,該生態堤岸的景觀效果不佳。
又如:申請號為201610188447.5(申請公布號為CN 105862657 A)的中國發明專利《一種改善生境環境的硬質河流駁岸改造方法》公開了一種硬質河流駁岸改造方法,包括以下步驟:(1)在原硬質駁岸上打制新的硬質泥墻;(2)將若干個生境裝置嵌入具有新的硬質泥墻的駁岸上,所述生境裝置由與硬質駁岸坡度相匹配的呈相應角度相接的兩塊板子和板子間的擋板組成,其中一個板子嵌入駁岸上,另一個板子為水平板,水平板與河面平行,長為100-200mm;所述擋板包括位于水平板上距駁岸距離為水平板長度1/3-2/3處并與河面呈30-60°的擋板;(3)向步驟(2)中的生境裝置依次加入河泥、土壤、石子和植物種苗;所述硬質駁岸與河面的夾角為100-150°。該專利可對水體起到一定的凈化作用,逐漸實現恢復河流生態環境的目標,但是該專利中各生境裝置分別獨立運作,相互之間未形成有效的協調作用,從而使得整體的處理效果還有待改進。
發明內容
本發明所要解決的技術問題是針對現有技術而提供一種污水處理效果好、河道駁岸景觀效果好的利用硬質駁岸進行污水處理的凈化系統。
本發明解決上述技術問題所采用的技術方案為:一種利用硬質駁岸進行污水處理的凈化系統,設置在河道的硬質駁岸上,其特征在于,具有供待處理污水流入的進水總口和供處理后水流出的出水總口,其由至少兩個凈化單元組成,各凈化單元沿硬質駁岸的長度方向并列設置,且各凈化單元均包括進水支口和出水支口,相鄰的凈化單元中,其中一個凈化單元的出水支口與另一凈化單元的進水支口通過動力提升管連通,位于兩端的凈化單元中,其中一個凈化單元的進水支口即為上述進水總口,而另一個凈化單元的出水支口即為上述出水總口;各凈化單元均包括沿硬質駁岸坡面方向并列設置的至少兩個凈化單體,各凈化單體均包括具有進水口和出水口的殼體,且各殼體中通過豎向設置的分隔板而均分為至少兩個凈化空間,各凈水空間中均設置有填料層和種植在該填料層上的植物層,該填料層上方的形成蓄水空間,且各蓄水空間中的水能沿進水口向出水口方向流動,該蓄水空間中養殖有枝角類浮游生物;相鄰凈化單體中,其中一個凈化單體的出水口與另一單體的進水口通過重力流水管連通,而位于兩端的凈化單體中,其中一個單體的進水口即為上述進水支口,而另一單體的出水口即為上述出水支口。
作為優選,所述填料層包括有陶粒、爐渣、珍珠巖、蛭石、沸石、海泡石、麥飯石中的至少一種。
作為優選,所述植物層中種植有微齒眼子菜、苦草、水蔥、梭魚草、菖蒲、黃花水龍,水芹菜、空心蓮子草、澤瀉、狹葉澤瀉、香蒲、黃菖蒲中任意3~5種。
作為優選,所述枝角類浮游生物包括水蚤和薄皮蚤中的至少一種。該枝角類浮游生物主要用于濾食酵母、細菌、單細胞藻類及有機碎屑等,有利于提高水體透明度。
作為優選,所述殼體的外觀呈頂部開口的盒體結構,各所述分隔板沿該殼體的長度方向分別橫貫設置在該殼體中,上述開口沿上述分隔板的設置方向的一端為上述進水口,另一端的殼體側壁上開設有上述出水口。
進一步,所述殼體為混凝土的長方體結構,其長為40~50cm,寬為30~40cm,高為25~30cm。分隔板的高度為15~25cm。作為優選,所述殼體通過一側側面壁掛在硬質駁岸上。
作為優選,所述殼體通過其底部嵌于硬質駁岸中。
作為優選,所述相鄰的凈化單元中,其中一個凈化單元的出水支口中設置有潛污泵,該潛污泵連接有上述動力提升管,而該動力提升管與另一凈化單元的進水支口連通,其各動力提升管上設置有用于控制該動力提升管開閉的控制閥。
與現有技術相比,本發明的優點在于:本發明的凈化系統設置在硬質駁岸上,利用現有空間進行原位處理,不占用其他用地。其中,凈化單體中設置有填料層和植物層,而填料層上方的殼體內腔形成蓄水空間,蓄水空間中養殖有枝角類浮游生物,從而能對入河污水進行收集,并通過上述填料層、植物層以及枝角類浮游生物進行預處理,攔截污水中的垃圾、浮油等懸浮物,吸附、吸收、氧化降解污水中的N、P、重金屬等可溶性污染物及其他有機物,從而提升入河水體的透明度,此外,植物層能營造駁岸景觀,不但降低駁岸溫度,而且創建了鳥類,兩棲類,昆蟲魚、蝦、貝類等不同生物棲息地,增加駁岸的生物多樣性,利于水體和陸地之間信息流、物質流、能量流之間的交換,便于構建穩定的生態系統,構建會呼吸的河道環境,解決了現有技術中硬質駁岸無法直接綠化的問題。
本發明的凈化系統能通過層層凈化,進一步延長污水與處理系統的接觸時間,有效控制點源污染,污水處理過程中,邊收集邊處理,處理達標后排入河道,減輕污染負荷。



