申請日2017.09.30
公開(公告)日2017.12.26
IPC分類號C02F9/04; C02F9/08
摘要
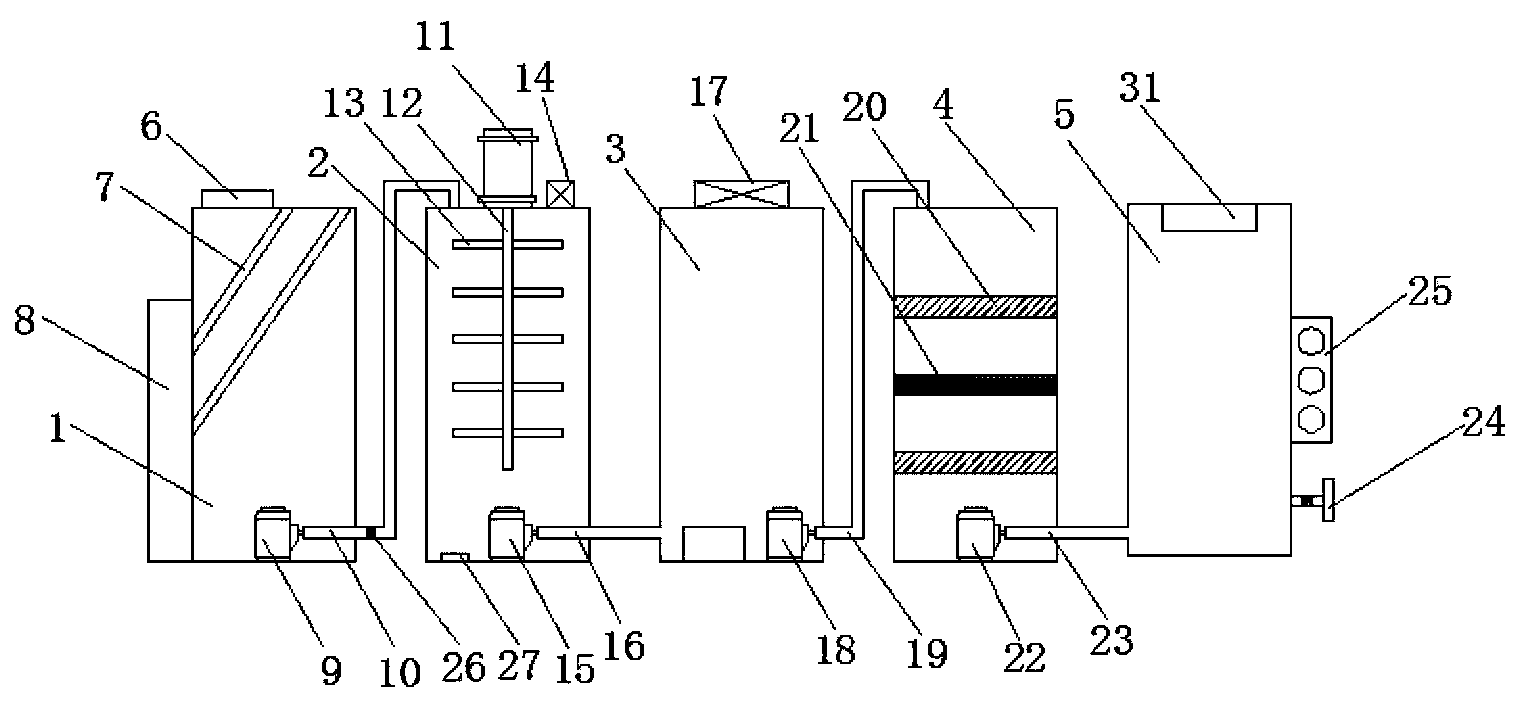
本發明公開了一種高效節能的生活污水處理設備,包括從左到右依次連通的污水池、沉淀池、消毒池、過濾池和清水池,污水池的頂部設有進水口,污水池的內部傾斜設置有過濾網,污水池的一側設置有垃圾桶,過濾網的一端固定在污水池的頂部,過濾網的另一端延伸至垃圾桶內,沉淀池的頂部豎直設置有一驅動電機,驅動電機的輸出軸上固定連接有伸入沉淀池內的攪拌軸,攪拌軸上設有多個攪拌漿葉,消毒池的底部設置有曝氣裝置,過濾池的內部設有多塊透水活性炭吸附隔板和多塊透水樹脂吸附隔板,所述清水池的側壁上設有與其連通的出水管,所述清水池的側壁上還設置有控制器。該設備具有廣闊的應用前景,適合在市場上推廣。
權利要求書
1.一種高效節能的生活污水處理設備,其特征在于,包括從左到右依次連通的污水池(1)、沉淀池(2)、消毒池(3)、過濾池(4)和清水池(5),所述污水池(1)的頂部設有與其連通的進水口(6),所述污水池(1)的內部傾斜設置有過濾網(7),且所述污水池(1)的一側設置有垃圾桶(8),所述過濾網(7)的一端固定在污水池(1)的頂部,且所述過濾網(7)的另一端延伸至垃圾桶(8)內,所述污水池(1)的底部設置有第一水泵(9),且所述第一水泵(9)通過第一水管(10)與所述沉淀池(2)連通,所述沉淀池(2)的頂部豎直設置有一驅動電機(11),且所述驅動電機(11)的輸出軸上固定連接有伸入沉淀池(2)內的攪拌軸(12),所述攪拌軸(12)上由上至下設置有多個攪拌漿葉(13),所述沉淀池(2)的頂部還設有絮凝劑添加裝置(14),所述沉淀池(2)的底部設置有第二水泵(15),且所述第二水泵(15)通過第二水管(16)與所述消毒池(3)連通,所述消毒池(3)的頂部設置有消毒液添加裝置(17),且所述消毒池(3)的底部設置有曝氣裝置,所述消毒池(3)的底部設置有第三水泵(18),且所述第三水泵(18)通過第三水管(19)與所述過濾池(4)的頂部連通,所述過濾池(4)的內部由上至下設置有多塊透水活性炭吸附隔板(20)和多塊透水樹脂吸附隔板(21),且所述透水活性炭吸附隔板(20)和透水樹脂吸附隔板(21)間隔設置,所述過濾池(4)的底部設置有第四水泵(22),且所述第四水泵(22)通過第四水管(23)與所述清水池(5)連通,所述清水池(5)的側壁上設有與其連通的出水管(24),所述清水池(5)的側壁上還設置有控制器(25)。
2.根據權利要求1所述的一種高效節能的生活污水處理設備,其特征在于,所述污水池(1)、沉淀池(2)、消毒池(3)、過濾池(4)以及清水池(5)均采用防腐蝕材料制成。
3.根據權利要求1所述的一種高效節能的生活污水處理設備,其特征在于,所述污水池(1)的內部設置有兩個過濾網(7)。
4.根據權利要求1所述的一種高效節能的生活污水處理設備,其特征在于,所述第一水管(10)內設置有與所述控制器(25)相連的流量計(26)。
5.根據權利要求1所述的一種高效節能的生活污水處理設備,其特征在于,所述沉淀池(2)的底部還設置有排污口(27)。
6.根據權利要求1所述的一種高效節能的生活污水處理設備,其特征在于,所述曝氣裝置包括固定在消毒池(3)底部的曝氣泵(28)以及與所述曝氣泵(28)相連并帶有曝氣孔(29)的曝氣管(30),所述曝氣管(30)豎直設置在消毒池(3)的內部。
7.根據權利要求1所述的一種高效節能的生活污水處理設備,其特征在于,所述清水池(5)的內側頂部安裝有紫外線殺菌燈(31)。
說明書
一種高效節能的生活污水處理設備
技術領域
本發明涉及污水處理技術領域,具體為一種高效節能的生活污水處理設備。
背景技術
隨著城市的不斷發展,城市變的越來越擁擠,噪聲污染也越來越嚴重,繁華的市中心己不再適合居住,因此一部分較富裕的人選擇在遠離城市中心的寧靜和空氣質量較好的郊區居住,由于遠離城市中心的郊區沒有系統的供水和污水的排放管道,造成用水和污水排放困難,目前郊區住宅中的生活污水一般直接排入附近的小河中,這樣不但造成周圍環境的污染,更是一種水資源的浪費,目前,市場上有各種各樣的污水處理設備,但是它們處理污水的效果不好,不能滿足人們的使用需求,為此,我們提出一種生活污水處理設備。
發明內容
本發明的目的在于提供一種高效節能的生活污水處理設備,以解決上述背景技術中提出的問題。
為實現上述目的,本發明提供如下技術方案:一種高效節能的生活污水處理設備,包括從左到右依次連通的污水池、沉淀池、消毒池、過濾池和清水池,所述污水池的頂部設有與其連通的進水口,所述污水池的內部傾斜設置有過濾網,且所述污水池的一側設置有垃圾桶,所述過濾網的一端固定在污水池的頂部,且所述過濾網的另一端延伸至垃圾桶內,所述污水池的底部設置有第一水泵,且所述第一水泵通過第一水管與所述沉淀池連通,所述沉淀池的頂部豎直設置有一驅動電機,且所述驅動電機的輸出軸上固定連接有伸入沉淀池內的攪拌軸,所述攪拌軸上由上至下設置有多個攪拌漿葉,所述沉淀池的頂部還設有絮凝劑添加裝置,所述沉淀池的底部設置有第二水泵,且所述第二水泵通過第二水管與所述消毒池連通,所述消毒池的頂部設置有消毒液添加裝置,且所述消毒池的底部設置有曝氣裝置,所述消毒池的底部設置有第三水泵,且所述第三水泵通過第三水管與所述過濾池的頂部連通,所述過濾池的內部由上至下設置有多塊透水活性炭吸附隔板和多塊透水樹脂吸附隔板,且所述透水活性炭吸附隔板和透水樹脂吸附隔板間隔設置,所述過濾池的底部設置有第四水泵,且所述第四水泵通過第四水管與所述清水池連通,所述清水池的側壁上設有與其連通的出水管,所述清水池的側壁上還設置有控制器。
進一步的,所述污水池、沉淀池、消毒池、過濾池以及清水池均采用防腐蝕材料制成。
進一步的,所述污水池的內部設置有兩個過濾網。
進一步的,所述第一水管內設置有與所述控制器相連的流量計。
進一步的,所述沉淀池的底部還設置有排污口。
進一步的,所述曝氣裝置包括固定在消毒池底部的曝氣泵以及與所述曝氣泵相連并帶有曝氣孔的曝氣管,所述曝氣管豎直設置在消毒池的內部。
進一步的,所述清水池的內側頂部安裝有紫外線殺菌燈。
與現有技術相比,本發明的有益效果是:本發明在污水池內安裝傾斜的過濾網,并在污水池的一側安裝垃圾桶,使得過濾后的垃圾直接進入垃圾桶,節省了大量的維護費用;同時在過濾池中安裝多個透水活性炭吸附隔板和透水樹脂吸附隔板,對水進行除臭和過濾,使得污水達到排放標準,因此,該設備的實用性極強,非常適合在市場上推廣和應用。



