申請日2017.09.30
公開(公告)日2018.02.16
IPC分類號A01K63/00; A01K63/06; A01K63/04; C02F1/32
摘要
本發明公開了一種基于物聯網的攪動排污水產品飼養裝置,包括柜體和穩定底座,所述柜體的頂部設有操作臺,所述柜體的內部設有儲液室,所述儲液室的內部設有消毒箱,所述消毒箱的內部設有微型水泵,所述微型水泵通過水管連接至所述操作臺的上側,所述水管終端連接噴頭,所述儲液室的頂部設有加熱室,所述加熱室的內部設有加熱阻絲,所述加熱室的頂部設有儲物室,所述儲液室的右側設有制冷室,所述制冷室的內部設有微型制冷機,所述制冷室的頂部設有風冷室,所述風冷室的內部設有風扇,所述風冷室的頂部設有消毒室,所述消毒室的內部設有消毒燈,所述柜體的底部連接穩定底座。該種設備功能性較強,便于使用,結構簡單,易于實現。
權利要求書
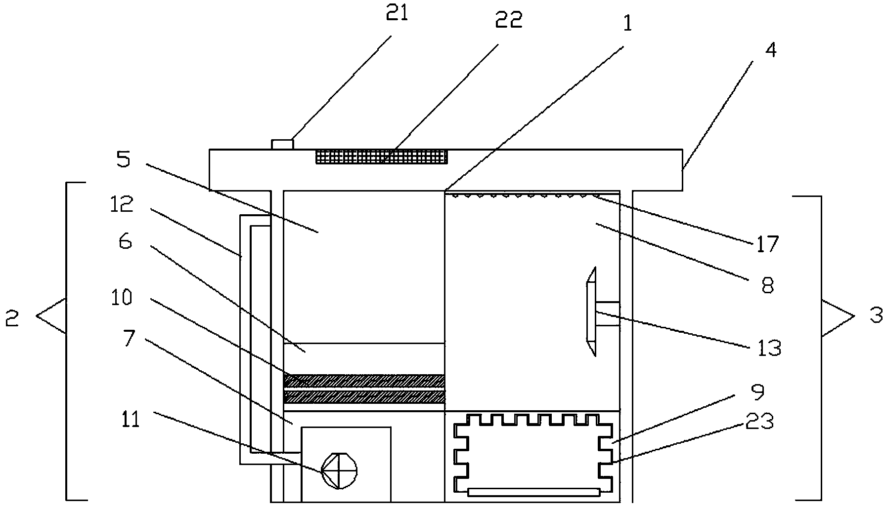
1.一種基于物聯網的攪動排污水產品飼養裝置,包括柜體(1)、喜熱水產品飼養組件(2)和喜冷水產品組件(3),其特征在于:所述柜體(1)的頂部設有頂蓋(4),所述頂蓋(4)上設有物聯網芯片(22),所述柜體(1)的下側設有喜熱水產品飼養組件(2),所述喜熱水產品飼養組件(2)的右側設有所述喜冷水產品組件(3);
所述喜熱水產品飼養組件(3)包括儲液室(5)、加熱室(6)和鼓氣室(7),所述儲液室(5)的底部設有加熱室(6),所述加熱室(6)的底部設有鼓氣室(7);
所述喜冷水產品組件(3)包括攪拌儲液室(8)和冷凝室(9),所述攪拌儲液室(8)的底部設有冷凝室(9),所述冷凝室(9)的內部設有冷凝器(23)。
2.根據權利要求1所述的一種基于物聯網的攪動排污水產品飼養裝置,其特征在于:所述加熱室(6)的內部設有加熱電阻(10),所述加熱電阻(10)設為可向儲液室(5)提供加熱。
3.根據權利要求1所述的一種基于物聯網的攪動排污水產品飼養裝置,其特征在于:所述鼓氣室(7)的內部設有鼓風機(11),所述鼓風機(11)連接氣管(12),所述氣管(12)連通至儲液室(5),所述鼓風機(11)設為可向儲液室(5)內部注入氧氣。
4.根據權利要求1所述的一種基于物聯網的攪動排污水產品飼養裝置,其特征在于:所述攪拌儲液室(8)的內部設有攪拌組件(13),所述攪拌組件(13)包括橫臂(14)、電機(15)和攪拌扇葉(16),所述橫臂(14)上設有攪拌扇葉(16),所述電機(15)轉動連接所述攪拌扇葉(16)。
5.根據權利要求1所述的一種基于物聯網的攪動排污水產品飼養裝置,其特征在于:所述攪拌儲液室(8)的頂部設有4-12個紫外線消毒燈(17)。
6.根據權利要求1所述的一種基于物聯網的攪動排污水產品飼養裝置,其特征在于:所述物聯網芯片(22)包括中央控制模塊(18)、指令接受模塊(19)和信息傳送模塊(20),所述中央控制模塊(18)與所述指令接受模塊(19)和信息傳送模塊(20)電路連通。
7.根據權利要求1所述的一種基于物聯網的攪動排污水產品飼養裝置,其特征在于:所述頂蓋(4)的左上側設有控制開關(21),所述控制開關(21)設為總電源開關。
說明書
一種基于物聯網的攪動排污水產品飼養裝置
技術領域
本發明涉及物聯網技術領域,具體為一種基于物聯網的攪動排污水產品飼養裝置。
背景技術
水產養殖箱是一種專用于水產養殖的裝置,廣泛應用于水產公司和工廠等場所,也可用于家用進行觀賞魚養殖,而基于物聯網的水產養殖箱則是通過物聯網進行集中觀測,從而更有利于大面積養殖的裝置;現有的基于物聯網的水產養殖箱單單只適合養一種類型的水產品,然而水產品多數按熱帶和寒帶分類,傳統的多數只適合飼養熱帶的水產品,功能性較差。
以上這些這些問題就需要對傳統設備進行改進,那么如何設計出一種基于物聯網的攪動排污水產品飼養裝置,這成為我們需要解決的問題。
發明內容
本發明的目的在于提供一種基于物聯網的攪動排污水產品飼養裝置,解決了背景技術中所提出的問題。
為解決上述的問題,本發明提供如下技術方案:一種基于物聯網的攪動排污水產品飼養裝置,包括柜體、喜熱水產品飼養組件和喜冷水產品組件,所述柜體的頂部設有頂蓋,所述頂蓋上設有物聯網芯片,所述柜體的下側設有喜熱水產品飼養組件,所述喜熱水產品飼養組件的右側設有所述喜冷水產品組件;
所述喜熱水產品飼養組件包括儲液室、加熱室和鼓氣室,所述儲液室的底部設有加熱室,所述加熱室的底部設有鼓氣室;
所述喜冷水產品組件包括攪拌儲液室和冷凝室,所述攪拌儲液室的底部設有冷凝室,所述冷凝室的內部設有冷凝器。
優選的,所述加熱室的內部設有加熱電阻,所述加熱電阻設為可向儲液室提供加熱。
優選的,所述鼓氣室的內部設有鼓風機,所述鼓風機連接氣管,所述氣管連通至儲液室,所述鼓風機設為可向儲液室內部注入氧氣。
優選的,所述攪拌儲液室的內部設有攪拌組件,所述攪拌組件包括橫臂、電機和攪拌扇葉,所述橫臂上設有攪拌扇葉,所述電機轉動連接所述攪拌扇葉。
優選的,所述攪拌儲液室的頂部設有4-12個紫外線消毒燈。
優選的,所述物聯網芯片包括中央控制模塊、指令接受模塊和信息傳送模塊,所述中央控制模塊與所述指令接受模塊和信息傳送模塊電路連通。
優選的,所述頂蓋的左上側設有控制開關,所述控制開關設為總電源開關。
與現有技術相比,本發明的有益效果如下:
1.本發明設計的柜體,按熱寒帶水產品進行分類飼養,加強了飼養產品的種類整體功能性較強,成本較低,具備推廣價值。
2.本發明設計了加熱室,可以利用加熱室內部的加熱電阻向儲液箱進行加熱,同時鼓風機可以保證儲液室內部的水分的含氧量。
3.本發明設計了攪拌儲液室,在攪拌儲液室的內部設計了攪拌組件,利用攪拌組件可以對加強水分的流動,同時添加了紫外線消毒燈能對水進行消毒,設計簡單,功能性強。



