濮陽縣某化工有限公司主要經營范圍是精細化工產品的制造、加工和營銷。其中主要產品四氫亞胺生產廢水水量為20t/d,廢水主要來源于生產過程中的離心母液,離心廢水和洗滌廢水,廢水中COD高達20000mg/L,有機氮濃度高,無機銨根含量高。四氫亞胺生產是以四氫鄰苯二甲酸酐與尿素為原料,先將四氫鄰苯二甲酸酐加熱熔化后,再勻速加入尿素,兩者完全反應后的產物加入到去離子水中,進行加熱完全溶解,然后進行冷卻,冷卻析出晶體,然后離心脫水、洗滌并干燥,得到的白色固體為四氫亞胺,廢水主要來自于對析出晶體的離心分離出的廢水。由上可知,該生產廢水成分復雜,含多環芳烴和雜環化合物等生物難降解物質,并且高含鹽量、高COD和高氨氮,屬于高濃度難處理的有機廢水。
何苗研究表明,含氮雜環化合物在經厭氧酸化之后,表現出良好的可生化性。馮義彪研究表明,對于高濃度氨氮污水來說,可采用空氣吹脫法、蒸汽汽提法和MAP沉淀法進行預處理,回收氨產品以補償運行成本;對于中低濃度氨氮污水來說,可采用生物脫氮法、離子交換法和高級氧化法。許一平研究表明,通過階段性提高氯化鈉和氨氮濃度,將生活污水二沉池活性污泥馴化成為耐鹽硝化污泥。在進水NaCl含量為30mg/L的條件下,經過24h處理后,耐鹽硝化污泥可以將氨氮從100mg/L降解到15mg/L以下。
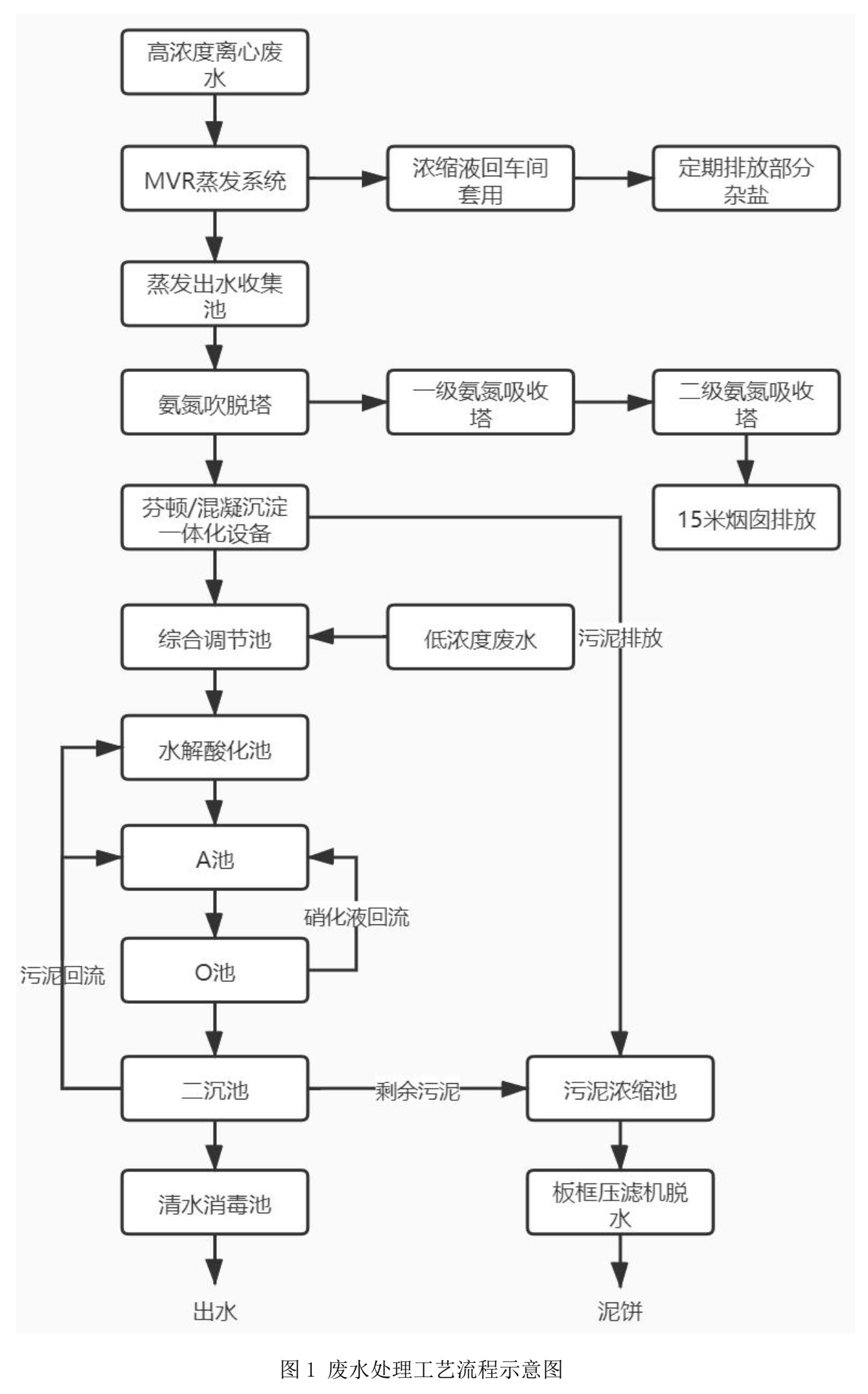
根據該廢水水質特性,采用的工藝方案為:高濃度廢水采用MVR蒸發脫鹽,降低其廢水含鹽量;蒸發出水通過氨氮吹脫去除水中的大部分氨氮,再采用Fenton氧化法預處理以降低廢水中難降解有機物的生物毒性。經預處理后的循環排污水和沖洗廢水、生活污水等低濃度廢水一起混合后進入生化系統,生化系統采用“水解酸化+A/O”處理工藝,出水指標均達到《化工行業水污染物間接排放標準》(DB41/1135-2016)表1標準。
1、設計水量及水質
根據濮陽縣某化工有限公司提供的廢水水量情況,通過物料衡算得出:高濃度離心廢水20t/d,COD為20000mg/L;鹽分20000mg/L;生活廢水2t/d,COD為200mg/L;車間排出沖洗廢水3t/d,COD為300mg/L;環保設施排水2.5t/d,COD為4000mg/L;水射真空泵排放廢水0.5t/d,COD為1000mg/L;根據生化處理進水水質要求,將高濃度工藝廢水進一步毒性削減和稀釋進入綜合調節池廢水,總計排放的廢水水量為30t/d。主要特點為高鹽分,高COD和高氨氮。高濃度廢水含有四氫亞胺產品中間體、產品原料等生物有毒害作用的特征因子,出水指標均達到《化工行業水污染物間接排放標準》(DB41/1135-2016)表1標準,設計進出水水質見下表1。

2、工藝流程及說明
生產綜合廢水處理工藝如下圖1所示。

2.1 預處理
先對四氫亞胺生產過程中產生的高濃度離心廢水進行蒸發,蒸發采用較為節能的MVR蒸發器,蒸發器初期時以濃縮為目的,濃縮出的母液可以回用到生產中套用,提高產品回收率,運行到一定程度離心廢水中含雜質成分較多是,再通過蒸發析出一定鹽分,保證套用母液的品質;蒸發后出來的二次蒸汽通過冷凝形成的蒸發出水進入后續處理,通過蒸發降低了廢水中的鹽分,同時大部分COD被去除,提高廢水的可生化性。為了保證母液回用的品質,廢水蒸發過程中不加入任何藥劑,使得蒸發出水氨氮含量較高,需要進行氨氮吹脫進一步降低,利用蒸發出水溫度較高的特性,直接進行吹脫不僅提高吹脫效率,還可以降低堿的用量,同時降低了水溫。經過氨氮吹脫后的廢水,進入Fenton氧化/混凝沉淀一體化設備,在芬頓反應區加入H2O2和硫酸,利用亞鐵離子作為催化劑產生高氧化能力自由基,以實現對難降解物質的深度氧化,降低生物毒性后進入生化系統。經過Fenton氧化處理后的廢水,進入混凝沉淀池,加入燒堿、PAC和PAM,通過對水中膠體粒子的壓縮雙電層作用、吸附架橋作用及沉淀物卷掃作用,使膠體顆粒脫穩,從而聚集、沉降而分離。
通過室內小試和現場調試,確定了氨氮吹脫的最佳pH在11,氣液比為3500:1,進入氨氮吹脫之前廢水中氨氮含量為600-800mg/L,氨氮吹脫塔出水氨氮含量為100-150mg/L,氨氮去除率約為80%;Fenton氧化的最佳pH在3,H2O2投加濃度為1‰,硫酸亞鐵(5%)投加濃度為1.2%,進入Fenton氧化之前廢水中的COD為800-1200mg/L,經過Fenton氧化和混凝沉淀后廢水COD為380-620mg/L,COD去除率約為50%。
2.2 生化處理
經Fenton氧化/混凝沉淀一體化設備的出水進入綜合調節池,與低濃度廢水混合以降低濃水COD,通過生活污水的補充,改善廢水中各類物質的平衡,提高廢水生化性。經調節的廢水進入水解酸化池,利用厭氧的水解、酸化前兩個階段將廢水中大分子有機物轉化成小分子有機物,提高后續好氧生化系統的去除效率。水解酸化池出水進入缺氧池(A池),缺氧池設置潛水攪拌器,通過潛水攪拌器,將回流的污泥、硝化液和廢水混合均勻,在缺氧條件下,反硝化菌利用部分有機物將硝酸鹽氮(NO3-)和亞硝酸鹽氮(NO2-)作為電子受體還原為氮氣,并且為硝化作用提供堿度。缺氧池出水進入好氧池(O池),好氧池內以分子氧為最終電子受體,進行有氧呼吸來氧化有機物,降低廢水中COD;同時在好氧環境下,硝化細菌將NH4+轉化為NO3-和NO2-,從而降低廢水中的氨氮。出水通過二沉池進行泥水分離,剩余污泥一部分回流,一部分進入濃縮池脫水,經壓濾機壓濾形成泥餅。二沉池出水進入清水消毒池,通過加藥裝置自動投加消毒藥劑,殺滅廢水中殘留的有害細菌和病毒,最終出水達標排放。
水解酸化池和好氧池內設置有生物填料,可有效提高生化池內的微生物總量;水解酸化池采用泵循環進行水力攪拌,底部設置布水管,保證廢水均勻通過生物填料層,提高處理效率;好氧池在充分曝氣的條件下,使廢水與附著在組合式生物填料上的微生物接觸,利用它的吸附、氧化作用來進一步降低COD。
3、設計特點
1)針對該廠廢水高鹽分的特點,釆用MVR蒸發方式,有效降低了鹽分和提高了可生化性,為后續單元減輕了負荷。
2)氨氮吹脫塔設置在MVR蒸發之后,有效利用蒸發出水的熱量,降低藥劑消耗,提高了吹脫效率,吹脫出的氨氣通過水吸收后,形成氨水,實現了資源回收。
3)Fenton氧化/混凝沉淀反應池采用一體化設備占地小,其操作簡單、反應快速、可產生絮凝,藥品用量小,有利于后續生化處理。
4)水解酸化池對COD去除效率低,其主要作用是將大分子有機物轉化成小分子有機物,改善廢水的可生化性,提高了廢水處理系統抗沖擊負荷能力。
5)好氧處理采用A/O組合形式,不僅能很好的去除COD、氨氮和總氮,還可以通過反硝化過程中產生的堿度,來補充硝化過程對堿度的需求,減少廢水中堿性物質的投加量,降低運行成本對。
6)水解酸化和好氧池中使用組合式纖維填料,該填料具有散熱性能高,阻力小,布水、布氣性能好,易長膜,機械強度高,又有切割氣泡和水流的作用。
4、主要構筑及參數
主要構筑物及參數見表2。

5、運行效果
本項目于2019年12月建設完成并完成了清水聯機調試,后因受到疫情影響,2020年5月份開始進廠調試,并投加濮陽市第一污水廠活性污泥,開始進行微生物馴化培養,2020年7月份出水經第三方檢測合格后移交業主。
原水COD濃度為20000mg/L、氨氮濃度為800mg/L、總氮濃度為1200mg/L,經過MVR蒸發處理后廢水COD濃度為1500mg/L、氨氮濃度為600mg/L、總氮濃度為650mg/L,經過氨氮吹脫后COD濃度為1500mg/L、氨氮濃度為100mg/L、總氮濃度為130mg/L,經過芬頓/混凝沉淀一體化設備處理后COD濃度為800mg/L、氨氮濃度為95mg/L、總氮濃度為130mg/L,經過綜合調節后COD濃度為600mg/L、氨氮濃度為80mg/L、總氮濃度為110mg/L,經過水解酸化池處理后COD濃度為490mg/L、氨氮濃度為95mg/L、總氮濃度為100mg/L,經過缺氧池處理后COD濃度為280mg/L、氨氮濃度為38mg/L、總氮濃度為42mg/L,經好氧池處理后COD濃度為100mg/L、氨氮濃度為10mg/L、總氮濃度為37mg/L。
6、投資運行成本
本項目總投資約380萬元,其中MVR蒸發設備投資250萬元,其他污水處理設備部分投資80萬元,土建構筑物及車間投資50萬元。不含MVR蒸發費用,噸水處理成本為3.7元;包含MVR蒸發費用,噸水處理成本為63.7元。
7、結論
1)采用蒸發-氨氮吹脫-Fenton氧化-水解酸化-A/O組合工藝處理高鹽分、高COD和高氨氮精細化工生產廢水,COD去除率99.5%,氨氮去除率98.8%總氮去除率97%。出水水質均優于《化工行業水污染物間接排放標準》(DB41/1135-2016)表1標準。
2)廢水先經過蒸發處理后,有效降低了廢水中的鹽分,再配合氨氮吹脫,可大幅去除水中的氨氮、總氮污染物。
3)Fenton氧化可實現了難降解的含氮雜環物質的深度氧化,顯著提高了廢水的可生化性且為后續單元減輕負荷。
4)通過水解酸和+A/O處理工藝,能進一步去除廢水中的COD、氨氮、總氮等污染物,對高氨氮廢水要注意監測處理過程中好氧池(O池)中pH的變化規律,在pH低于7.2時要及時補充堿度。(來源:河南海天環境科技有限公司)



