超聲波是一種清潔、無二次污染的高級氧化技術能有效改善污泥脫水性能并促進污泥減量,在污泥預處理中逐漸受到重視。超聲波作為壓力波通過介質傳播并且通過聲波引起分子的振動。超聲波作用于液體時會產生局部負壓,在該狀態下微小氣泡急劇生長并崩潰,瞬間產生局部高溫高壓并釋放出巨大的能量,可增加兩相接觸面積,促進反應物之間的均勻混合并提高反應速率,這就是超聲空化效應。為進一步探究超聲波由空化效應所產生的化學效應,由美雁等研究了超聲波作用于污泥過程中所產生的過氧化氫(H2O2)含量,驗證了超聲波化學效應的存在。超聲聲能密度(或功率、比能)、頻率和作用時間均可對污泥脫水特性產生不同程度的影響,破碎污泥絮體和微生物細胞的結構,使污泥絮體的間隙水和表面水釋放為自由水,以便于水分脫除。表征污泥中顆粒特征的參數主要包括形貌、物理結構、絮狀物粒徑分布、分形維數與絲狀指數等,可以有效的衡量出污泥的脫水特性。粒徑分布可準確描述不同調質方法處理后污泥顆粒大小及分布范圍,而分形維數作為圖像表面不規則程度的度量是污泥絮體結構的重要特征之一,可有效表明調質處理后污泥的聚集形態,是反映污泥脫水特性的重要參數。分形結構是活性污泥絮體的重要特征之一,分形維數的準確描述對于絮凝動力學過程模擬至關重要。
基于超聲波應用于污泥預處理的高效性,能有效改善污泥脫水性能并促進污泥減量,對超聲波聲強及其對污泥脫水特性的影響進行深入研究。利用2種不同結構的超聲波設備,通過聲強變化反應空化效應的強弱,利用碘量法定量分析了超聲氧化性的變化。以市政污泥為研究對象,根據聲強及氧化性的測定分析了超聲波對污泥含水率、顆粒粒徑及分形維數變化的影響。
一、材料與方法
1.1 實驗材料與裝置
實驗所用的污泥為某污水處理廠經過二級處理后的活性污泥,其含水率為98.49%。研究中使用2種形式超聲波設備,第1種設備的有效尺寸為400mm×100mm×100mm,超聲波換能器由6個雙頻(25,45kHz)壓電換能器并聯組成放置于槽體底部,第2種設備的有效尺寸為200mm×100mm×100mm,在槽體側面寬度方向有2個相對的換能器(25,45kHz),在槽體側面長度方向有3個為1組的換能器相對放置。實驗裝置還包括XO-1000D型探頭式超聲波細胞破碎儀、YCSQ2060型數字超聲波聲強測量儀、UV-2600型紫外分光光度計、HC103水分測定儀、馬爾文激光粒度儀Mastersize2000。實驗所用藥品H2O2、碘化鉀、鉬酸銨均為分析純。
1.2 實驗方法
(1)聲強測試:對2種超聲波設備在45kHz下進行聲場分布測量比較,通過公式(1)對實測聲強和聲壓之間進行計算轉換:

式中:P為聲壓,Pa,I為聲強,W/m2,籽為密度,kg/m3,c為聲速,m/s。
以去離子水、含水率99.69%的污泥、含水率96.10%的污泥為介質測量聲強變化,以去離子水為介質的條件下進行軟件模擬與實測聲壓值的比較。
(2)超聲氧化性測定:燒杯中定量加入碘化鉀和鉬酸銨,分別改變超聲時間、功率和污泥處理量,取處理前后的污泥上清液過濾后于351nm處測吸光度,根據吸光度計算H2O2濃度。
(3)污泥脫水特性研究:使用探頭式超聲波細胞破碎儀在不同超聲時間、功率、處理量下處理污泥并測定抽濾后的含水率。每組實驗重復2次后取平均值。使用馬爾文激光粒度儀測定超聲處理后的污泥粒徑并計算分形維數。
二、結果與討論
2.1 聲強分布規律
2.1.1 不同形式超聲波設備對聲強的影響
2種超聲波設備的聲壓等值線圖見圖1、圖2。由圖1、圖2可以明顯看出第2種超聲波設備的能量更集中且聲壓分布更為均勻。在一定范圍內能量越集中空化氣泡及氣泡破裂時產生自由基的數量就越多,剪切力也越大,對打破污泥的聚集狀態越有效。


2.1.2 模擬與實驗對比
使用軟件建立了上述2種超聲波設備模型并以水為介質進行了聲壓模擬,其聲壓等值面圖見圖3。

第2種超聲波設備聲能更加集中且其最大值可達到4.2×105Pa,產生的空化效應比第一種更強,這與能量輸入方式及在液體中的衰減有關。對不同超聲波設備分別取點對比模擬值與實測值發現,兩者誤差相對較小且變化規律極為相似。見表1。

2.1.3 介質作用對聲強的影響
為探究不同介質對超聲聲強的影響,對設備進行布點并比較3種介質下聲強測試結果,聲強受介質作用影響顯著,超聲波在液體中的傳質效率高于固體,相同超聲條件下固體對超聲波聲強有衰減作用。見表2。

2.2 超聲氧化性測定
超聲波作用于液體時由于空化效應會產生局部高溫高壓,從而產生羥基自由基。自由基之間相互結合后生成H2O2,反應方程式見(2),(3)。因此可以通過測定溶液中H2O2含量從而間接測定超聲作用產生的自由基的量,進而評定超聲氧化性的強弱。

采用碘量法測定H2O2的方程式見(4),(5):

根據H2O2的變化量定量分析了不同條件下超聲氧化性的變化,實驗結果見圖4。


由圖4可以看出,隨超聲時間的增加,H2O2產量呈先上升后下降趨勢且在150s處達到最大值。這是由于羥基自由基的生成和湮沒是一個動態反應過程,超聲150s時該反應基本達到平衡狀態,因此超聲時間為150s時空化效應最強。
在相同的超聲時間下,功率小于450W時,羥基自由基的產量隨著功率的增加而增加。這主要是由于進入反應器的能量增加,空化氣泡的數量增加,使得空化效應裂解水分子產生的羥基自由基也增多,說明超聲功率的增強對自由基的產生具有促進作用。當功率大于450W時,功率繼續增加反應平衡狀態被打破致使空化效應降低。
不同污泥處理量下H2O2濃度呈先上升后下降趨勢。當超聲作用時間和功率一定時,在污泥溶液中超聲產生的空化強弱導致單位體積羥基自由基的變化。當超聲波能量過大時,產生的過量空化氣泡會成為整個液體傳遞聲能的屏障,降低聲化學效應。
綜上所述,不同條件下H2O2濃度的變化直接反映了實驗過程中羥基自由基的產量,從而反映了不同超聲時間、功率、處理量下空化效應的強弱。在超聲時間為150s、功率為450W、處理量為100mL時空化效應是最強的。
2.3 污泥脫水特性研究
2.3.1 污泥含水率分析
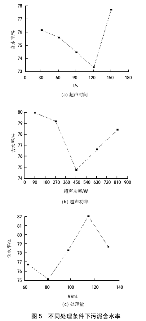
污泥含水率是其脫水特性的直接表征手段,因此在對超聲氧化性研究的基礎之上分析了超聲時間、功率、污泥處理量對污泥含水率變化的影響,實驗結果見圖5。

由圖5可以看出,作用時間小于150s時污泥含水率呈先下降后上升趨勢且在120s處含水率最低為73.28%,脫水時加入50mg/L的PAC溶液,攪拌靜置分層,去除上清液后抽濾。隨時間的增加超聲空化效應對污泥的破解作用增強,污泥絮體顆粒減小同時微生物細胞壁被打破,使得更多的間隙水以及部分內部結合水轉化為自由水易于脫除。但超聲時間過長會使得溶液粘度升高過濾性能惡化,導致抽濾時間增加。
超聲功率為90~450W時,經過抽濾后污泥含水率明顯降低,可降至74.75%。但是超聲功率繼續增加至810W時,污泥含水率呈上升趨勢。其原因是,在一定范圍內超聲功率越大空化效應越強,使得污泥中絮體結構被破壞后釋放出結合水。但功率過大同樣會降低污泥的脫水性能。功率在超聲處理污泥過程中起到了非常重要的作用,450W時不僅氧化性最強,對污泥脫水特性的影響也最大。
處理量為60~80mL時污泥含水率明顯降低,可降至75.12%。但是處理量為80~120mL時污泥含水率呈上升趨勢,從75.12%增大至81.75%。處理量過低導致超聲聲能密度過大,產生聲屏蔽效應從而降低脫水率,處理量過高時使得聲能量密度較小,難以達到最佳處理效果。
2.3.2 污泥粒度測試及分形維數分析
使用馬爾文激光粒度儀對污泥顆粒進行測試,得到粒度分布曲線見圖6。

從圖6中可以看出,超聲時間為30~120s時污泥顆粒粒徑逐漸減小,但隨著超聲時間的繼續增加,粒徑在6~8μm之間波動但變化不明顯。表明此時繼續增加超聲時間對其改變不再有明顯作用。綜上所述,超聲空化作用對分散污泥效果顯著,通過分析超聲時間、功率對污泥含水率的影響及污泥粒徑分布結果可知污泥粒徑在6~7μm范圍內脫水效果最好。不同超聲條件下的篩下累積產率見表3。

在雙對數坐標系下做粒度-篩下累計產率圖,擬合后得到其斜率值b,可根據公式D=3-b[20]計算出污泥的分形維數D值,見表4。分形維數D表征了污泥的圖像特征,D越大污泥的聚集程度越高。由表4可知,超聲時間120和180s時污泥粒徑最小且聚集程度最高。分析以上實驗結果可得到在超聲時間為120s、功率為450W時,污泥脫水效果較好。

三、結論
(1)對比不同空間點處超聲波設備聲強變化得出反應腔尺寸及換能器分布形式不同,聲壓分布不同,使得液體中產生空化作用的強度不同。
(2)對超聲波產生H2O2含量測定得出在超聲時間為150s、功率為450W、處理量為100mL時,超聲波產生H2O2含量最高即超聲的氧化性最強。
(3)通過進行超聲波處理污泥實驗得出空化效應對促進污泥脫水具有積極作用,經超聲波處理后污泥的聚集狀態明顯改變,顆粒粒徑變小且在6~7μm時有益脫水。(來源:北京工業大學環境與能源工程學院;北京石油化工學院環境工程系)


