在傳統污水處理中,對含氮污染物的去除主要通過硝化反硝化技術,但存在需要外加碳源、耗能多等諸多弊端,而短程硝化反硝化具有可節省25%的曝氣能、減少40%的有機碳源、降低剩余污泥等優勢,更為重要的一點是,如果短程硝化與厭氧氨氧化 (anaerobic ammonium oxidation,ANAMMOX) 工藝結合,將更具有優勢,短程硝化為ANAMMOX反應提供反應基質——NO2--N,后續ANAMMOX菌以NO2--N為電子受體,與NH4+-N一起轉化為氮氣,實現自養脫氮.目前,全世界已經建立超過100座應用該工藝的污水處理廠,短程硝化的應用越來越廣泛.
實現短程硝化的方法有控制溫度、溶解氧(dissolved oxygen,DO)、游離氨(free ammonia,FA) 等.其中控制FA是重要的一種方法,許多短程硝化研究通過控制FA實現,其原理是利用FA對氨氧化細菌 (ammonia-oxidizing bacteria,AOB) 和亞硝酸鹽氧化菌 (nitrite-oxidizing bacteria,NOB) 的抑制濃度不同,且NOB更為敏感的特點,在啟動初期,控制FA實現短程硝化非常有效,但由于NOB會逐漸對FA產生適應性而最終導致短程硝化失效.很少有學者研究短程硝化失效后,尤其在生物膜反應器中,失效后嘗試恢復短程硝化的過程.即,當NOB適應高濃度的FA,嘗試再次建立短程硝化并穩定的過程,這對于短程硝化的穩定實現、以及后續可能的厭氧氨氧化工藝段具有重要意義,沒有穩定的短程硝化,也就無法穩定運行后續的厭氧氨氧化.
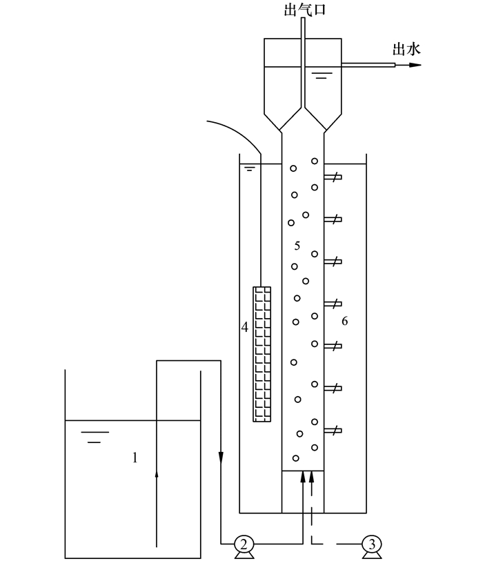
1 材料與方法1.1 試驗裝置
反應器由有機玻璃制成,有效容積為5.90 L,內部裝有改性聚乙烯填料,填料為圓柱形,圓柱內部有支撐,側邊沿不同徑向伸展許多尾翅用于增加填料的比表面積,直徑約10 mm,高度約8 mm,密度約為0.96 g ·cm-3.廢水由反應器底部進入,由上部出水口排出,試驗裝置如圖 1所示.曝氣量通過轉子流量計控制.反應器內的溫度通過水浴調節,恒溫加熱棒控制水溫,使反應器溫度在30℃±1℃.反應器內pH控制在7.80~8.12之間.

1.原水水箱;2.進水泵;3.空氣泵;4.恒溫加熱棒;5.改性聚乙烯填料
圖 1 反應器試驗裝置及工藝流程示意
1.2 試驗用水
試驗用水采用人工配水,配水由自來水中添加適量的NH4Cl、NaHCO3與KH2PO4配置而成.進水中沒有額外添加有機物,即試驗用水為無機高氨氮廢水.水箱沒有密封,大氣中氧氣會不斷溶解到原水中,造成原水中的部分NH4+-N被氧化成NO2--N,進水在一個配水周期內,NO2--N濃度會逐漸攀升,最高可到10 mg ·L-1;自來水本身含有的NO3--N是原水中NO3--N的主要來源.原水水質的主要指標如表 1所示.
表 1 反應器的原水水質
1.3 分析項目及檢測方法
NH4+-N:納氏試劑比色法;NO2--N:N-(1-萘基)-乙二胺光度法;NO3--N:紫外分光光度法;pH值:pHTestr30型pH計;溶解氧:Multi350i型溶解氧儀;TN按下式計算:TN=(NH4+-N)+(NO2--N)+(NO3--N);溫度:水銀溫度計;FA通過式 (1)計算;亞硝酸化率 (nitrite accumulation rate, NAR) 通過式 (2)計算.

式中,[NH4+-N]表示NH4+-N濃度 (mg ·L-1),T表示溫度 (℃).

式中,ΔNO2--N表示出水NO2--N濃度與進水NO2--N濃度之差,ΔNO3--N表示出水NO3--N濃度與進水NO3--N濃度之差.
1.4 試驗方法
反應器接種污泥來自于本實驗室內SBR反應器的普通活性污泥.為了研究短程硝化恢復過程,首先采用調整大曝氣量的方式,控制DO在5.0 mg ·L-1以上,破壞原有短程硝化至本試驗開始時,短程硝化幾乎被完全破壞,NAR僅為13%.此后,通過控制FA、DO、溫度和曝氣方式等嘗試重新建立短程硝化.
根據進水NH4+-N濃度將試驗過程分為3個階段:第1階段 (1~214 d),進水NH4+-N濃度在200 mg ·L-1左右;第2階段 (215~406 d),進水NH4+-N濃度在300 mg ·L-1左右;第3階段 (407~468 d),進水NH4+-N濃度在400 mg ·L-1左右.
2 結果與討論
試驗運行過程中的進水流量與曝氣量如圖 2所示,NH4+-N與FA、NO2--N與NAR、NO3--N、TN的變化分別如圖 3~6所示.

圖 2 反應器各階段進水流量和曝氣量的變化

圖 3 反應器NH4+-N濃度、去除率及FA的變化

圖 4 反應器NO2--N濃度及第1階段NAR的變化

圖 5 反應器NO3--N濃度的變化

圖 6 反應器TN濃度及去除率的變化
2.1 第1階段
反應器在第1階段運行初期 (1~84 d),控制DO在0.5mg ·L-1以下,溫度維持在30℃,FA在1.5 mg ·L-1以上,最高可達到7.77mg ·L-1,在這種情況下非常容易建立短程硝化. FA對NOB和AOB的抑制濃度分別為0.1~1.0 mg ·L-1和10~150 mg ·L-1,當FA達到6 mg ·L-1時幾乎可完全抑制NOB的生長,此時的FA濃度遠遠高過NOB的抑制濃度.如圖 3所示,在這個過程中,為保證較高FA濃度,NH4+-N去除率基本控制在50%以下,但NAR一直比較低,都在50%以下,如圖 4所示.出水NO2--N仍然沒有顯著積累,說明NOB已經對高濃度的FA產生了適應性. 78~84 d,NAR甚至為0.
此外,在此過程中,DO控制在0.5mg ·L-1以下,溫度在30℃. Laanbroek等和楊學志等的研究表明,低DO (0.2~0.5 mg ·L-1) 下AOB對DO的親和力較NOB強;Hellinga等發現短程硝化的適宜溫度為30~35℃.但是,在諸多有利條件下,始終沒有再次建立短程硝化.可能的原因是,由于采用生物膜,附著在填料上的NOB不能被及時淘洗出,且由于NOB對FA產生了適應性及其他環境因素,造成短程硝化無法恢復.
85d,嘗試采用間歇曝氣方式來實現短程硝化,在連續流反應器中是連續進氣14 h,停止10 h,持續3 d.通過圖 4可以發現,出水NO2--N出現明顯積累,NAR達到6.8%,至87 d時,NAR達到24.5%,這表明間歇曝氣對于短程硝化有正面影響,此后,恢復為連續曝氣狀態,但NAR也在一直波動,并在隨后接近為0,為了進一步驗證這一規律,在142 d時,再次改為間歇曝氣,停止曝氣時間8 h,果然又出現了NO2--N積累的情況,NAR達到26.4%,可見,在其他常規條件恢復短程硝化失效的情況下,采用間歇曝氣是一個有效的方法.
間歇曝氣有效的原因可能有二:其一,缺氧環境下AOB和NOB的活性均受到抑制,氨氧化過程受阻,而一旦恢復曝氣,經歷長期“饑餓”的AOB可以更多地利用氨產能大量增殖,而NOB不能很快恢復活性;停曝還會使系統中出現厭氧環境,這種低溶解氧的條件也有利于AOB對基質的競爭,并且曝停時間比越小越有利于抑制NOB的生長.其二,這個過程也有可能導致FA的進一步升高,間歇曝氣后,FA濃度大幅度增加至5.02 mg ·L-1,盡管NOB對于一定濃度的FA抑制產生了適應性,但是高濃度的FA還是可能對于NOB產生選擇性抑制. Zhang等研究表明在高NH4+-N濃度 (200 mg ·L-1) 下NOB活性明顯抑制;委燕等發現在添加高濃度NO2--N (340 mg ·L-1) 時,NOB活性降低了83.57%;Wang等通過人為向CANON系統中添加NH2OH, 實現NOB的抑制,另外,有的研究者發現通過添加NO或者N2H4能夠降低NOB的生長速率.間歇曝氣的方式抑制NOB與上述幾種方式相比具有優越性:其一,控制曝氣方式不受進水水質的影響;其二,間歇曝氣非常容易操作,無論實驗室還是實際應用中都容易實現.經過一段時間的正常運行,從圖 5可以看出出水NO3--N濃度逐漸下降,而NAR也逐漸上升,表明NOB在生物膜系統中逐漸喪失優勢.
需要說明的是,NAR在179 d達到40.8%后,又繼續下降,如圖 4所示.從圖 6可以看出,142 d以后TN去除率也小幅度提高,由于本試驗采用無機高NH4+-N廢水,反硝化作用和微生物生長繁殖去除總氮有限,據此推測該反應器可能存在厭氧氨氧化脫氮效果. ANAMMOX菌的作用,導致NAR已經不能代表真正的亞硝酸化 (關于這一點,將在2.4節進一步闡述),因此,NAR在圖 4中,只給出了第1階段數據.事實上,在生物膜系統中,在NH4+-N和NO2--N同時存在,且無有機碳源,而生物膜內部存在厭氧條件,為ANAMMOX菌生長提供了必要條件.
2.2 第2階段
將進水NH4+-N濃度提高到約300 mg ·L-1,NH4+-N去除率先降低后升高,從80.96%下降到41.22%,大約10 d后又升高到70%左右,此后,NH4+-N去除率有所波動,但在本試驗中,并未刻意追求較高NH4+-N去除率,造成了相對較高的FA濃度,由于微生物對較高濃度的FA產生較強適應性,所以并未對反應器的性能造成影響,到295 d時,出水NH4+-N濃度降到較低水平,NH4+-N去除率約在80%以上.從圖 3~5可以看出,提高進水負荷后,NH4+-N去除率很快恢復原來的水平,NO2--N沒有過多積累,進一步推斷AOB和ANAMMOX菌在其中起了較大的作用;出水NO3--N濃度略有升高,這與生物膜中還存在少量NOB有關,并且在其中生存下來的NOB對FA有了更強的適應性,所以在NH4+-N濃度改變時,其作用效果比較明顯,使得NO3--N濃度略有上升,如圖 5所示;NO2--N和NO3--N出水濃度也逐漸降低,TN去除率逐漸升高,從31.10%提高到78.83%,并最終趨于穩定,TN去除率在75%左右.此時,該反應器已經具有了顯著的厭氧氨氧化特征.
為了進一步驗證該生物膜反應器的脫氮性能,在311 d時,將進水負荷增加一倍,從圖 3和圖 6可以看出,由于進水負荷的加大,去除基質的總量是一定的,所以出水NH4+-N和TN濃度上升,NH4+-N和TN去除率明顯下降,但是如圖 4和圖 5出水NO2--N和NO3--N濃度并沒有波動,TN去除負荷[0.68 kg ·(m3 ·d)-1]也沒有下降.由此可見,在增大進水負荷后,反應器并沒有受到太大影響,并且很快適應,NH4+-N去除率達到70%以上,TN去除率也恢復到60%以上,去除負荷穩步提高,TN去除負荷最高達到1.06 kg ·(m3 ·d)-1.
2.3 第3階段
進一步提高進水NH4+-N濃度在400mg ·L-1后,由圖 3和圖 6可以看出,這一階段提高NH4+-N濃度后反應器變化和第二階段明顯不同,第二階段改變進水NH4+-N濃度后,NH4+-N和TN去除率都出現較大波動,經過短期的適應恢復并有所提高.但是此次改變卻沒有引起較大波動,這是由于此時達到較多生物量,如圖 7所示,填料內部已經充滿了紅色的生物膜,這是ANAMMOX的典型特征之一.

圖 7 填料掛膜前后的變化
在鑒別反應器中是否存在ANAMMOX現象時,通常在厭氧條件下以NO2--N與NH4+-N同比例去除為標志[式 (3)],但在CANON反應器中,由于存在好氧條件,NO2--N來源于NH4+-N的氧化,不僅ΔNO2--N無從知曉,ΔNH4+-N也反映了AOB與ANAMMOX菌共同作用的結果.因此,判定CANON反應器中是否存在ANAMMOX現象,也不宜采用ΔNO2--N/ΔNH4+-N為衡量指標.但是,通過式 (3) 可以發現,ΔNO3--N/ΔTN應該趨于一個定值,其理論穩定值可通過ANAMMOX的理論反應方程[式 (3)]計算得出,即ΔNO3--N/ΔTN=026/(1.02×2)≈0.127,這是CANON反應器中判定ANAMMOX反應存在的又一特征.由圖 8可以看出,反應器在第1階段 (1~214 d)ΔNO3--N/ΔTN變化非常大,經歷了先升高后降低的過程,并逐漸在第1階段后期,逐漸穩定,但TN去除率與TN去除負荷有限;至第2、3階段時,TN去除負荷也逐漸上升,而ΔNO3--N/ΔTN更加穩定,均低于理論值0.127,結合ANAMMOX的紅色特征,可確認反應器存在ANAMMOX細菌,即短程硝化工藝已經轉化為CANON工藝.


圖 8 ΔNO3--N/ΔTN及去除負荷的變化
在運行到450 d時,加大進水量,使其進水負荷增加原來的一半左右,從圖 3~6看來,出水NH4+-N、NO2--N、NO3--N濃度均未出現大的波動.面對較強的負荷沖擊并沒有對其造成影響,并且在較短時間去除負荷增加一倍 (圖 8).這是由于改性聚乙烯填料覆蓋了較厚生物膜,內層能夠保持厭氧環境,ANAMMOX菌占有優勢,即使后期提高曝氣量也不會對其產生較大影響.雖然TN去除率還是維持在50%~60%,但是其去除負荷大大提高,TN去除率達到64.03%,去除負荷高達2.52 kg ·(m3 ·d)-1,此值大于許多同行的研究結果,由此看出該生物膜反應器已經具有較高總氮去除負荷和較強的抗沖擊能力.
2.4 短程硝化分析
在獨立的短程硝化反應器中,通常采用NAR來表述亞硝酸化水平,如2.1節所示.但隨著反應器的運行,短程硝化逐漸轉變為CANON反應后,NAR無法繼續使用.一方面,產生的NO2--N會迅速為ANAMMOX菌所利用;另一方面,還會產生少部分NO3--N.當CANON反應器中的短程硝化被破壞,NO2--N會被進一步氧化成NO3--N,使ΔNO3--N增加,而ΔTN會因為NO2--N減少而減少,ΔNO3--N/ΔTN會增加,反之亦然.因此,ΔNO3--N/ΔTN是否趨于穩定,趨于或小于0.127,也可作為CANON工藝中短程硝化是否穩定的一個指示指標.當然,在實際的CANON反應器中,可能會由于部分NO3--N參與內源反硝化而導致ΔNO3--N/ΔTN稍微偏低.
第1階段,在ΔNO3--N/ΔTN相對較低,但其中的TN損失主要源于硝化反硝化,且此值在前80 d平均為1.03,依然遠大于0.127,短程硝化并不穩定.此后,短程硝化更加不穩定,在109 d時,ΔNO3--N/ΔTN高達39.68,短程硝化完全失效,此后,此值開始逐漸下降;第2階段,在215 d,ΔNO3--N/ΔTN為0.93,此后,該值在波動中繼續下降,至405 d,該值進一步降低至0.11,低于0.127,顯示此時,短程硝化已經趨于穩定;至第3階段,ΔNO3--N/ΔTN比值在0.10左右,顯示反應器中的短程硝化在這個過程中非常穩定.
本反應器能夠恢復建立短程硝化并最終穩定的原因,一方面,在于通過調控間歇曝氣,開始逐步恢復短程硝化性能,另一方面,在生物膜系統中,內部存在厭氧條件,適宜的NO2--N與NH4+-N存在為ANAMMOX菌是生長準備了適宜的條件,隨著ANAMMOX菌的逐漸生長,ANAMMOX菌開始強化與NOB對于NO2--N的競爭,形成了對NO2--N “疏”而不是“堵”的積累策略,導致了短程硝化工藝的恢復與最終穩定.具體參見污水寶商城資料或http://m.dongaorq.cn更多相關技術文檔。
3 結論
(1) 在NOB對于FA的抑制產生適應性后,控制DO在0.5mg ·L-1以下,溫度在30℃,FA在1.5mg ·L-1,仍然沒有恢復短程硝化,間歇曝氣是恢復短程硝化的有效手段.
(2) 生物膜短程硝化經過長時間運行,為ANAMMOX菌提供必要的基質和生存條件,發生厭氧氨氧化作用,其結果朝著CANON的方向轉化,這最終幫助實現了非常穩定的短程硝化.
(3) 本反應器經過間歇曝氣后,運行256 d,在溫度30℃±1℃,pH為7.96,DO為3.87的條件下,以改性聚乙烯為填料的CANON生物膜反應器的TN去除負荷最高達2.52kg ·(m3 ·d)-1.



