二氧化氯是自然界中幾乎完全以單體游離原子團型體存在的少數化合物之一, 氯原子的標準氧化態是+4 價.二氧化氯氣體易溶于水, 在陰涼、避光和密封的條件下是非常穩定的.二氧化氯的氧化還原電位為1.511 V , 在典型的單電子轉移過程而生成ClO²﹣ , 此時單電子過程的氧化還原電位為0.95 V.
ClO²﹣ + e﹣=ClO²﹣
二氧化氯具有很強的反應活性和氧化能力, 在水處理的條件下可與很多的有機化合物反應.二氧化氯與酚類化合物、多環芳烴中的蒽、菲、苯(a)并芘和苯(a)并蒽、有機硫化物(如甲硫醇、硫醚和二硫化物)、脂肪胺(如仲胺、叔胺)、芳香胺(如苯胺、二甲基苯胺)、不飽和化合物(如多數烯烴、環乙烯、油酸甲脂)、酮醛類化合物、少數氨基酸和農藥中的對硫磷、殺蟲劑魚藤酮以及腐殖酸HA 和黃腐酸FA 等在水處理條件下或特定條件下反應.在一些實際工程中已有應用報道 .二氧化氯不與脂肪族和芳香族碳氫化合物、羧酸RCOOH(其中R 為飽和烷基)、醇類、一些不飽和羧酸、N —雜環化合物和有機氯農藥等反應.
煤焦油又名水柏油、臭油, 是由煤經過干餾而得到的油狀產物, 褐色至黑色.有高溫煤焦油、中溫煤焦油、低溫煤焦油等.煤焦油主要用作膠粘劑和防腐涂料.其中釋放出來的多環有機物具有強致癌性.含有C8 到C16的脂肪烴和芳香烴以及一些氣態有機化合物.還含有硫基團(硫基, 硫氰基)和含氧基團(羥基, 醛基和羧基等).這些發臭基團形成難聞的瀝青氣味.
1 實驗儀器和試劑
1.1 實驗儀器
1)二氧化氯發生器
2)UV -1601 可見-紫外分光光度計;
3)01 -1 型干燥器;
4)99.99 %的氮氣瓶;
5)086 -電熱恒溫水浴鍋;
6)pHS -3C 型精密pH 計;
7)溫度計;
8)電爐(1 500 kW);
9)其他玻璃儀器.
1.2 主要試劑
二氯甲烷, 煤焦油, 磷酸鹽緩沖溶液(pH =7),碘化鉀, 硫代硫酸鈉, 濃鹽酸, 淀粉, 重鉻酸鉀(以上試劑均為分析純).
1.3 試劑配制
1)煤焦油-CH2Cl2 標準溶液的配制
用電子天平稱取0.0845 g 純煤焦油, 溶于CH2Cl2 中, 然后移入100 mL 容量瓶.稀釋至刻度線, 則此溶液的質量濃度為0.845 mg/L .然后用聚四氟乙烯生料帶密封作為標準溶液置于冰箱中.
2)二氧化氯水溶液
將二氧化氯氣體溶于蒸餾水中, 配成高質量濃度二氧化氯水溶液, 置于棕色瓶中, 低溫、避光、密封保存、使用時準確測定并稀釋至所需質量濃度.
3)1 %淀粉指示劑的配制
用天平稱取1 g 的可溶性淀粉, 用少量水調成糊狀, 在用剛煮沸的水沖釋至100 mL .冷卻后, 加入0 .4 g 氯化鋅防腐.
4)硫代硫酸鈉溶液的配制
稱取6.9 g 硫代硫酸鈉(Na2S2O3·5H2O)溶于煮沸放冷的水中, 加入0.2 g 碳酸鈉, 用水稀釋至1 000 mL .貯于棕色瓶中, 使用前用0 .025 mol/L 重鉻酸鉀標準溶液標定 .
5)0.025 00 mol/L 重鉻酸鉀溶液的配制
稱取一定量的重鉻酸鉀于干燥箱中, 溫度為105 —— 110 ℃, 烘干2 h , 取出放在干燥器中, 稱取冷卻的重鉻酸鉀1.225 8 g , 溶于水, 移入1 000 mL 容量瓶中, 用水稀釋至刻度線, 搖勻.
2 分析方法
2.1 碘量法測定二氧化氯
采用連續碘量法測定水中的二氧化氯 .
2.2 煤焦油標準曲線的繪制
分別取標準溶液0 , 0.2 , 0.4 , 0.6 , 0.8 , 1.0 ,1.2 mL 煤焦油溶于1 000 mL 水中, 其水溶液質量濃度分別為0 , 0.169 , 0.338 , 0.507 , 0.676 , 0.845 和1.014 mg/L .按上述流程測定其吸光度值見表1 , 并繪制標準曲線如圖1 所示
表1 標準溶液的吸光度


圖1 煤焦油的標準曲線
2.3 煤焦油吸收峰的確定
取標準的煤焦油分別配制成4 mg/L 的煤焦油-二氯甲烷溶液.使用長度為1 cm 石英比色皿, 用氫弧燈等作光源, 在紫外光區測定其吸收光譜.見圖2 .由圖2 可見, 煤焦油的二氯甲烷溶液在紫外光區產生3 個比較明顯的波峰, 分別在226 —— 232 ,254 , 290 nm 處.當二氯甲烷從水中把煤焦油萃取出來, 分別在228 nm 和254 nm 處測定吸光度值時,在228 nm 處其吸光度值不停的變化, 變化范圍在0.3 之間, 而在254 nm 處則不存在這樣的現象.所以選254 nm 作測定波長.

圖2 煤焦油的UV 吸收光譜
3 實驗結果
3.1 ClO2 投量對水中煤焦油的去除效果影響
ClO2 與煤焦油反應1 h 后, 投加稍過量的Na2SO4·5H2O , 然后分別測定對應的吸光度值, 并由標準曲線求得水中煤焦油的剩余量, 同時計算其去除率, 其結果見表2 和圖3 .以下水樣中煤焦油質量濃度均為0.845 mg/L .
表2 二氧化氯的投量對煤焦油的去除率影響


圖3 二氧化氯的投量對煤焦油去除效率影響
從圖3 可以看出, 在起始階段, 隨著二氧化氯投量的增加, 去除率也在增大, 兩者成線性關系.二氧化氯的投量達到3.544 mg/L 的時候, 煤焦油的去除率達到最大值32 %, 當二氧化氯投量繼續增大時, 去除率不再發生變化.
3.2 反應時間對煤焦油去除效果的影響
1)加入二氧化氯用量筒準確量取1 000 mL 的蒸餾水, 倒入梨形漏斗中, 然后用1 mL 移液管量取煤焦油—CH2Cl2 1 mL 溶于水中, 再用10 mL 的移液管移入4 mLClO2(0.886 mg ClO2/L), 劇烈振蕩10min , 靜置反應15 min .
2)萃取和測吸光度過程同上.
3)重復步驟1 .2 , 二氧化氯與煤焦油分別反應20 , 30 , 45 , 60 , 90 , 120min 后, 測定吸光度, 計算方法同上, 其結果見表3 和圖4 .
表3 反應時間對煤焦油的去除率影響


圖4 反應時間對煤焦油去除效率影響
從圖4 可見, 隨著反應時間延長, 煤焦油的去除率不斷增加.反應前幾十分鐘里, 煤焦油的質量濃度下降較快, 45 min 后比較平緩.最大的去除率達到31.9 %.
可見, 煤焦油廢水的去除效果受反應時間的影響不明顯, 二氧化氯能夠在短時間內與煤焦油反應完畢, 但對煤焦油的去除效率不是很高.
3.3 反應溫度對煤焦油去除效果的影響
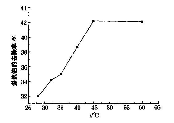
取0.845 mg/L 的煤焦油水樣1 000 mL 共6組, 分別移入1 000 mL 分液漏斗中, 投加4 mL ClO2(886 mg ClO2/mL), 混合均勻(約10 min), 然后分別在28 、32 、35 、40 、45 、60 ℃水浴中加熱, 靜置45 min后, 分別測定吸光度值, 并分別算出剩余煤焦油質量濃度和去除率.其結果見表4 和圖5 .
表4 反應溫度對煤焦油的去除率影響

圖5 表明, 溫度對煤焦油的去除有一定的影響.溫度越高, 煤焦油的去除率越大, 比常溫下高出了10 %.但是當溫度升高到45 ℃以后, 再提高溫度, 去除率也不會增加, 說明二氧化氯與煤焦油的反應已經達到平衡.

圖5 反應溫度對煤焦油去除效率影響
由試驗結果得出結論:煤焦油的去除率隨著溫度的升高而升高, 最大去除率為42 %.具體參見污水寶商城資料或http://m.dongaorq.cn更多相關技術文檔。
4 結語
1)用二氧化氯處理質量濃度為0.845 mg/L 的煤焦油廢水水樣, 在pH =7 , 溫度為45 ℃, 反應時間為1 h 的條件下, 煤焦油的最大去除率為42 %.相關閱讀《利于環保的電鍍廢水處理》
2)煤焦油中含有較多的難降解的有機化合物成分, 例如瀝青等成分.針對這種情況, 含有煤焦油的廢水處理有待于進一步深入的研究.


