公布日:2024.02.06
申請日:2024.01.04
分類號:C02F9/00(2023.01)I;C02F1/04(2023.01)N;C02F1/38(2023.01)N;C02F1/44(2023.01)N;C02F1/52(2023.01)N
摘要
本發明涉及污水處理領域,具體涉及一種化工污水多級處理系統,包括蒸發室本體、結晶室本體、離心取水裝置、收卷機輸送裝置、驅動裝置和封堵裝置。本發明在使用時,利用驅動裝置使蒸發腔體積先縮小后增大;蒸發腔縮小時,蒸發腔呈高壓狀態,氣體通過單向閥向外排出;蒸發腔增大時,蒸發腔呈負壓狀態,蒸發腔與外界的氣壓之間的壓力差,使結晶腔內的水穿過半透膜進入蒸發腔;蒸發腔內的水被加熱蒸發,蒸發腔恢復一個大氣壓后,循環上述過程;結晶腔內的溶液濃度不斷增大至飽和狀態,析出晶體;隨后晶體被輸送、離心去水,從而完成對污水的處理。避免污水中的強揮發性及易于依附于水蒸氣的有害物質隨水蒸氣一起排放,對環境造成污染的問題。

權利要求書
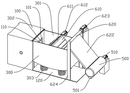
1.一種化工污水多級處理裝置,其特征在于,包括:蒸發室本體,其側板上設有第一開口,第一開口上安裝有半透膜;蒸發室本體內部設有豎直的活塞板,活塞板可在蒸發室本體內水平移動;活塞板與蒸發室本體設有第一開口的側板之間限定出蒸發腔;蒸發腔內設有加熱裝置;活塞板上設有單向閥,與蒸發腔連通,以在蒸發腔內氣壓大于一個大氣壓時,使氣體可以從蒸發腔內排出;結晶室本體,設置于蒸發室本體具有第一開口的一側;結晶室本體下方連接有豎直的支撐彈簧;結晶室本體相對蒸發室本體上下滑動,結晶室本體限定出結晶腔;結晶室本體朝向蒸發室本體的一側上設有第二開口;第二開口正對第一開口,且第二開口在豎直方向上的長度大于第一開口;離心去水裝置,設置于結晶室本體遠離蒸發室本體的一側;利用離心力將晶體與表面的水分分離;收集輸送裝置,設置于結晶室本體和離心去水裝置之間,用于將結晶腔的晶體輸送到離心去水裝置;驅動裝置,配置成在蒸發腔內氣壓為一個大氣壓時,帶動活塞板完成一次水平方向的往復移動,使得蒸發腔體積先減小,后增大;封堵裝置,配置成在活塞板靠近結晶室本體時,隔離蒸發腔與結晶腔;活塞板遠離結晶室本體時,使蒸發腔與結晶腔連通;在蒸發腔減小的過程中,封堵裝置隔離蒸發腔與結晶腔,蒸發腔呈高壓狀態,單向閥開啟,不斷向外排出氣體;在蒸發腔增大的過程中,蒸發腔呈負壓狀態,封堵裝置使蒸發腔與結晶腔連通,結晶腔內的水在蒸發腔與外界之間壓力差的作用下,被壓著穿過半透膜進入蒸發腔;加熱裝置對蒸發腔內的水進行加熱蒸發,封堵裝置包括擋板和傳動結構,擋板可上下滑動地安裝于第一開口,初始狀態下,擋板的下邊緣與半透膜的上邊緣重合;傳動結構配置成在活塞板靠近結晶室本體時,帶動擋板下移,封堵第一開口,在活塞板遠離結晶室本體時,打開第一開口;傳動結構包括第一齒條、第一齒輪、第一傳動桿、第二齒條、第二齒輪和第二傳動桿,第一齒條沿水平方向延伸固接于活塞板并指向結晶腔;第一傳動桿可轉動地安裝于蒸發腔內,水平設置且與第一齒條垂直;第一齒輪同步轉動地安裝于第一傳動桿,且第一齒輪與第一齒條嚙合;第二齒條沿豎直延伸固接于擋板;第二傳動桿可轉動地安裝于蒸發腔內,水平設置且與第一傳動桿平行;第二齒輪同步轉動地安裝于第二傳動桿,且第二齒輪與第二齒條嚙合;第一傳動桿與第二傳動桿通過帶輪和傳動帶連接。
2.根據權利要求1所述的一種化工污水多級處理裝置,其特征在于:驅動裝置包括第一電機、氣壓感應裝置、轉動推板和多個復位拉簧;復位拉簧水平設置,一端連接于活塞板,另一端連接于蒸發室本體,初始狀態下復位拉簧有使活塞板向結晶室移動的趨勢;轉動推板可轉動地設置于蒸發腔內,初始狀態下水平設置,一端與活塞板頂接,另一端連接于第一電機,第一電機安裝于蒸發腔的側壁,氣壓感應裝置設置于蒸發腔內,以在蒸發腔內氣壓為一個大氣壓時驅動第一電機轉動一周。
3.根據權利要求1所述的一種化工污水多級處理裝置,其特征在于:收集輸送裝置包括第一輸送部和第二輸送部;第一輸送部用于將結晶腔內的晶體收集并輸送至第二輸送部,第二輸送部用于將收集到的晶體轉運至離心去水裝置。
4.根據權利要求3所述的一種化工污水多級處理裝置,其特征在于:第一輸送部包括帶式刮刀機構和第二電機,帶式刮刀機構設置于結晶腔內,第二電機用于驅動帶式刮刀機構轉動。
5.根據權利要求3所述的一種化工污水多級處理裝置,其特征在于:第二輸送部包括輸送帶、引導板和第三電機;輸送帶傾斜設置于結晶腔內,一端與帶式刮刀機構接觸,另一端與第三電機連接,且與第三電機連接的一端高于與帶式刮刀機構接觸的一端;第三電機設置于結晶腔的側壁,用于帶動輸送帶轉動;引導板傾斜設置于結晶腔和離心去水裝置之間,較高的一端位于輸送帶較高一端的下方,較低的一端與離心去水裝置連通,引導板的上表面為光滑表面。
6.根據權利要求1所述的一種化工污水多級處理裝置,其特征在于:離心去水裝置連接有第四電機。
7.根據權利要求6所述的一種化工污水多級處理裝置,其特征在于:離心去水裝置的下部設有出料口,出料口下方設有集料槽。
8.根據權利要求1所述的一種化工污水多級處理裝置,其特征在于:還設有注水裝置,注水裝置配置成在第二開口的底端與半透膜的底端平齊時,自動向結晶腔內注入化工污水,直至第二開口的頂端與半透膜的頂端平齊。
發明內容
本發明提供一種化工污水多級處理系統,以解決利用蒸發結晶方式處理污水時,使得化工污水中含有的揮發性物質或易于依附于水蒸氣的成分可能隨著加熱產生的水蒸氣排出,這樣的蒸汽隨意排放存在污染風險的問題。
本發明的一種化工污水多級處理系統采用如下技術方案:一種化工污水多級處理系統,包括蒸發室本體、結晶室本體、離心取水裝置、收卷機輸送裝置、驅動裝置和封堵裝置。
蒸發室本體側板上設有第一開口,第一開口上安裝有半透膜;蒸發室本體內部設有豎直的活塞板,活塞板可在蒸發室本體內水平移動;活塞板與蒸發室本體設有第一開口的側板之間限定出蒸發腔;蒸發腔內設有加熱裝置;活塞板上設有單向閥,與蒸發腔連通,以在蒸發腔內氣壓大于一個大氣壓時,使氣體可以從蒸發腔內排出。
結晶室本體設置于蒸發室本體具有第一開口的一側;結晶室本體下方連接有豎直的支撐彈簧;結晶室本體相對蒸發室本體上下滑動,結晶室本體限定出結晶腔;結晶室本體朝向蒸發室本體的一側上設有第二開口;第二開口正對第一開口,且第二開口在豎直方向上的長度大于第一開口。
離心去水裝置設置于結晶室本體遠離蒸發室本體的一側;利用離心力將晶體與表面的水分分離。
收集輸送裝置設置于結晶室本體和離心去水裝置之間,用于將結晶腔的晶體輸送到離心去水裝置。
驅動裝置配置成在蒸發腔內氣壓為一個大氣壓時,帶動活塞板完成一次水平方向的往復移動,使得蒸發腔體積先減小,后增大。
封堵裝置配置成在活塞板靠近結晶室本體時,隔離蒸發腔與結晶腔;活塞板遠離結晶室本體時,使蒸發腔與結晶腔連通。
進一步地,封堵裝置包括擋板和傳動結構,擋板可上下滑動地安裝于第一開口,初始狀態下,擋板的下邊緣與半透膜的上邊緣重合;傳動結構配置成在活塞板靠近結晶室本體時,帶動擋板下移,封堵第一開口,在活塞板遠離結晶室本體時,打開第一開口;驅動裝置用于在蒸發腔內氣壓為一個大氣壓時,帶動活塞板移動,使得蒸發腔體積先減小,后增大。
進一步地,傳動結構包括第一齒條、第一齒輪、第一傳動桿、第二齒條、第二齒輪和第二傳動桿,第一齒條沿水平方向延伸固接于活塞板并指向結晶腔;第一傳動桿可轉動地安裝于蒸發腔內,水平設置且與第一齒條垂直;第一齒輪同步轉動地安裝于第一傳動桿,且第一齒輪與第一齒條嚙合;第二齒條沿豎直延伸固接于擋板;第二傳動桿可轉動地安裝于蒸發腔內,水平設置且與第一傳動桿平行;第二齒輪同步轉動地安裝于第二傳動桿,且第二齒輪與第二齒條嚙合;第一傳動桿與第二傳動桿通過帶輪和傳動帶連接。
進一步地,驅動裝置包括第一電機、氣壓感應裝置、轉動推板和多個復位拉簧;復位拉簧水平設置,一端連接于活塞板,另一端連接于蒸發室本體,初始狀態下復位拉簧有使活塞板向結晶室移動的趨勢;轉動推板可轉動地設置于蒸發腔內,初始狀態下水平設置,一端與活塞板頂接,另一端連接于第一電機,第一電機安裝于蒸發腔的側壁,氣壓感應裝置設置于蒸發腔內,以在蒸發腔內氣壓為一個大氣壓時驅動第一電機轉動一周。
進一步地,收集輸送裝置包括第一輸送部和第二輸送部;第一輸送部用于將結晶腔內的晶體收集并輸送至第二輸送部,第二輸送部用于將收集到的晶體轉運至離心去水裝置。
進一步地,第一輸送部包括帶式刮刀機構和第二電機,帶式刮刀機構設置于結晶腔內,第二電機用于驅動帶式刮刀機構轉動。
進一步地,第二輸送部包括輸送帶、引導板和第三電機;輸送帶傾斜設置于結晶腔內,一端與帶式刮刀機構接觸,另一端與第三電機連接,且與第三電機連接的一端高于與帶式刮刀機構接觸的一端;第三電機設置于結晶腔的側壁,用于帶動輸送帶轉動;引導板傾斜設置于結晶腔和離心去水裝置之間,較高的一端位于輸送帶較高一端的下方,較低的一端與離心去水裝置連通,引導板的上表面為光滑表面。
進一步地,離心去水裝置連接有第四電機。
進一步地,離心去水裝置的下部設有出料口,出料口下方設有集料槽。
進一步地,一種化工污水多級處理系統還設有注水裝置,注水裝置配置成在第二開口的底端與半透膜的底端平齊時,自動向結晶腔內注入化工污水,直至第二開口的頂端與半透膜的頂端平齊。
本發明的有益效果是:通過驅動裝置在蒸發腔內為一個大氣壓時,帶動活塞板完成一次水平方向的往復移動,使得蒸發腔體積先減小,后增大;在蒸發腔減小的過程中,封堵裝置隔離蒸發腔與結晶腔,蒸發腔呈高壓狀態,單向閥開啟,不斷向外排出氣體;在蒸發腔增大的過程中,蒸發腔呈負壓狀態,封堵裝置使蒸發腔與結晶腔連通,結晶腔內的溶劑也就是水在蒸發腔與外界之間壓力差的作用下,被壓著穿過半透膜進入蒸發腔;加熱裝置對蒸發腔內的水進行加熱蒸發,直至蒸發腔內恢復一個大氣壓,循環上述過程;隨著活塞板的往復移動,結晶腔內的溶液濃度不斷增大,到達過飽和狀態析出晶體;收集輸送裝置將析出的晶體收集輸送至離心去水裝置,從而完成對污水的處理,通過半透膜先將水從廢水中分離出來使化工污水自發析出晶體的方式,替代了傳統的對化工污水直接加熱蒸發溶劑,從而析出晶體的處理方式,避免污水中的強揮發性及易于依附于水蒸氣的有害物質隨水蒸氣一起排放造成污染。
進一步地,通過封堵裝置和驅動裝置,使結晶腔內的水間斷式地流入蒸發腔中,避免持續降低蒸發腔內已經被加熱的水溫,從而縮短了水變為水蒸氣的時間,加快了污水處理的效率。當活塞板靠近結晶腔時,蒸發腔體積減小,蒸發腔內為高壓狀態,單向閥開啟向外界排放潔凈的水蒸氣;當活塞板遠離結晶腔移動時,蒸發腔體積增大,將結晶腔內的水吸入蒸發腔內,且蒸發腔內為負壓狀態,其中的水沸點降低,從而便于加熱裝置對水的加熱蒸發。從而更快地使結晶腔內的溶液到達過飽和狀態,更快析出晶體。同時加快了結晶和蒸發的速度,提高了化工污水的處理效率。
(發明人:馬崴嵬)






