公布日:2024.02.06
申請日:2023.11.23
分類號:C02F9/00(2023.01)I;B02C21/00(2006.01)I;B09B3/35(2022.01)I;C02F1/00(2023.01)N;C02F1/28(2023.01)N;C02F1/44(2023.01)N;C02F103/36(2006.01)N
摘要
本發明公開了一種用于石油化工污水處理的雙膜式生物處理裝置,包括支架、凈化箱、過濾箱和粉碎箱,本發明在使用時,通過驅動電機、傳動軸、傳動錐形齒輪、從動錐形齒輪、方孔圓管和轉動方桿的設置,可在將石油化工污水從進水管注入進粉碎箱的內腔后,對油化工污水內大顆粒物體進行粉碎,防止石油化工污水內的大顆粒物體堆積或者堵塞在粉碎箱內,且通過傳動槽輪從動槽輪、皮帶、轉桿、凸輪、限位塊、限位開槽和彈簧的設置下,可在轉動方桿旋轉的同時帶動升降板往復升降,且升降板往復升降帶動轉動方桿和若干個破碎桿在粉碎箱的內腔往復升降,從而可對粉碎箱中不同深度區域的污水中大顆粒物體進行粉碎,提高粉碎的充分性。

權利要求書
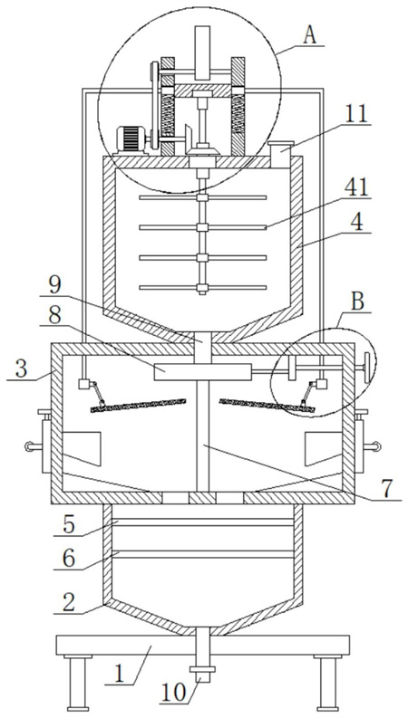
1.一種用于石油化工污水處理的雙膜式生物處理裝置,包括支架(1)、凈化箱(2)、過濾箱(3)和粉碎箱(4),其特征在于:所述凈化箱(2)固定連接在支架(1)的頂部中間位置處,所述凈化箱(2)的內腔靠近頂部處分別固定連接有活性炭凈化板(5)和超濾膜吸附板(6),所述凈化箱(2)的最底部插接固定有排水管(10),且所述排水管(10)的底端貫穿支架(1),并設置有管閥,所述過濾箱(3)固定連接在凈化箱(2)的頂部,且所述過濾箱(3)的底部開設有兩個出水口,兩個所述出水口為左右設置,所述過濾箱(3)的內腔底部中間位置處固定連接有隔板(7),且所述隔板(7)的前后兩側分別與過濾箱(3)的內腔前后兩側固定連接,所述隔板(7)的頂部中間位置處固定連接有橫管(8),且所述橫管(8)的內腔設有調節機構,所述粉碎箱(4)固定連接在過濾箱(3)的頂部中間位置處,所述粉碎箱(4)的最底部插接固定有豎管(9),且所述豎管(9)的底端貫穿過濾箱(3)的頂部,并與橫管(8)插接固定,所述隔板(7)的左右兩側均設有過濾機構,所述粉碎箱(4)的頂部右側處插接固定有進水管(11),且所述粉碎箱(4)的頂部靠近左右兩側處均固定連接有豎板(27),所述粉碎箱(4)的頂部中間位置處固定連接有第一軸承,且所述第一軸承內腔轉動連接有方孔圓管(24),所述方孔圓管(24)的內腔套接有與方孔圓管(24)相互匹配的轉動方桿(25),且所述轉動方桿(25)的底端延伸至粉碎箱(4)的內腔靠近底部處,并固定連接有若干個破碎桿(41),所述粉碎箱(4)的頂部靠近左側處固定安裝有驅動電機(32),且所述驅動電機(32)的動力輸出端固定連接有傳動軸(31),位于左側的所述豎板(27)上靠近頂部和底部處均開設有通孔,所述傳動軸(31)的右端貫穿相鄰通孔內腔,并固定連接有傳動錐形齒輪(30),所述傳動錐形齒輪(30)的右側嚙合有從動錐形齒輪(29),且所述從動錐形齒輪(29)套接固定在方孔圓管(24)的外側壁上,所述轉動方桿(25)的頂端固定連接有活動軸(26),且所述活動軸(26)的頂端轉動連接有升降板(28),所述升降板(28)的頂部設有按壓機構,所述升降板(28)的左右兩側均固定連接有限位塊,兩個所述豎板(27)上均開設有與限位塊相互匹配的限位開槽,且兩個所述限位塊分別滑動連接在相鄰的限位開槽內腔,兩個所述限位塊的底部均固定連接有彈簧(37),且所述彈簧(37)的底端與限位開槽的內腔底部固定連接。
2.根據權利要求1所述的一種用于石油化工污水處理的雙膜式生物處理裝置,其特征在于:所述按壓機構包括凸輪(33),且所述凸輪(33)位于升降板(28)的正上方,所述凸輪(33)上靠近底部處貫穿設有轉桿(34),且所述轉桿(34)的右端與相鄰的豎板(27)轉動連接,所述轉桿(34)的左端貫穿相鄰通孔內腔,并固定連接有從動槽輪(35),所述傳動軸(31)的外側壁靠近左端處套接固定有傳動槽輪(36),所述傳動槽輪(36)與從動槽輪(35)之間設有皮帶,且所述傳動槽輪(36)與從動槽輪(35)之間通過皮帶傳動連接。
3.根據權利要求1所述的一種用于石油化工污水處理的雙膜式生物處理裝置,其特征在于:所述過濾機構包括過濾網板(17),且所述過濾網板(17)位于隔板(7)遠離過濾箱(3)內腔中心的一側,所述過濾網板(17)的前后兩側分別與過濾箱(3)的內腔前后兩側轉動連接,所述過濾網板(17)的頂部鉸接有連桿(38),且所述連桿(38)的另一端鉸接有升降塊(39),所述升降塊(39)的頂部固定連接有牽引桿(40),所述過濾箱(3)的頂部靠近左右兩側處均開設有穿孔,所述牽引桿(40)的另一端貫穿相鄰穿孔內腔,并與相鄰的限位塊固定連接。
4.根據權利要求1所述的一種用于石油化工污水處理的雙膜式生物處理裝置,其特征在于:所述過濾箱(3)的左右兩側靠近底部處均開設有收取口,且所述收取口的內腔插接有收集盒(18),兩個所述收集盒(18)靠近隔板(7)的一側底部處均開設有漏水口,且所述漏水口的內腔固定連接有篩網(42),兩個所述收集盒(18)相遠離的一側均固定連接有擋板(19),且所述擋板(19)與過濾箱(3)的外側壁貼合設置,兩個所述擋板(19)相遠離的一側均固定連接有把手(20),所述過濾箱(3)的左右兩側均開設有兩個插槽,且兩個所述插槽分別位于收取口的上下兩側,若干個所述插槽內腔均插接有與之相互匹配的插板,且所述插板與相鄰的擋板(19)固定連接。
5.根據權利要求4所述的一種用于石油化工污水處理的雙膜式生物處理裝置,其特征在于:所述過濾箱(3)的左右兩側靠近頂部處均開設有T形滑槽,且所述T形滑槽內腔滑動連接有T形限位塊,兩個所述T形限位塊相遠離的一側均固定連接有活動板(22),兩個所述擋板(19)的頂部均開設有盲孔,且所述盲孔的內腔插接有定位桿(21),兩個所述定位桿(21)的頂端分別與相鄰的活動板(22)固定連接。
6.根據權利要求1所述的一種用于石油化工污水處理的雙膜式生物處理裝置,其特征在于:所述調節機構包括不銹鋼球(12),且所述不銹鋼球(12)設置于橫管(8)的內腔靠近左側處,所述不銹鋼球(12)的右側固定連接有橫桿(13),且所述橫桿(13)的右端固定連接有移動板(14),所述移動板(14)的頂部固定連接有矩形滑塊,所述過濾箱(3)的內腔頂部靠近右側處開設有矩形滑槽,且所述矩形滑塊滑動連接在矩形滑槽的內腔,所述移動板(14)的右側固定連接有軸承,且所述軸承內腔插接有螺紋桿(15),所述過濾箱(3)的右側靠近頂部處開設有螺紋孔,且所述螺紋桿(15)的右端貫穿螺紋孔內腔,并固定連接有手搖輪(16)。
7.根據權利要求1所述的一種用于石油化工污水處理的雙膜式生物處理裝置,其特征在于:所述過濾箱(3)的內腔底部左右兩側處均固定連接有引流板(23),且所述引流板(23)與過濾箱(3)內腔豎向側壁之間朝上的夾角為鈍角設置。
發明內容
本發明解決的技術問題在于克服現有技術的缺陷,提供一種用于石油化工污水處理的雙膜式生物處理裝置。
為實現上述目的,本發明提供如下技術方案:一種用于石油化工污水處理的雙膜式生物處理裝置,包括支架、凈化箱、過濾箱和粉碎箱,所述凈化箱固定連接在支架的頂部中間位置處,所述凈化箱的內腔靠近頂部處分別固定連接有活性炭凈化板和超濾膜吸附板,所述凈化箱的最底部插接固定有排水管,且所述排水管的底端貫穿支架,并設置有管閥,所述過濾箱固定連接在凈化箱的頂部,且所述過濾箱的底部開設有兩個出水口,兩個所述出水口為左右設置,所述過濾箱的內腔底部中間位置處固定連接有隔板,且所述隔板的前后兩側分別與過濾箱的內腔前后兩側固定連接,所述隔板的頂部中間位置處固定連接有橫管,且所述橫管的內腔設有調節機構,所述粉碎箱固定連接在過濾箱的頂部中間位置處,所述粉碎箱的最底部插接固定有豎管,且所述豎管的底端貫穿過濾箱的頂部,并與橫管插接固定,所述隔板的左右兩側均設有過濾機構,所述粉碎箱的頂部右側處插接固定有進水管,且所述粉碎箱的頂部靠近左右兩側處均固定連接有豎板,所述粉碎箱的頂部中間位置處固定連接有第一軸承,且所述第一軸承內腔轉動連接有方孔圓管,所述方孔圓管的內腔套接有與方孔圓管相互匹配的轉動方桿,且所述轉動方桿的底端延伸至粉碎箱的內腔靠近底部處,并固定連接有若干個破碎桿,所述粉碎箱的頂部靠近左側處固定安裝有驅動電機,且所述驅動電機的動力輸出端固定連接有傳動軸,位于左側的所述豎板上靠近頂部和底部處均開設有通孔,所述傳動軸的右端貫穿相鄰通孔內腔,并固定連接有傳動錐形齒輪,所述傳動錐形齒輪的右側嚙合有從動錐形齒輪,且所述從動錐形齒輪套接固定在方孔圓管的外側壁上,所述轉動方桿的頂端固定連接有活動軸,且所述活動軸的頂端轉動連接有升降板,所述升降板的頂部設有按壓機構,所述升降板的左右兩側均固定連接有限位塊,兩個所述豎板上均開設有與限位塊相互匹配的限位開槽,且兩個所述限位塊分別滑動連接在相鄰的限位開槽內腔,兩個所述限位塊的底部均固定連接有彈簧,且所述彈簧的底端與限位開槽的內腔底部固定連接。
優選的,所述按壓機構包括凸輪,且所述凸輪位于升降板的正上方,所述凸輪上靠近底部處貫穿設有轉桿,且所述轉桿的右端與相鄰的豎板轉動連接,所述轉桿的左端貫穿相鄰通孔內腔,并固定連接有從動槽輪,所述傳動軸的外側壁靠近左端處套接固定有傳動槽輪,所述傳動槽輪與從動槽輪之間設有皮帶,且所述傳動槽輪與從動槽輪之間通過皮帶傳動連接。
優選的,所述過濾機構包括過濾網板,且所述過濾網板位于隔板遠離過濾箱內腔中心的一側,所述過濾網板的前后兩側分別與過濾箱的內腔前后兩側轉動連接,所述過濾網板的頂部鉸接有連桿,且所述連桿的另一端鉸接有升降塊,所述升降塊的頂部固定連接有牽引桿,所述過濾箱的頂部靠近左右兩側處均開設有穿孔,所述牽引桿的另一端貫穿相鄰穿孔內腔,并與相鄰的限位塊固定連接。
優選的,所述過濾箱的左右兩側靠近底部處均開設有收取口,且所述收取口的內腔插接有收集盒,兩個所述收集盒靠近隔板的一側底部處均開設有漏水口,且所述漏水口的內腔固定連接有篩網,兩個所述收集盒相遠離的一側均固定連接有擋板,且所述擋板與過濾箱的外側壁貼合設置,兩個所述擋板相遠離的一側均固定連接有把手,所述過濾箱的左右兩側均開設有兩個插槽,且兩個所述插槽分別位于收取口的上下兩側,若干個所述插槽內腔均插接有與之相互匹配的插板,且所述插板與相鄰的擋板固定連接。
優選的,所述過濾箱的左右兩側靠近頂部處均開設有T形滑槽,且所述T形滑槽內腔滑動連接有T形限位塊,兩個所述T形限位塊相遠離的一側均固定連接有活動板,兩個所述擋板的頂部均開設有盲孔,且所述盲孔的內腔插接有定位桿,兩個所述定位桿的頂端分別與相鄰的活動板固定連接。
優選的,所述調節機構包括不銹鋼球,且所述不銹鋼球設置于橫管的內腔靠近左側處,所述不銹鋼球的右側固定連接有橫桿,且所述橫桿的右端固定連接有移動板,所述移動板的頂部固定連接有矩形滑塊,所述過濾箱的內腔頂部靠近右側處開設有矩形滑槽,且所述矩形滑塊滑動連接在矩形滑槽的內腔,所述移動板的右側固定連接有軸承,且所述軸承內腔插接有螺紋桿,所述過濾箱的右側靠近頂部處開設有螺紋孔,且所述螺紋桿的右端貫穿螺紋孔內腔,并固定連接有手搖輪。
優選的,所述過濾箱的內腔底部左右兩側處均固定連接有引流板,且所述引流板與過濾箱內腔豎向側壁之間朝上的夾角為鈍角設置。
與現有技術相比,本發明的有益效果是:
1、本發明通過驅動電機、傳動軸、傳動錐形齒輪、從動錐形齒輪、方孔圓管和轉動方桿的設置,可在將石油化工污水從進水管注入進粉碎箱的內腔后,對油化工污水內大顆粒物體進行粉碎,防止石油化工污水內的大顆粒物體堆積或者堵塞在粉碎箱內,且通過傳動槽輪從動槽輪、皮帶、轉桿、凸輪、限位塊、限位開槽和彈簧的設置下,可在轉動方桿旋轉的同時帶動升降板往復升降,且升降板往復升降帶動轉動方桿和若干個破碎桿在粉碎箱的內腔往復升降,從而可對粉碎箱中不同深度區域的污水中大顆粒物體進行粉碎,提高粉碎的充分性;
2、本發明通過過濾箱、隔板、過濾網板、豎管、橫管、不銹鋼球、橫桿、移動板、螺紋桿和手搖輪的設置下,可通過轉動手搖輪而帶動螺紋桿旋轉,從而對移動板的橫向位置調節,而移動板橫向位置的調節可通過橫桿對不銹鋼球在橫管內腔的位置進行調節,從而當不銹鋼球位于豎管的左側時,可將污水導入到隔板的右側,而當不銹鋼球位于豎管的右側時,則可將污水導入到隔板的左側,并通過過濾網板的設置可對污水進行過濾處理,并將污水中的顆粒物體導入進相鄰側的收集盒中,從而方便工作人員在的其中一個收集盒拆卸下來清理時,可在過濾箱的內腔另一側進行污水過濾作業,提高了污水處理效率的同時,降低了工作人員對顆粒物質收取清理的工作難度;
3、本發明通過引流板的設置,可將過濾篩分后的污水導向相鄰一側的出水口內腔中,并流入進凈化箱的內腔中,且通過活性炭凈化板和超濾膜吸附板的雙膜式設置,可對石油化工污水進行雙層凈化處理,從而可將石油化工污水經充分凈化后排出,節省資源的同時具有環保的效果。
(發明人:吳湖)






