公布日:2023.08.08
申請日:2023.06.30
分類號:C02F3/30(2023.01)I
摘要
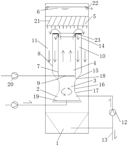
本發明涉及具有泥水分離功能的一體化AO反應器,由下至上包括泥斗、進水區、缺氧區、好氧區、分離區和出水區,所述反應器由內至外包括內筒和外筒,內筒和外筒同心設置,外筒的頂部高于內筒的頂部,外筒的底部低于內筒的底部;進水區處于外筒底部;缺氧區處于外筒的下部,好氧區處于內筒的內部,內筒底部設有曝氣管;內筒的頂部開口,且與外筒的內部空間連通,內筒與外筒之間為硝化液回流區,內筒的底部開口與外筒內壁之間留有空隙,用于回流的硝化液能進入缺氧區;分離區處于外筒上方,用于對內筒輸出的處理后的水體進行泥水分離;外筒與所述反應器的內壁之間為污泥沉降區,由分離區分離得到的污泥經過污泥沉降區落入泥斗。

權利要求書
1.具有泥水分離功能的一體化AO反應器,其特征在于,由下至上包括泥斗、進水區、缺氧區、好氧區、分離區和出水區,所述一體化AO反應器由內至外包括內筒和外筒,內筒和外筒同心設置,外筒的頂部高于內筒的頂部,外筒的底部低于內筒的底部;進水區處于外筒底部,用于向外筒內輸入廢水;缺氧區處于外筒的下部,好氧區處于內筒的內部,內筒底部設有曝氣管,用于向好氧區提供氧氣;內筒的頂部開口,且與外筒的內部空間連通,內筒與外筒之間為硝化液回流區,內筒的底部開口與外筒內壁之間留有空隙,用于回流的硝化液能進入缺氧區;分離區處于外筒上方,用于對內筒輸出的處理后的水體進行泥水分離;外筒與所述一體化AO反應器的內壁之間為污泥沉降區,由分離區分離得到的污泥經過污泥沉降區落入泥斗。
2.根據權利要求1所述的具有泥水分離功能的一體化AO反應器,其特征在于,所述一體化AO反應器的底部設有排泥口,排泥口通過管道并聯污泥回流泵和排泥管;污泥回流泵的進口連接排泥口,污泥回流泵的出口通過污泥回流管連接所述進水區,將部分污泥回流至外筒底部,以便上升至缺氧區。
3.根據權利要求1所述的具有泥水分離功能的一體化AO反應器,其特征在于,所述外筒的頂部和底部都具有開口,外筒的筒壁由上至下包括豎直壁、傾斜壁、收縮壁和擴張壁,豎直壁、收縮壁和內筒的筒壁均為豎直且平直的,傾斜壁向著所述一體化AO反應器的內部傾斜,使得外筒的內徑收縮;擴張壁向著所述一體化AO反應器的外部傾斜,使得外筒的內徑增加;內筒的底部開口處于傾斜壁的范圍內,且內筒的底部開口與傾斜壁之間的空隙為硝化液回流狹縫,硝化液回流狹縫的下方直至收縮壁的底端為所述缺氧區,所述硝化液回流區的硝化液通過硝化液回流狹縫輸入缺氧區;擴張壁的底部設有布水器,布水器的上方為進水區。
4.根據權利要求1所述的具有泥水分離功能的一體化AO反應器,其特征在于,所述布水器的進口連接進水管,由外部輸入待處理的廢水;所述進水區內設有攪拌器,用于攪動由布水器輸入的廢水,使得廢水旋流上升再進入缺氧區。
5.根據權利要求1所述的具有泥水分離功能的一體化AO反應器,其特征在于,所述缺氧區內部設有第一微生物載體,并負載有缺氧微生物,當由進水區旋流上升的廢水通過缺氧區時,進行缺氧生化處理。
6.根據權利要求1所述的具有泥水分離功能的一體化AO反應器,其特征在于,所述曝氣管通過管道連接反應器外部的曝氣風機;好氧區內部設有第二微生物載體,并負載有好氧微生物,當由缺氧區上升的廢水通過好氧區時,進行好氧生化處理。
7.根據權利要求1所述的具有泥水分離功能的一體化AO反應器,其特征在于,所述硝化液回流區的頂部設有攔截網,攔截網的外側邊沿連接外筒的頂部邊沿,攔截網的內側邊沿連接內筒的頂部邊沿。
8.根據權利要求1所述的具有泥水分離功能的一體化AO反應器,其特征在于,所述泥斗為倒錐形,由四面梯形的斜壁支撐板圍成,每個斜壁支撐板的上表面設有波紋結構層,波紋結構層包括兩層波紋板,且上下堆疊設置,波紋板包括若干波峰和波谷,兩層波紋板的波峰與波峰對應、波谷與波谷對應;每條波峰和波谷均由斜壁支撐板的上部指向斜壁支撐板的下部;上層波紋板和下層波紋板的每條波峰的下表面均勻設有若干個伸縮橫梁,伸縮橫梁的兩端抵住波峰的兩個側面,用于調節波峰的角度;下層波紋板的波谷滑動連接導軌槽,若干條導軌槽橫向設置在斜壁支撐板的上表面。
9.根據權利要求8所述的具有泥水分離功能的一體化AO反應器,其特征在于,所述下層波紋板的每條波峰的下方均勻設置若干個伸縮豎桿,用于伸出下層波紋板并調整上層波紋板的高度;若干個伸縮豎桿沿著對應的同一條波峰的長度方向均勻設置在斜壁支撐板的上表面,伸縮豎桿的位置不與導軌槽重合;伸縮豎桿的底部固定在斜壁支撐板上,頂部設有倒U型固定托,用于承托上層波紋板的波峰下表面;下層波紋板的波峰對應伸縮豎桿的位置設有豁口,允許伸縮豎桿上下伸縮,通過改變伸縮豎桿的高度,調節上、下層波紋板的間距。
10.根據權利要求9所述的具有泥水分離功能的一體化AO反應器,其特征在于,對于上層波紋板,若干個上伸縮橫梁沿著對應的同一條波峰的長度方向均勻設置在上層波紋板的下表面,上伸縮橫梁的位置與下層波紋板的豁口位置對應;對于下層波紋板,若干個下伸縮橫梁沿著對應的同一條波峰的長度方向均勻設置在下層波紋板的下表面,下伸縮橫梁的位置不與所述豁口位置對應。
發明內容
針對上述技術問題,本發明提供具有泥水分離功能的一體化AO反應器,由下至上包括泥斗、進水區、缺氧區、好氧區、分離區和出水區,所述一體化AO反應器由內至外包括內筒和外筒,內筒和外筒同心設置,外筒的頂部高于內筒的頂部,外筒的底部低于內筒的底部;
進水區處于外筒底部,用于向外筒內輸入廢水;缺氧區處于外筒的下部,好氧區處于內筒的內部,內筒底部設有曝氣管,用于向好氧區提供氧氣;內筒的頂部開口,且與外筒的內部空間連通,內筒與外筒之間為硝化液回流區,內筒的底部開口與外筒內壁之間留有空隙,用于回流的硝化液能進入缺氧區;
分離區處于外筒上方,用于對內筒輸出的處理后的水體進行泥水分離;外筒與所述一體化AO反應器的內壁之間為污泥沉降區,由分離區分離得到的污泥經過污泥沉降區落入泥斗。
可選的,所述一體化AO反應器的底部設有排泥口,排泥口通過管道并聯污泥回流泵和排泥管;
污泥回流泵的進口連接排泥口,污泥回流泵的出口通過污泥回流管連接所述進水區,將部分污泥回流至外筒底部,以便上升至缺氧區。
可選的,所述外筒的頂部和底部都具有開口,外筒的筒壁由上至下包括豎直壁、傾斜壁、收縮壁和擴張壁,豎直壁、收縮壁和內筒的筒壁均為豎直且平直的,傾斜壁向著所述一體化AO反應器的內部傾斜,使得外筒的內徑收縮;擴張壁向著所述一體化AO反應器的外部傾斜,使得外筒的內徑增加;
內筒的底部開口處于傾斜壁的范圍內,且內筒的底部開口與傾斜壁之間的空隙為硝化液回流狹縫,硝化液回流狹縫的下方直至收縮壁的底端為所述缺氧區,所述硝化液回流區的硝化液通過硝化液回流狹縫輸入缺氧區;
擴張壁的底部設有布水器,布水器的上方為進水區。
可選的,所述布水器的進口連接進水管,由外部輸入待處理的廢水;所述進水區內設有攪拌器,用于攪動由布水器輸入的廢水,使得廢水旋流上升再進入缺氧區。
可選的,所述缺氧區內部設有第一微生物載體,并負載有缺氧微生物,當由進水區旋流上升的廢水通過缺氧區時,進行缺氧生化處理。
可選的,所述曝氣管通過管道連接反應器外部的曝氣風機;好氧區內部設有第二微生物載體,并負載有好氧微生物,當由缺氧區上升的廢水通過好氧區時,進行好氧生化處理。
進一步可選的,所述硝化液回流區的頂部設有攔截網,攔截網的外側邊沿連接外筒的頂部邊沿,攔截網的內側邊沿連接內筒的頂部邊沿。
可選的,所述泥斗為倒錐形,由四面梯形的斜壁支撐板圍成,每個斜壁支撐板的上表面設有波紋結構層,波紋結構層包括兩層波紋板,且上下堆疊設置,波紋板包括若干波峰和波谷,兩層波紋板的波峰與波峰對應、波谷與波谷對應;
每條波峰和波谷均由斜壁支撐板的上部指向斜壁支撐板的下部;
上層波紋板和下層波紋板的每條波峰的下表面均勻設有若干個伸縮橫梁,伸縮橫梁的兩端抵住波峰的兩個側面,用于調節波峰的角度;
下層波紋板的波谷滑動連接導軌槽,若干條導軌槽橫向設置在斜壁支撐板的上表面。
可選的,所述下層波紋板的每條波峰的下方均勻設置若干個伸縮豎桿,用于伸出下層波紋板并調整上層波紋板的高度;
若干個伸縮豎桿沿著對應的同一條波峰的長度方向均勻設置在斜壁支撐板的上表面,伸縮豎桿的位置不與導軌槽重合;
伸縮豎桿的底部固定在斜壁支撐板上,頂部設有倒U型固定托,用于承托上層波紋板的波峰下表面;
下層波紋板的波峰對應伸縮豎桿的位置設有豁口,允許伸縮豎桿上下伸縮,通過改變伸縮豎桿的高度,調節上、下層波紋板的間距。
可選的,對于上層波紋板,若干個上伸縮橫梁沿著對應的同一條波峰的長度方向均勻設置在上層波紋板的下表面,上伸縮橫梁的位置與下層波紋板的豁口位置對應;
對于下層波紋板,若干個下伸縮橫梁沿著對應的同一條波峰的長度方向均勻設置在下層波紋板的下表面,下伸縮橫梁的位置不與所述豁口位置對應。
(發明人:郭倩倩;張傳兵;莊云萍;徐亞慧;趙曙光;王強強;郭全杰;劉雄飛;胡進林;陳平斗;王彥軍;張中浩)






