公布日:2024.04.02
申請日:2023.12.25
分類號:E03C1/12(2006.01)I;B02C18/14(2006.01)I;B02C18/18(2006.01)I;B02C18/22(2006.01)I;B02C18/00(2006.01)I;E03C1/266(2006.01)I;E03C1/122(2006.01)I;E03C1
/282(2006.01)I;B01D29/03(2006.01)I;B01D29/96(2006.01)I;B01D29/94(2006.01)I
摘要
本發明公開了一種污水防回流結構,涉及污水防回流技術領域,包括外殼機構,所述外殼機構的內部設置有防回流機構,所述外殼機構的后側設置有聯動機構,所述外殼機構的底部設置有過濾機構,所述外殼機構的頂部設置有破碎機構,所述外殼機構包括殼體。該一種污水防回流結構,將本裝置與排污設備連接后,通過設置高位通道、緩沖通道和低位通道起到對污水進行緩沖放置濺射的同時高度差的設計有效的避免了污水回流,并且通過防回流機構和聯動機構相配合,使得第一堵板和第二堵板可以根據污水排放情況同步對高位通道和低位通道進行啟閉,結構新穎,防回流效果較好,有效的避免了污水回流后造成的二次污染。

權利要求書
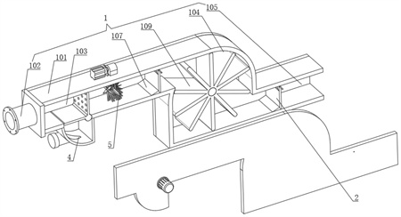
1.一種污水防回流結構,包括外殼機構(1),其特征在于:所述外殼機構(1)的內部設置有防回流機構(2),所述外殼機構(1)的后側設置有聯動機構(3),所述外殼機構(1)的底部設置有過濾機構(4),所述外殼機構(1)的頂部設置有破碎機構(5);所述外殼機構(1)包括殼體(101),所述殼體(101)的內部靠近左側的位置設置有高位通道(103),所述殼體(101)的內部靠近右側的位置設置有低位通道(105);所述防回流機構(2)包括第一堵板(201)和第二堵板(204),所述第一堵板(201)的前后側外表面均固定連接有第一轉軸(202),所述第一轉軸(202)和低位通道(105)的前后側內表壁轉動連接,所述第二堵板(204)的前后側外表面均固定連接有第二轉軸(205),所述第二轉軸(205)和高位通道(103)的前后側內表壁轉動連接,其中一個所述第一轉軸(202)的端面貫穿低位通道(105)的內表壁并固定連接有第一齒輪(203),其中一個所述第二轉軸(205)的端面貫穿高位通道(103)的內表壁并固定連接有第二齒輪(206);所述聯動機構(3)包括兩個安裝塊(301),兩個所述安裝塊(301)均固定連接在殼體(101)的后表面上,兩個所述安裝塊(301)的內部之間滑動連接有滑桿(302),所述滑桿(302)的外表面滑動設置有條桿(304),所述滑桿(302)的兩端均螺紋連接有固定螺帽(303);所述條桿(304)的頂部靠近右側的位置設置有第一嚙合齒(305),所述條桿(304)的頂部靠近左側的位置設置有第二嚙合齒(306),所述第一嚙合齒(305)和第一齒輪(203)嚙合連接,所述第二嚙合齒(306)和第二齒輪(206)嚙合連接;所述條桿(304)的底部固定連接有第二連接塊(308),所述第二連接塊(308)的右側設置有第一連接塊(307),所述第一連接塊(307)的固定連接在殼體(101)的后表面上,所述第一連接塊(307)和第二連接塊(308)的相對側外表面均固定連接有限位柱(309),兩個所述限位柱(309)的外表面之間套設有彈簧(310)。
2.根據權利要求1所述的一種污水防回流結構,其特征在于:所述殼體(101)的內部靠近中間的位置設置有緩沖通道(104),所述緩沖通道(104)的前后側內表壁均安裝有平面軸承(108),兩個所述平面軸承(108)的外表面之間固定安裝有緩沖葉輪(109),所述殼體(101)的左端固定連通有法蘭連接頭(102)。
3.根據權利要求2所述的一種污水防回流結構,其特征在于:所述高位通道(103)和低位通道(105)的內頂部均固定連接有第一限位塊(106),所述高位通道(103)和低位通道(105)的內底部均固定連接有第二限位塊(107),其中一組所述第一限位塊(106)和第二限位塊(107)的右表面和第一堵板(201)的左表面相貼合,另一組所述第一限位塊(106)和第二限位塊(107)的右表面和第二堵板(204)的左表面相貼合,所述第二限位塊(107)的截面呈三角形設置。
4.根據權利要求1所述的一種污水防回流結構,其特征在于:所述過濾機構(4)包括排污殼(401)和步進電機(405),所述步進電機(405)固定安裝在殼體(101)的前表面靠近左端的位置,所述步進電機(405)輸出端滑動貫穿殼體(101)的外表面并延伸至另一側,所述步進電機(405)輸出端固定連接有驅動軸(402),所述驅動軸(402)的外表面靠近左側的位置固定連接有擋板(403),所述驅動軸(402)的外表面靠近頂部的位置固定連接有過濾板(404)。
5.根據權利要求4所述的一種污水防回流結構,其特征在于:所述排污殼(401)固定連通在殼體(101)底部靠近左端的位置,所述擋板(403)和排污殼(401)位置相對應,所述排污殼(401)的左表面固定連通有清渣口(406),所述清渣口(406)的端部螺紋連接有密封蓋(407)。
6.根據權利要求5所述的一種污水防回流結構,其特征在于:所述破碎機構(5)包括安裝架(501)、密封殼(506)和驅動電機(507),所述安裝架(501)固定連接在高位通道(103)的內表壁之間,所述安裝架(501)的內部通過軸承連接有連接軸(502),所述連接軸(502)的外表面對稱固定連接有兩個第一帶輪(505),所述密封殼(506)固定連通在殼體(101)的頂部,所述密封殼(506)的內部轉動連接有帶輪軸(508),所述帶輪軸(508)的外表面對稱固定連接有兩個第二帶輪(509),所述驅動電機(507)固定安裝在殼體(101)的頂部,所述驅動電機(507)輸出端滑動貫穿密封殼(506)的外表面并延伸至另一側,所述驅動電機(507)輸出端和帶輪軸(508)固定連接,所述第一帶輪(505)和第二帶輪(509)的外表面之間設置有傳動帶(510)。
7.根據權利要求6所述的一種污水防回流結構,其特征在于:所述連接軸(502)的前端固定連接有一組第一破碎刀(503),所述連接軸(502)的后端固定連接有一組第二破碎刀(504)。
發明內容
為了克服現有技術的缺陷,本發明所要解決的技術問題在于提出一種污水防回流結構,其能夠克服污水通過管道進行排放時快結束時,由于水流減緩,水壓降低,因此常常出現污水回流現象,污水回流涌入到排污管中,不僅影響了污水處理效果,還可能對環境造成二次污染的問題。
為達此目的,本發明采用以下技術方案:
本發明提供了一種污水防回流結構,包括外殼機構,所述外殼機構的內部設置有防回流機構,所述外殼機構的后側設置有聯動機構,所述外殼機構的底部設置有過濾機構,所述外殼機構的頂部設置有破碎機構,所述外殼機構包括殼體,所述殼體的內部靠近左側的位置設置有高位通道,所述殼體的內部靠近右側的位置設置有低位通道,所述防回流機構包括第一堵板和第二堵板,所述第一堵板的前后側外表面均固定連接有第一轉軸,所述第一轉軸和低位通道的前后側內表壁轉動連接,所述第二堵板的前后側外表面均固定連接有第二轉軸,所述第二轉軸和高位通道的前后側內表壁轉動連接,其中一個所述第一轉軸的端面貫穿低位通道的內表壁并固定連接有第一齒輪,其中一個所述第二轉軸的端面貫穿高位通道的內表壁并固定連接有第二齒輪。
在本發明較佳的技術方案中,所述殼體的內部靠近中間的位置設置有緩沖通道,所述緩沖通道的前后側內表壁均安裝有平面軸承,兩個所述平面軸承的外表面之間固定安裝有緩沖葉輪,所述殼體的左端固定連通有法蘭連接頭。
在本發明較佳的技術方案中,所述高位通道和低位通道的內頂部均固定連接有第一限位塊,所述高位通道和低位通道的內底部均固定連接有第二限位塊,其中一組所述第一限位塊和第二限位塊的右表面和第一堵板的左表面相貼合,另一組所述第一限位塊和第二限位塊的右表面和第二堵板的左表面相貼合,所述第二限位塊的截面呈三角形設置。
在本發明較佳的技術方案中,所述聯動機構包括兩個安裝塊,兩個所述安裝塊均固定連接在殼體的后表面上,兩個所述安裝塊的內部之間滑動連接有滑桿,所述滑桿的外表面滑動設置有條桿,所述滑桿的兩端均螺紋連接有固定螺帽。
在本發明較佳的技術方案中,所述條桿的頂部靠近右側的位置設置有第一嚙合齒,所述條桿的頂部靠近左側的位置設置有第二嚙合齒,所述第一嚙合齒和第一齒輪嚙合連接,所述第二嚙合齒和第二齒輪嚙合連接。
在本發明較佳的技術方案中,所述條桿的底部固定連接有第二連接塊,所述第二連接塊的右側設置有第一連接塊,所述第一連接塊的固定連接在殼體的后表面上,所述第一連接塊和第二連接塊的相對側外表面均固定連接有限位柱,兩個所述限位柱的外表面之間套設有彈簧。
在本發明較佳的技術方案中,所述過濾機構包括排污殼和步進電機,所述步進電機固定安裝在殼體的前表面靠近左端的位置,所述步進電機輸出端滑動貫穿殼體的外表面并延伸至另一側,所述步進電機輸出端固定連接有驅動軸,所述驅動軸的外表面靠近左側的位置固定連接有擋板,所述驅動軸的外表面靠近頂部的位置固定連接有過濾板。
在本發明較佳的技術方案中,所述排污殼固定連通在殼體底部靠近左端的位置,所述擋板和排污殼位置相對應,所述排污殼的左表面固定連通有清渣口,所述清渣口的端部螺紋連接有密封蓋。
在本發明較佳的技術方案中,所述破碎機構包括安裝架、密封殼和驅動電機,所述安裝架固定連接在高位通道的內表壁之間,所述安裝架的內部通過軸承連接有連接軸,所述連接軸的外表面對稱固定連接有兩個第一帶輪,所述密封殼固定連通在殼體的頂部,所述密封殼的內部轉動連接有帶輪軸,所述帶輪軸的外表面對稱固定連接有兩個第二帶輪,所述驅動電機固定安裝在殼體的頂部,所述驅動電機輸出端滑動貫穿密封殼的外表面并延伸至另一側,所述驅動電機輸出端和帶輪軸固定連接,所述第一帶輪和第二帶輪的外表面之間設置有傳動帶。
在本發明較佳的技術方案中,所述連接軸的前端固定連接有一組第一破碎刀,所述連接軸的后端固定連接有一組第二破碎刀。
本發明的有益效果為:
本發明提供的一種污水防回流結構,將本裝置與排污設備連接后,通過設置高位通道、緩沖通道和低位通道起到對污水進行緩沖放置濺射的同時高度差的設計有效的避免了污水回流,并且通過防回流機構和聯動機構相配合,使得第一堵板和第二堵板可以根據污水排放情況同步對高位通道和低位通道進行啟閉,結構新穎,防回流效果較好,有效的避免了污水回流后造成的二次污染。
進入到高位通道內部的污水會經過過濾板,過濾板的設置起到將污水中的大顆粒雜質進行過濾的作用,避免造成管道堵塞,當污水排放結束后,通過啟動步進電機可以帶動驅動軸進行轉動,此時豎直狀態的過濾板轉動呈水平狀態并將攔截的大顆粒雜質轉動到下方的排污殼的內部,當大顆粒雜質進入到排污殼的內部后,通過打開密封蓋即可從清渣口將排污殼內部的大顆粒雜質掏出,結構簡單,操作方便,有效的避免了污水中的大顆粒雜質造成管道堵塞的問題,排污可靠性得到了提高。
通過啟動驅動電機后可以帶動帶輪軸高速轉動,此時帶輪軸表面的兩個第二帶輪會跟隨帶輪軸轉動,并且配合表面的傳動帶同步帶動兩個第一帶輪高速旋轉,從而達到帶動連接軸高速轉動的作用,當連接軸轉動時前側的第一破碎刀和后側的第二破碎刀會高速旋轉,第一破碎刀的刀體間距較大,可以將污水中的雜質進行切割破碎的同時不容易卡住,后側的第二破碎刀刀體間距較為密集,可以將破碎后的雜質進行進一步破碎成小顆粒物,使得污水中的雜質不容易卡在殼體的內部,進一步提高了污水處理效果。
(發明人:樊彥雷;吳玉明;孫龍海;高姣;趙博;朱江)






