公布日:2024.04.02
申請日:2023.12.19
分類號:C02F9/00(2023.01)I;C02F1/00(2023.01)N;C02F1/44(2023.01)N;C02F1/40(2023.01)N;C02F1/28(2023.01)N;C02F103/34(2006.01)N
摘要
本發明涉及污水處理技術領域,提供一種用于造船的油污水處理凈化設備,包括底板和輸送泵,所述底板頂端的一側固定有濾箱,所述底板頂端濾箱的一側安裝有輸送泵。本發明通過設置有固定結構,通過把手移動固定板,將固定框移至濾箱的內部,按動固定板,固定板通過連接塊帶動卡接塊移至卡接槽的內部,進而使固定框和濾箱相互固定,當油污水通過超濾膜,在超濾膜的篩濾作用下,使水分子可以通過,截留污水中的細微油粒及其它雜質,達到分離油水的目的,需要清理時,通過把手拔動固定板,進而使固定框和濾箱相互分離,實現了該裝置便于清理的功能,從而提高了該用于造船的油污水處理凈化設備在使用時的適用性。

權利要求書
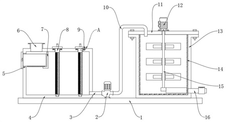
1.一種用于造船的油污水處理凈化設備,包括底板(1)和輸送泵(2);其特征在于:所述底板(1)頂端的一側固定有濾箱(4),所述底板(1)頂端濾箱(4)的一側安裝有輸送泵(2),所述輸送泵(2)的輸入端固定有連接管(3),所述輸送泵(2)的輸出端固定有輸送管(10),所述底板(1)頂端輸送泵(2)的一側固定有濾罐(13),所述濾罐(13)的頂端安裝有蓋板(11),所述蓋板(11)的頂端安裝有驅動電機(12),所述濾罐(13)底部的一側固定有排水管(16),所述濾罐(13)的內壁上設置有活性炭吸附層(14),所述濾罐(13)的內部設置有防堵結構(15);所述濾箱(4)的內部均勻設置有固定框(8),所述固定框(8)的頂端均固定有固定板(17),所述固定框(8)的內部均設置有超濾膜(18),所述超濾膜(18)的一側均設置有反滲透膜(19),所述固定板(17)底端的拐角位置處均設置有固定結構(9),所述固定結構(9)包括卡接槽(901)、卡接塊(902)以及連接塊(903),所述卡接槽(901)設置于濾箱(4)內部固定板(17)底端的拐角位置處,所述卡接槽(901)的內部均設置有卡接塊(902),所述卡接塊(902)的一側均固定有連接塊(903);所述濾箱(4)頂端的一側固定有進料口(6),所述濾箱(4)頂部的一側固定有支撐板(7),所述支撐板(7)的底部設置有收集結構(5)。
2.根據權利要求1所述的一種用于造船的油污水處理凈化設備,其特征在于:所述連接管(3)遠離輸送泵(2)的一端與濾箱(4)相連通,所述輸送管(10)遠離輸送泵(2)的一端延伸至濾罐(13)的內部。
3.根據權利要求1所述的一種用于造船的油污水處理凈化設備,其特征在于:所述收集結構(5)包括抽屜(501)、移動板(502)、通孔(503)以及拉手槽(504),所述抽屜(501)設置于支撐板(7)的底部,所述抽屜(501)的一端固定有移動板(502),所述抽屜(501)的底部均勻設置有通孔(503),所述移動板(502)內部遠離抽屜(501)的一側開設有拉手槽(504)。
4.根據權利要求3所述的一種用于造船的油污水處理凈化設備,其特征在于:所述抽屜(501)和濾箱(4)呈滑動連接設計,所述拉手槽(504)的主視截面呈“L”形設計。
5.根據權利要求1所述的一種用于造船的油污水處理凈化設備,其特征在于:所述支撐板(7)的主視截面呈“L”形設計,所述固定板(17)的頂端固定有把手,所述反滲透膜(19)的外側壁與固定框(8)的內側壁固定連接。
6.根據權利要求1所述的一種用于造船的油污水處理凈化設備,其特征在于:所述卡接塊(902)和濾箱(4)通過卡接槽(901)構成卡合結構,所述連接塊(903)的頂端與固定板(17)的底端固定連接。
7.根據權利要求1所述的一種用于造船的油污水處理凈化設備,其特征在于:所述防堵結構(15)包括驅動軸(1501)、攪拌葉(1502)、預留口(1503)以及刮板(1504),所述驅動軸(1501)設置于濾罐(13)的內部,所述驅動軸(1501)的外壁上均勻固定有攪拌葉(1502),所述攪拌葉(1502)靠近驅動軸(1501)的一側均設置有預留口(1503),所述驅動軸(1501)底端的一側固定有刮板(1504)。
8.根據權利要求7所述的一種用于造船的油污水處理凈化設備,其特征在于:所述驅動軸(1501)的一端穿過蓋板(11)并與驅動電機(12)的輸出端固定連接,所述攪拌葉(1502)在驅動軸(1501)的外壁上呈等間距分布。
9.根據權利要求7所述的一種用于造船的油污水處理凈化設備,其特征在于:所述刮板(1504)的俯視截面呈弧形設計,所述刮板(1504)的一端與活性炭吸附層(14)的內側相接觸。
發明內容
本發明的目的是提供一種用于造船的油污水處理凈化設備,用以解決現有的用于造船的油污水處理凈化設備不便清理濾膜的缺陷。
為了解決上述技術問題,本發明提供如下技術方案:一種用于造船的油污水處理凈化設備,包括底板和輸送泵;
所述底板頂端的一側固定有濾箱,所述底板頂端濾箱的一側安裝有輸送泵,所述輸送泵的輸入端固定有連接管,所述輸送泵的輸出端固定有輸送管,所述底板頂端輸送泵的一側固定有濾罐,所述濾罐的頂端安裝有蓋板,所述蓋板的頂端安裝有驅動電機,所述濾罐底部的一側固定有排水管,所述濾罐的內壁上設置有活性炭吸附層,所述濾罐的內部設置有防堵結構;
所述濾箱的內部均勻設置有固定框,所述固定框的頂端均固定有固定板,所述固定框的內部均設置有超濾膜,所述超濾膜的一側均設置有反滲透膜,所述固定板底端的拐角位置處均設置有固定結構,所述固定結構包括卡接槽、卡接塊以及連接塊,所述卡接槽設置于濾箱內部固定板底端的拐角位置處,所述卡接槽的內部均設置有卡接塊,所述卡接塊的一側均固定有連接塊;
所述濾箱頂端的一側固定有進料口,所述濾箱頂部的一側固定有支撐板,所述支撐板的底部設置有收集結構。
使用該裝置時,通過設置有固定結構,實現了該裝置便于清理的功能,從而提高了該用于造船的油污水處理凈化設備在使用時的適用性;通過設置有收集結構,實現了該裝置便于收集的功能,從而提高了該用于造船的油污水處理凈化設備在使用時的便捷性;通過設置有防堵結構,實現了該裝置便于堵塞的功能,從而提高了該用于造船的油污水處理凈化設備在使用時的穩定性。
優選的,所述連接管遠離輸送泵的一端與濾箱相連通,所述輸送管遠離輸送泵的一端延伸至濾罐的內部。
優選的,所述收集結構包括抽屜、移動板、通孔以及拉手槽,所述抽屜設置于支撐板的底部,所述抽屜的一端固定有移動板,所述抽屜的底部均勻設置有通孔,所述移動板內部遠離抽屜的一側開設有拉手槽。將油污水通過進料口進入濾箱的內部,油污水會通過通孔落至濾箱的底部,而顆粒物會留在抽屜的內部,通過拉手槽呈“L”形設計,使手指可以受力。
優選的,所述抽屜和濾箱呈滑動連接設計,所述拉手槽的主視截面呈“L”形設計。拉動移動板,移動板帶動抽屜移至濾箱的外部,將抽屜內部的顆粒物清理后,將抽屜移至濾箱的內部,使抽屜的一端移至進料口的底部,在進料口的作用下,起到支撐抽屜的作用下,在抽屜的作用下,方便收集油污水中的顆粒物。
優選的,所述支撐板的主視截面呈“L”形設計,所述固定板的頂端固定有把手,所述反滲透膜的外側壁與固定框的內側壁固定連接。
優選的,所述卡接塊和濾箱通過卡接槽構成卡合結構,所述連接塊的頂端與固定板的底端固定連接。通過把手移動固定板,將固定框移至濾箱的內部,使卡接塊的一端與卡接槽的一端相抵觸,按動固定板,固定板通過連接塊帶動卡接塊移至卡接槽的內部,進而使固定框和濾箱相互固定,當油污水通過超濾膜,在超濾膜的篩濾作用下,使水分子可以通過,截留污水中的細微油粒及其它雜質,達到分離油水的目的,在反滲透膜的作用下,可以將油吸附,使水分子通過,需要清理時,通過把手拔動固定板,進而使固定框和濾箱相互分離,定期清洗超濾膜和反滲透膜,能夠有效地分離油水。
優選的,所述防堵結構包括驅動軸、攪拌葉、預留口以及刮板,所述驅動軸設置于濾罐的內部,所述驅動軸的外壁上均勻固定有攪拌葉,所述攪拌葉靠近驅動軸的一側均設置有預留口,所述驅動軸底端的一側固定有刮板。啟動輸送泵,輸送泵通過連接管將濾箱內部的水通過輸送管輸送至濾罐的內部,啟動驅動電機,驅動電機帶動驅動軸在濾罐的內部轉動,驅動軸帶動攪拌葉對水進行攪拌,使活性炭吸附層對水充分的過濾。
優選的,所述驅動軸的一端穿過蓋板并與驅動電機的輸出端固定連接,所述攪拌葉在驅動軸的外壁上呈等間距分布。在預留口的作用下,減少了攪拌葉在攪拌時的阻力,驅動軸同時帶動刮板在底板的底部轉動。
優選的,所述刮板的俯視截面呈弧形設計,所述刮板的一端與活性炭吸附層的內側相接觸。在刮板的作用下,防止排水管發生堵塞。
本發明提供的一種用于造船的油污水處理凈化設備,其優點在于:
通過設置有固定結構,通過把手移動固定板,將固定框移至濾箱的內部,使卡接塊的一端與卡接槽的一端相抵觸,按動固定板,固定板通過連接塊帶動卡接塊移至卡接槽的內部,進而使固定框和濾箱相互固定,當油污水通過超濾膜,在超濾膜的篩濾作用下,使水分子可以通過,截留污水中的細微油粒及其它雜質,達到分離油水的目的,在反滲透膜的作用下,可以將油吸附,使水分子通過,需要清理時,通過把手拔動固定板,進而使固定框和濾箱相互分離,定期清洗超濾膜和反滲透膜,能夠有效地分離油水,實現了該裝置便于清理的功能,從而提高了該用于造船的油污水處理凈化設備在使用時的適用性;
通過設置有收集結構,將油污水通過進料口進入濾箱的內部,油污水會通過通孔落至濾箱的底部,而顆粒物會留在抽屜的內部,通過拉手槽呈“L”形設計,使手指可以受力,拉動移動板,移動板帶動抽屜移至濾箱的外部,將抽屜內部的顆粒物清理后,將抽屜移至濾箱的內部,使抽屜的一端移至進料口的底部,在進料口的作用下,起到支撐抽屜的作用下,在抽屜的作用下,方便收集油污水中的顆粒物,實現了該裝置便于收集的功能,從而提高了該用于造船的油污水處理凈化設備在使用時的便捷性;
通過設置有防堵結構,啟動輸送泵,輸送泵通過連接管將濾箱內部的水通過輸送管輸送至濾罐的內部,啟動驅動電機,驅動電機帶動驅動軸在濾罐的內部轉動,驅動軸帶動攪拌葉對水進行攪拌,使活性炭吸附層對水充分的過濾,在預留口的作用下,減少了攪拌葉在攪拌時的阻力,驅動軸同時帶動刮板在底板的底部轉動,在刮板的作用下,防止排水管發生堵塞,實現了該裝置便于堵塞的功能,從而提高了該用于造船的油污水處理凈化設備在使用時的穩定性。
(發明人:盧紀文;陳虎;楊家結;李子陽;梁建華)






