公布日:2023.10.24
申請日:2023.09.12
分類號:F24H4/02(2022.01)I;F24H9/17(2022.01)I;F24H9/1809(2022.01)I;F24H9/20(2022.01)I;F24H15/38(2022.01)I
摘要
本發明公開了一種廢水回收熱泵型集成浴室及其熱回收方法,包括浴室本體、熱泵加熱系統、儲熱水箱、熱水增壓泵、混水閥、洗浴花灑、廢水回收系統和排氣扇,熱泵加熱系統處理得到的熱水連接到儲熱水箱,儲熱水箱內熱水通過熱水增壓泵以及管道連接到混水閥,混水閥同樣外接自來水,混水閥連接到洗浴花灑,浴室本體底面的排水坡下方對接設置有廢水回收系統,所述廢水回收系統處的廢水熱能由熱泵加熱系統吸收,所述浴室本體上部開設有散熱口,散熱口處安裝有排氣扇,為熱泵加熱系統中的翅片換熱器提供強制通風氣流。通過上述方式,本發明能夠充分回收洗浴廢水熱能,進行清水加熱,同時儲存需求熱水,完成洗浴熱水的生產和供應。

權利要求書
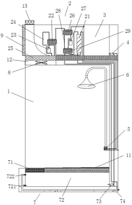
1.一種廢水回收熱泵型集成浴室,其特征在于:包括:浴室本體(1);熱泵加熱系統(2),設置在所述浴室本體(1)頂部,從廢水、洗浴廢熱氣以及壓縮機中吸收熱量,對自來水進行加熱;儲熱水箱(3),熱泵加熱系統(2)加熱后熱水儲存在所述儲熱水箱(3)中;混水閥(5),混水閥(5)外接自來水,所述儲熱水箱(3)內熱水通過熱水增壓泵(4)以及管道連接到混水閥(5);洗浴花灑(6),混水閥(5)連接到洗浴花灑(6),冷熱水經過混水閥(5)后經洗浴花灑(6)噴出,形成淋浴;廢水回收系統(7),設置在所述浴室本體(1)底部,洗浴廢水流入廢水回收系統(7),廢水經過廢水增壓泵后進入熱泵加熱系統(2);排氣扇(8),設置在所述浴室本體(1)上部的散熱口(12)處,排除浴室洗浴熱氣,同時為熱泵加熱系統(2)的翅片換熱器(25)提供強制通風氣流;所述熱泵加熱系統(2)包括依次連接的吸收廢水熱量的一級加熱裝置、吸收浴室環境熱量以及洗浴熱氣的二級加熱裝置以及吸收廢水剩余熱量的三級加熱裝置。
2.根據權利要求1所述的一種廢水回收熱泵型集成浴室,其特征在于:所述一級加熱裝置采用水水換熱器(21),水水換熱器(21)兩端分別連接自來水和廢水回收系統(7)處廢水,廢水熱能能夠換熱到自來水,提升自來水溫度。
3.根據權利要求1所述的一種廢水回收熱泵型集成浴室,其特征在于:所述二級加熱裝置包括二級套管冷凝器(22)、二級轉子壓縮機(23)、二級電子膨脹閥(24)以及翅片換熱器(25),經過一級加熱裝置的自來水接入二級套管冷凝器(22),二級轉子壓縮機(23)壓縮的制冷劑連接到二級套管冷凝器(22),二級轉子壓縮機(23)工作為二級套管冷凝器(22)提供熱能,一級加熱后自來水于二級套管冷凝器(22)處吸熱,進行二級加熱,經過二級套管冷凝器(22)的制冷劑經過二級電子膨脹閥(24)、翅片換熱器(25)后回流到二級轉子壓縮機(23),形成循環,翅片換熱器(25)用于吸收浴室環境溫度以及洗浴廢熱氣。
4.根據權利要求1所述的一種廢水回收熱泵型集成浴室,其特征在于:所述三級加熱裝置包括三級套管冷凝器(26)、三級轉子壓縮機(27)、三級電子膨脹閥(28)以及套管蒸發器(29),經過二級加熱裝置的自來水接入三級套管冷凝器(26),三級轉子壓縮機(27)壓縮的制冷劑連接到三級套管冷凝器(26),對其進行熱交換,經過三級套管冷凝器(26)熱交換后制冷劑通過三級電子膨脹閥(28)、套管蒸發器(29)后回流到三級轉子壓縮機(27),經過一級加熱裝置的廢水連接到套管蒸發器(29),套管蒸發器(29)吸收廢水中剩余熱量,經過套管蒸發器(29)的廢水連接到廢水回收系統(7)的排污管道(74),經過三級套管冷凝器(26)的自來水通過管道連接到儲熱水箱(3)。
5.根據權利要求3所述的一種廢水回收熱泵型集成浴室,其特征在于:所述翅片換熱器(25)置于所述排氣扇(8)上方。
6.根據權利要求1所述的一種廢水回收熱泵型集成浴室,其特征在于:所述廢水回收系統(7)包括過濾裝置(71)、廢水回收箱(72)、廢水增壓泵(73)以及排污管道(74),浴室本體(1)底面設置有排水坡(11),排水坡(11)低洼處下方對接設置有過濾裝置(71),過濾裝置(71)下方對接設置有廢水回收箱(72),廢水回收箱(72)內廢水經過廢水增壓泵(73)后進入浴室頂部的熱泵加熱系統(2)的一級加熱裝置,所述廢水回收箱(72)底部設置有排污口(721),排污口(721)連接排污管道(74),所述廢水回收箱(72)側端上部開設有與排污管道(74)相通的溢水口(722)。
7.根據權利要求1所述的一種廢水回收熱泵型集成浴室,其特征在于:所述浴室本體(1)頂部還開設有排氣口(13)。
8.一種采用權利要求1-7任意一項所述的一種廢水回收熱泵型集成浴室的熱回收方法,其特征在于:包括以下步驟:S1、一次回收,一開始洗浴花灑(6)噴灑自來水,洗浴廢水溫度與自來水一致,溫度為20度左右,自來水直接無熱交換的經過一級加熱裝置,自來水經過二級加熱裝置處的二級套管冷凝器(22),二級轉子壓縮機(23)工作將制冷劑壓縮至高溫高壓的氣體,溫度90度左右,為二級套管冷凝器(22)提供熱源,自來水與高溫高壓的氣體制冷劑進行熱交換,溫度為30度左右,熱交換后制冷劑為中溫高壓的氣態或氣液并存狀態,經過電子膨脹閥后快速冷卻變成低溫低壓的液態,翅片換熱器(25)吸收浴室環境溫度,制冷劑吸熱后為常溫低壓氣態,然后進入二級轉子壓縮機(23)壓縮,進行循環,自來水進入三級加熱裝置的三級套管冷凝器(26),三級轉子壓縮機(27)工作將制冷劑壓縮至高溫高壓的氣體,溫度90度左右,為三級套管冷凝器(26)提供熱源,自來水與高溫高壓的氣體制冷劑進行熱交換,溫度為50度左右,熱水進入儲熱水箱(3)儲存,套管蒸發器(29)吸收常溫的廢水熱量,完成制冷劑的循環;S2、二次回收,洗浴花灑(6)噴灑步驟S1加熱后溫水,洗浴后的廢水排水坡(11)流入過濾裝置(71),對廢水中的頭發及其他雜物進行過濾后,匯入廢水回收箱(72),溫度為30度左右,廢水經過廢水增壓泵(73)后進入一級加熱裝置,廢水和自來水于水水換熱器(21)處進行水水換熱,換熱后廢水以及自來水溫度為25度左右,一次加熱后自來水進入二級加熱裝置,與二級轉子壓縮機(23)壓縮高溫高壓的氣體制冷劑進行熱交換,溫度為30度左右,此時翅片換熱器(25)吸收浴室熱氣,制冷劑能夠快速吸熱后為常溫低壓氣態,然后進入二級轉子壓縮機(23)處壓縮進行循環,此時二級轉子壓縮機(23)相比于常溫加熱時間端,效率高,二次加熱后自來水進入三級加熱裝置,與高溫高壓的氣體制冷劑進行熱交換,溫度為50度左右,熱水進入儲熱水箱(3)儲存,套管蒸發器(29)吸收的一級加熱裝置后廢水熱量,25度左右,完成制冷劑的循環,相比于常溫的洗浴廢水,三級轉子壓縮機(27)加熱時間短、效率高,經過套管蒸發器(29)的廢水為10度左右并連接到排污管道(74);S3、重復回收,重復以上步驟S2中的二次回收,廢水溫度隨洗浴次數越來越高,轉子壓縮機加熱時間越來越短,功放越來越高,直至達到其最高效率。
發明內容
本發明主要解決的技術問題是提供一種廢水回收熱泵型集成浴室及其熱回收方法,能夠充分回收洗浴廢水熱能,進行清水加熱,同時儲存需求熱水,完成洗浴熱水的生產和供應。
為解決上述技術問題,本發明采用的一個技術方案是:提供一種廢水回收熱泵型集成浴室,該種廢水回收熱泵型集成浴室包括:浴室本體;熱泵加熱系統,設置在所述浴室本體頂部,從廢水、洗浴廢熱氣以及壓縮機中吸收熱量,對自來水進行加熱;儲熱水箱,熱泵加熱系統加熱后熱水儲存在所述儲熱水箱中;混水閥,混水閥外接自來水,所述儲熱水箱內熱水通過熱水增壓泵以及管道連接到混水閥;洗浴花灑,混水閥連接到洗浴花灑,冷熱水經過混水閥后經洗浴花灑噴出,形成淋浴;廢水回收系統,設置在所述浴室本體底部,洗浴廢水流入廢水回收系統,廢水經過廢水增壓泵后進入熱泵加熱系統;排氣扇,設置在所述浴室本體上部的散熱口處,排除浴室洗浴熱氣,同時為熱泵加熱系統的翅片換熱器提供強制通風氣流;所述熱泵加熱系統包括依次連接的吸收廢水熱量的一級加熱裝置、吸收浴室環境熱量以及洗浴熱氣的二級加熱裝置以及吸收廢水剩余熱量的三級加熱裝置。
優選的是,所述一級加熱裝置采用水水換熱器,水水換熱器兩端分別連接自來水和廢水回收系統處廢水,廢水熱能能夠換熱到自來水,提升自來水溫度。
優選的是,所述二級加熱裝置包括二級套管冷凝器、二級轉子壓縮機、二級電子膨脹閥以及翅片換熱器,經過一級加熱裝置的自來水接入二級套管冷凝器,二級轉子壓縮機壓縮的制冷劑連接到二級套管冷凝器,二級轉子壓縮機工作為二級套管冷凝器提供熱能,一級加熱后自來水于二級套管冷凝器處吸熱,進行二級加熱,經過二級套管冷凝器的制冷劑經過二級電子膨脹閥、翅片換熱器后回流到二級轉子壓縮機,形成循環,翅片換熱器用于吸收浴室環境溫度以及洗浴廢熱氣。
優選的是,所述三級加熱裝置包括三級套管冷凝器、三級轉子壓縮機、三級電子膨脹閥以及套管蒸發器,經過二級加熱裝置的自來水接入三級套管冷凝器,三級轉子壓縮機壓縮的制冷劑連接到三級套管冷凝器,對其進行熱交換,經過三級套管冷凝器熱交換后制冷劑通過三級電子膨脹閥、套管蒸發器后回流到三級轉子壓縮機,經過一級加熱裝置的廢水連接到套管蒸發器,套管蒸發器吸收廢水中剩余熱量,經過套管蒸發器的廢水連接到廢水回收系統的排污管道,經過三級套管冷凝器的自來水通過管道連接到儲熱水箱。
優選的是,所述翅片換熱器置于所述排氣扇上方。
優選的是,所述廢水回收系統包括過濾裝置、廢水回收箱、廢水增壓泵以及排污管道,浴室本體底面設置有排水坡,排水坡低洼處下方對接設置有過濾裝置,過濾裝置下方對接設置有廢水回收箱,廢水回收箱內廢水經過廢水增壓泵后進入浴室頂部的熱泵加熱系統的一級加熱裝置,所述廢水回收箱)底部設置有排污口,排污口連接排污管道,所述廢水回收箱側端上部開設有與排污管道相通的溢水口。
優選的是,所述浴室本體頂部還開設有排氣口。
一種廢水回收熱泵型集成浴室的熱回收方法,包括以下步驟:S1、一次回收,一開始洗浴花灑噴灑自來水,洗浴廢水溫度與自來水一致,溫度為20度左右,自來水直接無熱交換的經過一級加熱裝置,自來水經過二級加熱裝置處的二級套管冷凝器,二級轉子壓縮機工作將制冷劑壓縮至高溫高壓的氣體,溫度90度左右,為二級套管冷凝器提供熱源,自來水與高溫高壓的氣體制冷劑進行熱交換,溫度為30度左右,熱交換后制冷劑為中溫高壓的氣態或氣液并存狀態,經過電子膨脹閥后快速冷卻變成低溫低壓的液態,翅片換熱器吸收浴室環境溫度,制冷劑吸熱后為常溫低壓氣態,然后進入二級轉子壓縮機壓縮,進行循環,自來水進入三級加熱裝置的三級套管冷凝器,三級轉子壓縮機工作將制冷劑壓縮至高溫高壓的氣體,溫度90度左右,為三級套管冷凝器提供熱源,自來水與高溫高壓的氣體制冷劑進行熱交換,溫度為50度左右,熱水進入儲熱水箱儲存,套管蒸發器吸收常溫的廢水熱量,完成制冷劑的循環;S2、二次回收,洗浴花灑噴灑步驟S1加熱后溫水,洗浴后的廢水排水坡流入過濾裝置,對廢水中的頭發及其他雜物進行過濾后,匯入廢水回收箱,溫度為30度左右,廢水經過廢水增壓泵后進入一級加熱裝置,廢水和自來水于水水換熱器處進行水水換熱,換熱后廢水以及自來水溫度為25度左右,一次加熱后自來水進入二級加熱裝置,與二級轉子壓縮機壓縮高溫高壓的氣體制冷劑進行熱交換,溫度為30度左右,此時翅片換熱器吸收浴室熱氣,此時洗浴室熱氣溫度高于浴室環境溫度,制冷劑能夠快速吸熱后為常溫低壓氣態,然后進入二級轉子壓縮機處壓縮進行循環,此時二級轉子壓縮機相比于常溫加熱時間端,效率高,二次加熱后自來水進入三級加熱裝置,與高溫高壓的氣體制冷劑進行熱交換,溫度為50度左右,熱水進入儲熱水箱儲存,套管蒸發器吸收的一級加熱裝置后廢水熱量,25度左右,完成制冷劑的循環,相比于常溫的洗浴廢水,三級轉子壓縮機加熱時間短、效率高,經過套管蒸發器的廢水為10度左右并連接到排污管道;S3、重復回收,重復以上步驟S2中的二次回收,廢水溫度隨洗浴次數越來越高,轉子壓縮機加熱時間越來越短,功放越來越高,直至達到其最高效率。
與現有技術相比,本發明的有益效果是:充分考慮洗浴過程的可回收資源,包括廢水以及廢熱氣,通過熱泵技術,合理的對上述廢熱進行余熱回收,利用熱泵原理回收廢水熱量,充分利用廢水資源,節水節電,降低熱水能源成本,同時對集成浴室中的洗浴廢水和需要排除的廢熱汽進行余熱回收,加熱清水;系統集成性高,改變了以往集成浴室的設計和結構,滿足僅提供自來水來源和系統需求電力,就可以完成洗浴熱水的生產和供給;設計有廢水回收系統和熱泵加熱系統,充分考慮廢水回收和熱水供應的特性,設計上下分布的水箱結構;熱水儲水箱集成在浴室中,無需外部供熱水,無集中熱源的建筑也可以安裝。
(發明人:黃晨東;王飛)






