公布日:2024.04.09
申請日:2024.03.04
分類號:B01F35/71(2022.01)I;B01F33/82(2022.01)I;B01F35/80(2022.01)I;C02F1/00(2023.01)I;C02F101/10(2006.01)N
摘要
本發明涉及污水處理技術領域,具體涉及基于固廢發電的污水處理系統及其處理方法,包括罐體,以及安裝在其上部的蓋體,并且蓋體上還安裝有進液管,進液管下側連通有多個分流管;以及分流機構,分流機構包括固定安裝在罐體內壁上的連接架,連接架上安裝有進藥管;還包括與罐體保持轉動連接的轉動柱,轉動柱的下端固定安裝有圓盤件,圓盤件的底面通過連接柱固定連接有轉動件,位于轉動件以及圓盤件中部之間還套設有移動盤。通過設置的分流機構配合設置的分流管,能夠根據注入罐體內的污水量自適應的調整注入的處理劑的用量;并且通過設置的圓盤件以及移動盤,能夠有效的提高處理劑與污水之間的充分混合,提高污水處理效率。

權利要求書
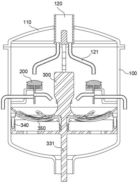
1.基于固廢發電的污水處理系統,其特征在于,包括:罐體(100),以及安裝在其上部的蓋體(110),并且蓋體(110)上還安裝有進液管(120),進液管(120)下側連通有多個分流管(121);以及分流機構(200),均勻的設置在多個分流管(121)的下側位置,分流機構(200)包括固定安裝在罐體(100)內壁上的連接架(210),連接架(210)上安裝有進藥管(211),以及固定安裝在連接架(210)上的套管(220),套管(220)內活動連接有分流臺(230),分流臺(230)的下端固定連接有阻擋件(240),阻擋件(240)上開設有通孔(241),阻擋件(240)上位于通孔(241)一側固定安裝有傾斜管(243),通孔(241)與進藥管(211)出口錯位設置;還包括與罐體(100)保持轉動連接的轉動柱(300),轉動柱(300)的下端固定安裝有圓盤件(310),圓盤件(310)的頂面貫穿開設有多個通槽(311),圓盤件(310)的底面通過連接柱(312)固定連接有轉動件(330),位于轉動件(330)以及圓盤件(310)中部之間還套設有移動盤(350),移動盤(350)上也均勻貫穿開設有多個條形槽(351),移動盤(350)的下端通過彈性環(360)與套接在連接柱(312)外壁上的搭接環(361)彈性連接,且搭接環(361)與轉動件(330)之間保持轉動連接,轉動件(330)的下端通過連接軸(331)與外部電機輸出端連接;還包括設置在套管(220)內壁上的接觸傳感器(221),以及固定安裝在阻擋件(240)下端的通電磁吸塊(242);位于相鄰兩個通槽(311)中部之間還活動連接有磁吸片(320);當分流臺(230)在水流沖擊時下移并與接觸傳感器(221)接觸時,通電磁吸塊(242)通電,通電磁吸塊(242)會與磁吸片(320)磁性吸附;移動盤(350)的底面圓周外側固定安裝有多個凸起(352);轉動件(330)的上呈環狀結構活動連接有多個電動伸縮桿(340),其中一半電動伸縮桿(340)由外部電源控制通電并處于伸長狀態,當接通外部電源時,處于伸長狀態的電動伸縮桿(340)的上端會與凸起(352)接觸;另一半電動伸縮桿(340)由接觸傳感器(221)控制,當分流臺(230)與接觸傳感器(221)接觸時,另一半電動伸縮桿(340)才會處于伸長狀態并能夠與凸起(352)接觸;轉動柱(300)與圓盤件(310)連接處設置有弧形面(301),并且該弧形面(301)與傾斜管(243)下端出口相對應。
2.根據權利要求1所述的基于固廢發電的污水處理系統,其特征在于,進液管(120)的中部固定連接有分流柱,分流管(121)的上端口均勻分布在分流柱的四周;分流管(121)的下端出口與分流臺(230)對齊,從分流管(121)流出的水流能夠落在分流臺(230)上。
3.根據權利要求2所述的基于固廢發電的污水處理系統,其特征在于,還包括設置于分流臺(230)與套管(220)中部之間的彈簧(232),當水流沖擊分流臺(230)時,彈簧(232)被壓縮,進藥管(211)與通孔(241)的重合度增加;以及固定安裝在分流臺(230)頂面四周的阻擋環(231)。
4.一種基于固廢發電的污水處理方法,應用于如權利要求3中所述的基于固廢發電的污水處理系統,其特征在于,包括以下步驟:S10:將進液管(120)與外部污水管道保持連通,在污水處理時,污水會流經進液管(120)并從多個分流管(121)流出,此時利用外部的泵體將處理劑通過進藥管(211)向罐體(100)內注入,受到阻擋件(240)的阻礙,當作用在分流臺(230)上的水流較小時,通孔(241)與進藥管(211)之間的重合度較;S20:當污水以及處理劑分別被注入到罐體(100)內時,此時外部電機會帶動設置的轉動件(330)、圓盤件(310)以及轉動柱(300)進行轉動;從圓盤件(310)四周流向其中部的污水會與沿著弧形面(301)流通的處理劑融合碰撞,使得處理劑與污水充分的接觸混合;S30:當污水管道的污水量較大時,此時作用在分流臺(230)上的沖擊力較大,進而使得分流臺(230)下移,使得進藥管(211)與通孔(241)之間的重合度增加,進而自適應的增加處理劑的量,與此同時,分流臺(230)下端外壁會與接觸傳感器(221)接觸,使得通電磁吸塊(242)會與磁吸片(320)磁性吸附,增加混合液的流動性,并且此時所有電動伸縮桿(340)都能夠與凸起(352)外壁接觸,使得移動盤(350)振動,進一步增加處理劑與污水之間的充分融合。
發明內容
針對現有技術所存在的上述缺點,本發明提供了基于固廢發電的污水處理系統及其處理方法,能夠有效地解決現有污水處理環節中,采用污水處理劑進行污水處理時,通常時手動的進行投放,依靠攪拌設備使得污水處理劑能夠充分的與污水接觸并對其進行處理,并且投放的污水處理劑的量還需要根據待處理污水的量進行定量的投放,使得污水處理效率較低的問題。
為實現以上目的,本發明通過以下技術方案予以實現:
本發明提供基于固廢發電的污水處理系統,包括罐體,以及安裝在其上部的蓋體,并且蓋體上還安裝有進液管,進液管下側連通有多個分流管;
以及分流機構,均勻的設置在多個分流管的下側位置,分流機構包括固定安裝在罐體內壁上的連接架,連接架上安裝有進藥管,以及固定安裝在連接架上的套管,套管內活動連接有分流臺,分流臺的下端固定連接有阻擋件,阻擋件上開設有通孔,阻擋件上位于通孔一側固定安裝有傾斜管,通孔與進藥管出口錯位設置;
還包括與罐體保持轉動連接的轉動柱,轉動柱的下端固定安裝有圓盤件,圓盤件的頂面貫穿開設有多個通槽,圓盤件的底面通過連接柱固定連接有轉動件,位于轉動件以及圓盤件中部之間還套設有移動盤,移動盤上也均勻貫穿開設有多個條形槽,移動盤的下端通過彈性環與套接在連接柱外壁上的搭接環彈性連接,且搭接環與轉動件之間保持轉動連接,轉動件的下端通過連接軸與外部電機輸出端連接。
進一步地,進液管的中部固定連接有分流柱,分流管的上端口均勻分布在分流柱的四周;分流管的下端出口與分流臺對齊,從分流管流出的水流能夠落在分流臺上。
進一步地,還包括設置于分流臺與套管中部之間的彈簧,當水流沖擊分流臺時,彈簧被壓縮,進藥管與通孔的重合度增加;以及固定安裝在分流臺頂面四周的阻擋環。
進一步地,還包括設置在套管內壁上的接觸傳感器,以及固定安裝在阻擋件下端的通電磁吸塊;位于相鄰兩個通槽中部之間還活動連接有磁吸片;當分流臺在水流沖擊時下移并與接觸傳感器接觸時,通電磁吸塊通電,通電磁吸塊會與磁吸片磁性吸附。
進一步地,移動盤的底面圓周外側固定安裝有多個凸起;轉動件的上呈環狀結構活動連接有多個電動伸縮桿,其中一半電動伸縮桿由外部電源控制通電并處于伸長狀態,當接通外部電源時,處于伸長狀態的電動伸縮桿的上端會與凸起接觸;另一半電動伸縮桿由接觸傳感器控制,當分流臺與接觸傳感器接觸時,另一半電動伸縮桿才會處于伸長狀態并能夠與凸起接觸。
進一步地,轉動柱與圓盤件連接處設置有弧形面,并且該弧形面與傾斜管下端出口相對應。
一種基于固廢發電的污水處理方法,包括以下步驟:
S10:將進液管與外部污水管道保持連通,在污水處理時,污水會流經進液管并從多個分流管流出,此時利用外部的泵體將處理劑通過進藥管向罐體內注入,受到阻擋件的阻礙,當作用在分流臺上的水流較小時,通孔與進藥管之間的重合度較;
S20:當污水以及處理劑分別被注入到罐體內時,此時外部電機會帶動設置的轉動件、圓盤件以及轉動柱進行轉動;從圓盤件四周流向其中部的污水會與沿著弧形面流通的處理劑融合碰撞,使得處理劑與污水充分的接觸混合;
S30:當污水管道的污水量較大時,此時作用在分流臺上的沖擊力較大,進而使得分流臺下移,使得進藥管與通孔之間的重合度增加,進而自適應的增加處理劑的量,與此同時,分流臺下端外壁會與接觸傳感器接觸,使得通電磁吸塊會與磁吸片磁性吸附,增加混合液的流動性,并且此時所有電動伸縮桿都能夠與凸起外壁接觸,使得移動盤振動,進一步增加處理劑與污水之間的充分融合。
有益效果
本發明提供的技術方案,與已知的公有技術相比,具有如下有益效果:
本發明通過設置的分流機構配合設置的分流管,能夠根據注入罐體內的污水量自適應的調整注入的處理劑的用量;并且通過設置的圓盤件以及移動盤,能夠有效的提高處理劑與污水之間的充分混合,提高污水處理效率。
(發明人:孫森林;紀偉潔;馬繼華;王晶瑩;陳勇;許旭佳;陳懿修;李榮凱)






