公布日:2024.04.09
申請日:2024.01.25
分類號:C02F3/28(2023.01)I;C02F3/00(2023.01)I
摘要
本發明提供一種厭氧生物膜污水處理裝置及方法,裝置包括反應器,反應器內設置包括陽極填料層及陰極填料層的填料電極層,陽極填料層及陰極填料層分別電性連接穩壓直流電源的正極及負極,穩壓直流電源用于在電極啟動階段及填料掛膜階段為填料電極層持續性供電,且穩壓直流電源用于在正常運行階段為填料電極層間歇性供電。在正常運行階段間歇性供電,在不影響污水處理效能的同時有效的降低電能損耗,通過獲取反應器內的pH值及氧化還原電位值,可規避在正常運行階段,且未供電時,反應器內產生酸抑制。

權利要求書
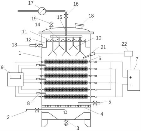
1.一種厭氧生物膜污水處理裝置,其特征在于,包括反應器,所述反應器內設置填料電極層,所述填料電極層包括分別與穩壓直流電源的負極及正極連接的陰極填料層及陽極填料層,所述穩壓直流電源用于在電極啟動階段及填料掛膜階段為所述填料電極層持續性供電,以于所述填料電極層上生長厭氧生物膜,且所述穩壓直流電源用于在正常運行階段基于所述反應器內的pH值及氧化還原電位值為所述填料電極層間歇性供電,以消除酸抑制。
2.根據權利要求1所述的厭氧生物膜污水處理裝置,其特征在于,所述陰極填料層及所述陽極填料層均電性連接電化學監測組件,所述反應器上設置監測探頭,所述監測探頭通過自動控制器電性連接所述穩壓直流電源,所述監測探頭用于監測所述反應器內的pH值及氧化還原電位值。
3.根據權利要求1所述的厭氧生物膜污水處理裝置,其特征在于,所述反應器內自上而下設置三角出水堰及多孔布水板,以將所述反應器內自上而下分隔為回收區、處理區及引入區,所述三角出水堰與所述反應器的內側壁之間圍合形成位于所述回收區內的集水槽,所述反應器的側壁連接進水管及出水管,所述進水管連通所述引入區,所述出水管連通所述回收區,所述填料電極層位于所述處理區。
4.根據權利要求1所述的厭氧生物膜污水處理裝置,其特征在于,所述陰極填料層包括若干個沿所述反應器的徑向間隔均勻分布的填料盤,所述填料盤包括輪轂狀骨架及鑲嵌于所述輪轂狀骨架上的若干個導電毛刷,所述輪轂狀骨架相對的兩端均設置金屬接線端,兩所述金屬接線端用于分別電性連接所述穩壓直流電源及所述電化學監測組件。
5.根據權利要求4所述的厭氧生物膜污水處理裝置,其特征在于,所述導電毛刷的直徑自所述輪轂狀骨架的中心向所述輪轂狀骨架的側緣方向逐漸增加。
6.根據權利要求4所述的厭氧生物膜污水處理裝置,其特征在于,所述輪轂狀骨架的材料為鈦絲、銅絲或不銹鋼絲,所述導電毛刷的材料為碳纖維絲。
7.根據權利要求1所述的厭氧生物膜污水處理裝置,其特征在于,所述反應器上設置集氣組件,所述集氣組件包括集氣總管及分流管,所述分流管位于所述回收區內,所述集氣總管的一端連通所述分流管,所述集氣總管的另一端穿過所述反應器的頂部,并依次連接控制閥及流量計,所述分流管連通若干個集氣支管,所述集氣支管遠離所述分流管的一端穿過所述三角出水堰,并連接三相分離器,所述三相分離器位于所述處理區內。
8.根據權利要求1所述的厭氧生物膜污水處理裝置,其特征在于,所述反應器的底部設置與所述引入區連通的放空管,所述反應器的側壁設置與所述處理區連通的排泥管,所述排泥管位于所述填料電極層與所述多孔布水板之間,所述反應器的頂部設置檢查口及泄壓閥。
9.一種厭氧生物膜污水處理方法,應用于權利要求1~8任一項所述的厭氧生物膜污水處理裝置,其特征在于,包括以下步驟:將接種源與營養液混合后形成混合液,將所述混合液泵入反應器內,直至所述混合液淹沒并溢出所述反應器,將溢出的所述混合液再次泵入所述反應器內,以完成全回流操作;通過穩壓直流電源為包括陰極填料層及陽極填料層的填料電極層供電,監測電路電流及所述陽極填料層的電勢,當所述電路電流穩定且所述陽極填料層的電勢低于電勢閾值時,判斷完成電極啟動階段;調節第一待處理污水的碳硫比,以形成掛膜污水,將所述掛膜污水泵入所述反應器內,直至所述掛膜污水淹沒所述反應器,通過所述穩壓直流電源為所述填料電極層供電,以于所述填料電極層上生長厭氧生物膜,當所述反應器的產氣量穩定后,判斷完成填料掛膜階段;將第二待處理污水泵入所述反應器內,并關閉所述穩壓直流電源,以于正常運行階段下進行污水處理,獲取所述反應器內的pH值及氧化還原電位值,當所述pH值小于第一閾值和/或所述氧化還原電位值大于第二閾值時,控制所述穩壓直流電源為所述填料電極層供電,直至所述pH值大于所述第一閾值且所述氧化還原電位值小于所述第二閾值后,控制所述穩壓直流電源斷電。
10.根據權利要求9所述的厭氧生物膜污水處理方法,其特征在于,所述碳硫比的范圍為2.5gCOD/gSO42-~10gCOD/gSO42-。
發明內容
針對現有技術的不足,本發明的目的在于提供一種厭氧生物膜污水處理裝置及方法,旨在解決現有技術中通過持續為厭氧反應器中的陽極電極及陰極電極供給外部電壓,以提高甲烷產率及COD去除率的過程中,極大的提高了電能的消耗的技術問題。
為了實現上述目的,本發明是通過如下技術方案來實現的:
一種厭氧生物膜污水處理裝置,包括反應器,所述反應器內設置填料電極層,所述填料電極層包括分別與穩壓直流電源的負極及正極連接的陰極填料層及陽極填料層,所述穩壓直流電源用于在電極啟動階段及填料掛膜階段為所述填料電極層持續性供電,以于所述填料電極層上生長厭氧生物膜,且所述穩壓直流電源用于在正常運行階段基于所述反應器內的pH值及氧化還原電位值為所述填料電極層間歇性供電,以消除酸抑制。
與現有技術相比,本發明的有益效果在于:在復雜的厭氧消化體系中引入所述填料電極層,所述填料電極層的作用是調節所述反應器內的微生物群落結構,構建所述厭氧生物膜,在所述填料掛膜階段完成后,所述填料電極層是否通電,對污水處理的效能影響較小,通過僅在所述電極啟動階段及所述填料掛膜階段為所述填料電極層持續性供電,而在所述正常運行階段間歇性供電,可在不影響污水處理效能的情況下,減少所述反應器的電能消耗,提升能源回報率;當在所述正常運行階段,且未進行供電時,容易因污水的有機負荷過高、底物C/N失衡、底物中含有某些有害物質、或存在其他不利環境因子等原因造成酸抑制現象,抑制所述厭氧生物膜的產甲烷活性,進而導致體系失穩甚至崩潰,通過所述反應器內的pH值及氧化還原電位值,可判斷所述反應器內是否處于失穩狀態,進而通過對所述填料電極層供電,以施加一定的正向干預,使陽極微生物可以代謝小分子有機酸產生電子,在一定程度上減輕酸累積,過多的氫離子可以在陰極合成氫氣,提高體系的pH值,并為所述厭氧生物膜提供底物,促進其代謝活性,規避酸抑制的情況,確保體系的穩定性。
進一步,所述陰極填料層及所述陽極填料層均電性連接電化學監測組件,所述反應器上設置監測探頭,所述監測探頭通過自動控制器電性連接所述穩壓直流電源,所述監測探頭用于監測所述反應器內的pH值及氧化還原電位值。
更進一步,所述反應器內自上而下設置三角出水堰及多孔布水板,以將所述反應器內自上而下分隔為回收區、處理區及引入區,所述三角出水堰與所述反應器的內側壁之間圍合形成位于所述回收區內的集水槽,所述反應器的側壁連接進水管及出水管,所述進水管連通所述引入區,所述出水管連通所述回收區,所述填料電極層位于所述處理區。
更進一步,所述陰極填料層包括若干個沿所述反應器的徑向間隔均勻分布的填料盤,所述填料盤包括輪轂狀骨架及鑲嵌于所述輪轂狀骨架上的若干個導電毛刷,所述輪轂狀骨架相對的兩端均設置金屬接線端,兩所述金屬接線端用于分別電性連接所述穩壓直流電源及所述電化學監測組件。
更進一步,所述導電毛刷的直徑自所述輪轂狀骨架的中心向所述輪轂狀骨架的側緣方向逐漸增加。
更進一步,所述輪轂狀骨架的材料為鈦絲、銅絲或不銹鋼絲,所述導電毛刷的材料為碳纖維絲。
更進一步,所述反應器上設置集氣組件,所述集氣組件包括集氣總管及分流管,所述分流管位于所述回收區內,所述集氣總管的一端連通所述分流管,所述集氣總管的另一端穿過所述反應器的頂部,并依次連接控制閥及流量計,所述分流管連通若干個集氣支管,所述集氣支管遠離所述分流管的一端穿過所述三角出水堰,并連接三相分離器,所述三相分離器位于所述處理區內。
更進一步,所述反應器的底部設置與所述引入區連通的放空管,所述反應器的側壁設置與所述處理區連通的排泥管,所述排泥管位于所述填料電極層與所述多孔布水板之間,所述反應器的頂部設置檢查口及泄壓閥。
本發明還提供了一種厭氧生物膜污水處理方法,應用于上述技術方案中所述的厭氧生物膜污水處理裝置,包括如下步驟:
將接種源與營養液混合后形成混合液,將所述混合液泵入反應器內,直至所述混合液淹沒并溢出所述反應器,將溢出的所述混合液再次泵入所述反應器內,以完成全回流操作;
通過穩壓直流電源為包括陰極填料層及陽極填料層的填料電極層供電,監測電路電流及所述陽極填料層的電勢,當所述電路電流穩定且所述陽極填料層的電勢低于電勢閾值時,判斷完成電極啟動階段;
調節第一待處理污水的碳硫比,以形成掛膜污水,將所述掛膜污水泵入所述反應器內,直至所述掛膜污水淹沒所述反應器,通過所述穩壓直流電源為所述填料電極層供電,以于所述填料電極層上生長厭氧生物膜,當所述反應器的產氣量穩定后,判斷完成填料掛膜階段;
將第二待處理污水泵入所述反應器內,并關閉所述穩壓直流電源,以于正常運行階段下進行污水處理,獲取所述反應器內的pH值及氧化還原電位值,當所述pH值小于第一閾值和/或所述氧化還原電位值大于第二閾值時,控制所述穩壓直流電源為所述填料電極層供電,直至所述pH值大于所述第一閾值且所述氧化還原電位值小于所述第二閾值后,控制所述穩壓直流電源斷電。
進一步,所述碳硫比的范圍為2.5gCOD/gSO42-~10gCOD/gSO42-。
(發明人:曾凱;謝錦文;郭澤沖;李攀榮;周佳琳;胡昌順;吳勝之;王佳琪;李文)






