公布日:2024.04.09
申請日:2024.01.15
分類號:C02F3/08(2023.01)I
摘要
本發明公開了一種高效接觸反應的生物轉盤污水處理裝置,涉及污水處理技術領域,包括殼體,固定輥上安裝多個附著板,固定輥內部設有儲存腔,固定輥位于排出腔內部滑動連接有閉合塊,固定輥于排出腔內部安裝有彈簧,固定輥位于儲存腔的內部滾動有用于和閉合塊抵觸的轉動輥,殼體底端轉動連接有螺旋桿,本發明一種高效接觸反應的生物轉盤污水處理裝置,通過隔板進行阻流,附著板呈傾斜狀,從而在轉動時,將水流緩緩推向第一沉淀池方向,從而減緩水流的移動,附著板上事先接種有凈化菌類,從而便于對污水進行凈化,旋出堵頭,補充菌液,轉動輥壓迫固定輥底部的閉合塊,從而完成對菌類的補充,螺旋桿用于泥沙排出和高濃度污水的回流。

權利要求書
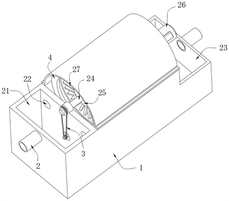
1.一種高效接觸反應的生物轉盤污水處理裝置,包括殼體(1),其特征在于:所述殼體(1)上連接有凈化機構(2),所述凈化機構(2)包括轉動腔(29),所述殼體(1)的中間位置設有轉動腔(29),所述殼體(1)上轉動連接有轉動軸(24),所述轉動軸(24)位于轉動腔(29)內部的一端固定連接多個固定輥(25),所述固定輥(25)配有同心的安裝環(28),所述固定輥(25)與安裝環(28)之間安裝多個附著板(27),所述殼體(1)上連接有添加機構(5),所述添加機構(5)包括儲存腔(53),所述固定輥(25)內部設有儲存腔(53),所述固定輥(25)的外壁設有多個排出腔(54),所述固定輥(25)上安裝有用于排出腔(54)和附著板(27)之間連通的導管(57),所述固定輥(25)的內壁設有用于排出腔(54)和儲存腔(53)連通的連通口(59),所述固定輥(25)位于排出腔(54)內部滑動連接有閉合塊(55),所述固定輥(25)于排出腔(54)內部安裝有彈簧(56),所述彈簧(56)用于推動閉合塊(55)對連通口(59)進行阻斷,所述固定輥(25)位于儲存腔(53)的內部滾動有用于和閉合塊(55)抵觸的轉動輥(58)。
2.根據權利要求1所述的一種高效接觸反應的生物轉盤污水處理裝置,其特征在于:所述附著板(27)為海綿板,所述附著板(27)傾斜固定。
3.根據權利要求1所述的一種高效接觸反應的生物轉盤污水處理裝置,其特征在于:所述殼體(1)的兩端分別設有第一沉淀池(21)和第二沉淀池(23),所述殼體(1)位于第一沉淀池(21)和轉動腔(29)之間設有進水口(22)。
4.根據權利要求1所述的一種高效接觸反應的生物轉盤污水處理裝置,其特征在于:所述殼體(1)的一端安裝有電機(26),所述轉動軸(24)安裝于電機(26)的輸出端上。
5.根據權利要求4所述的一種高效接觸反應的生物轉盤污水處理裝置,其特征在于:所述殼體(1)上連接有清理機構(3),所述清理機構(3)包括螺旋桿(32),所述殼體(1)位于轉動腔(29)的底端轉動連接有螺旋桿(32),所述螺旋桿(32)與轉動軸(24)之間纏繞連接有皮帶(31),所述螺旋桿(32)的一端伸入第一沉淀池(21)的內部。
6.根據權利要求5所述的一種高效接觸反應的生物轉盤污水處理裝置,其特征在于:所述螺旋桿(32)的邊緣固定連接有橡膠條(33),所述橡膠條(33)與殼體(1)抵觸。
7.根據權利要求1所述的一種高效接觸反應的生物轉盤污水處理裝置,其特征在于:所述殼體(1)位于轉動腔(29)的內部安裝有多個隔板(4),所述隔板(4)呈圓環狀,所述隔板(4)位于兩個相鄰的固定輥(25)中間。
8.根據權利要求1所述的一種高效接觸反應的生物轉盤污水處理裝置,其特征在于:所述固定輥(25)上旋接有堵頭(52),所述儲存腔(53)通過堵頭(52)與外部連通,所述堵頭(52)上設有氣孔(51)。
9.根據權利要求1所述的一種高效接觸反應的生物轉盤污水處理裝置,其特征在于:所述閉合塊(55)呈三角形結構,所述閉合塊(55)為橡膠材質。
10.根據權利要求1所述的一種高效接觸反應的生物轉盤污水處理裝置,其特征在于:所述轉動輥(58)呈圓柱形結構,所述轉動輥(58)為金屬材質。
發明內容
本發明的目的在于提供一種高效接觸反應的生物轉盤污水處理裝置,以解決上述背景技術中提出的問題。
為實現上述目的,本發明提供如下技術方案:一種高效接觸反應的生物轉盤污水處理裝置,包括殼體,所述殼體上連接有凈化機構,所述凈化機構包括轉動腔,所述殼體的中間位置設有轉動腔,所述殼體上轉動連接有轉動軸,所述轉動軸位于轉動腔內部的一端固定連接多個固定輥,所述固定輥配有同心的安裝環,所述固定輥與安裝環之間安裝多個附著板,所述殼體上連接有添加機構,所述添加機構包括儲存腔,所述固定輥內部設有儲存腔,所述固定輥的外壁設有多個排出腔,所述固定輥上安裝有用于排出腔和附著板之間連通的導管,所述固定輥的內壁設有用于排出腔和儲存腔連通的連通口,所述固定輥位于排出腔內部滑動連接有閉合塊,所述固定輥于排出腔內部安裝有彈簧,所述彈簧用于推動閉合塊對連通口進行阻斷,所述固定輥位于儲存腔的內部滾動有用于和閉合塊抵觸的轉動輥。
作為本發明的一種優選技術方案,所述附著板為海綿板,所述附著板傾斜固定。
通過上述技術方案,從而便于菌類的附著,同時便于對污水進行阻流。
作為本發明的一種優選技術方案,所述殼體的兩端分別設有第一沉淀池和第二沉淀池,所述殼體位于第一沉淀池和轉動腔之間設有進水口。
通過上述技術方案,從而便于對污水進行沉淀,去除泥沙。
作為本發明的一種優選技術方案,所述殼體的一端安裝有電機,所述轉動軸安裝于電機的輸出端上。
通過上述技術方案,從而便于驅動轉動軸轉動,從而帶動附著板運動。
作為本發明的一種優選技術方案,所述殼體上連接有清理機構,所述清理機構包括螺旋桿,所述殼體位于轉動腔的底端轉動連接有螺旋桿,所述螺旋桿與轉動軸之間纏繞連接有皮帶,所述螺旋桿的一端伸入第一沉淀池的內部,所述螺旋桿的邊緣固定連接有橡膠條,所述橡膠條與殼體抵觸。
通過上述技術方案,從而便于將轉動腔底部的泥沙排出,同時對轉動腔底部較濃的污水進行回流,增加對污水的凈化效果
作為本發明的一種優選技術方案,所述殼體位于轉動腔的內部安裝有多個隔板,所述隔板呈圓環狀,所述隔板位于兩個相鄰的固定輥中間。
通過上述技術方案,從而起到阻流的作用,避免污水快速通過附著板。
作為本發明的一種優選技術方案,所述固定輥上旋接有堵頭,所述儲存腔通過堵頭與外部連通,所述堵頭上設有氣孔。
通過上述技術方案,從而便于菌液的添加和補充。
作為本發明的一種優選技術方案,所述閉合塊呈三角形結構,所述閉合塊為橡膠材質。
通過上述技術方案,從而起到閉合作用,避免添加的菌液快速排出。
作為本發明的一種優選技術方案,所述轉動輥呈圓柱形結構,所述轉動輥為金屬材質。
通過上述技術方案,從而便于推動閉合塊開合。
與現有技術相比,本發明的有益效果是:
1、本發明通過設置附著板和轉動腔,同時利于泥沙在轉動腔的底部進行沉淀,附著板呈傾斜狀,從而在轉動時,將水流緩緩推向第一沉淀池方向,從而減緩水流的移動,同時使附著板能夠與水流進行更好的撞擊,附著板上事先接種有凈化菌類,從而便于對污水進行凈化,附著板用于菌類的繁殖。
2、本發明通過設置轉動輥、閉合塊、導管和彈簧,在需要補充菌類時,可旋出堵頭,向固定輥的內部添加菌液,在固定輥轉動時,固定輥內部的轉動輥將滾動,轉動輥壓迫固定輥底部的閉合塊,彈簧壓縮,菌液將進入到排出腔,通過導管緩緩進入到附著板的內部,從而完成對菌類的補充,增加污水的凈化,同時在處理不同種類的污水時,便于及時添加所對應的菌液,以滿足對污水的凈化。
3、本發明通過設置皮帶、螺旋桿和橡膠條,在轉動軸轉動的過程中,將通過皮帶帶動螺旋桿轉動,帶動橡膠條轉動,螺旋桿能夠轉動腔內部的泥沙排出到第一沉淀池的內部,同時,利于對轉動腔底部高濃度污水進行回流,從而減小附著板的凈化負荷,以保證污水的凈化效果。
(發明人:楊鈺峰;張凱亮)






