公布日:2024.04.09
申請日:2023.12.21
分類號:C02F1/52(2023.01)I;C02F1/00(2023.01)I
摘要
本發明提供了一種礦用手動污水凈化裝置,包括手動離心機構和沉淀過濾機構;所述手動離心機構包括有固定支撐筒,所述固定支撐筒的上部安裝有轉動內齒環,所述轉動內齒環的內部嚙合連接有螺紋桿,所述固定支撐筒的內部活動安裝有轉動筒,所述轉動筒的活動安裝有彈簧,所述螺紋桿的端部與所述彈簧的端部連接,所述轉動筒的底部固定連接有貫穿所述固定支撐筒和所述安裝板的連接軸,所述連接軸的底部連接有離心攪拌器;本發明設有手動離心機構和沉淀過濾機構,設置的手動離心機構和沉淀過濾機構的體積較小,便于在礦井中進行運行使用,方便進行操作,快速的實現對污水進行處理,沉淀過濾機構便于對污水進行過濾處理,再次進行凈化污水。

權利要求書
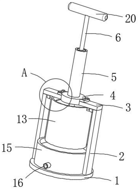
1.一種礦用手動污水凈化裝置,其特征在于,包括手動離心機構和沉淀過濾機構;包括有底座(1),所述底座(1)的上部兩側固定安裝有立板(2),兩側所述立板(2)的頂部固定安裝有頂板(3),所述頂板(3)的中間設有安裝板(4),所述手動離心機構安裝在所述安裝板(4)的上部,且部分所述手動離心機構設置在所述安裝板(4)的下部,所述沉淀過濾機構活動安裝在所述底座(1)的上部,且所述沉淀過濾機構設置在所述手動離心機構的下部;所述手動離心機構包括有安裝在所述安裝板(4)上部的固定支撐筒(5),所述固定支撐筒(5)的上部安裝有轉動內齒環(7),所述轉動內齒環(7)的內部嚙合連接有螺紋桿(6),所述固定支撐筒(5)的內部活動安裝有轉動筒(11),所述轉動筒(11)的活動安裝有彈簧(9),所述螺紋桿(6)的端部與所述彈簧(9)的端部連接,所述轉動筒(11)的底部固定連接有貫穿所述固定支撐筒(5)和所述安裝板(4)的連接軸(27),所述連接軸(27)的底部連接有離心攪拌器(12);所述頂板(3)和所述安裝板(4)下部卡合安裝有離心桶(13),所述離心桶(13)的內部固定安裝有濾網桶(19),所述離心桶(13)在所述濾網桶(19)和所述離心桶(13)之間縫隙上開設有若干個流水孔(14),所述流水孔(14)對應處于所述沉淀過濾機構的上部。
2.根據權利要求1所述的一種礦用手動污水凈化裝置,其特征在于,所述安裝板(4)的兩側固定設有第一固定耳(25),兩側所述第一固定耳(25)通過固定螺栓(26)固定安裝在兩側的所述頂板(3)上。
3.根據權利要求1所述的一種礦用手動污水凈化裝置,其特征在于,所述離心桶(13)的上端兩側固定設有第二固定耳(21),兩側所述頂板(3)的下部分別固定設有L型卡板(24),所述第二固定耳(21)活動卡合連接在所述L型卡板(24)的內部。
4.根據權利要求1所述的一種礦用手動污水凈化裝置,其特征在于,所述螺紋桿(6)的頂端固定設有按壓把手(20),所述螺紋桿(6)的底端固定設有接觸板(8),所述接觸板(8)與所述彈簧(9)的上端固定連接,所述接觸板(8)設置在所述轉動內齒環(7)的下部,且所述接觸板(8)活動處于所述轉動筒(11)的內部。
5.根據權利要求1所述的一種礦用手動污水凈化裝置,其特征在于,所述轉動筒(11)的底部內活動安裝有軸承環(10),所述彈簧(9)的底端固定安裝在所述軸承環(10)的內部,所述轉動筒(11)和所述固定支撐筒(5)之間鑲嵌安裝有若干個滾珠(23),若干個所述滾珠(23)在所述轉動筒(11)進行轉動的時候,提供支撐力和降低摩擦力。
6.根據權利要求1所述的一種礦用手動污水凈化裝置,其特征在于,所述連接軸(27)的底部套接有連接筒(22),所述連接筒(22)與所述離心攪拌器(12)上端的連接桿卡合套接,所述離心攪拌器(12)設置有三根翅板。
7.根據權利要求1所述的一種礦用手動污水凈化裝置,其特征在于,所述沉淀過濾機構中包括有過濾桶(15),所述過濾桶(15)活動設置在所述底座(1)的上部,所述過濾桶(15)的邊緣貼合在所述立板(2)的內側。
8.根據權利要求2所述的一種礦用手動污水凈化裝置,其特征在于,所述過濾桶(15)的內部固定設有支撐環(17),所述支撐環(17)的上部安裝有過濾芯(18),所述過濾芯(18)設置若干層,分別為設置在兩側的粗格柵、兩側粗格柵內側的細網板,兩側所述細網板內側的纖維過濾層和兩側纖維過濾之間的活性炭過濾層。9.根據權利要求8所述的一種礦用手動污水凈化裝置,其特征在于,所述過濾桶(15)的一側連通有排水管(16),所述排水管(16)設置在所述支撐環(17)的下部。
10.一種礦用手動污水凈化裝置的使用方法,其特征在于,包括有以下步驟:S1、對礦用手動污水凈化裝置進行組裝:在將礦用手動污水凈化裝置攜帶到礦井下的時候,將離心攪拌器(12)放入到離心桶(13)的內部,然后將離心桶(13)通過L型卡板(24)和第二固定耳(21)進行卡合安裝,然后再將離心攪拌器(12)通過連接筒(22)與連接軸(27)進行卡合連接,再將沉淀過濾機構放置到底座(1)上;S2、進行手動離心處理:將礦井下的污水輸入到過濾桶(15)的內部,然后添加絮凝劑到污水中,再通過按壓把手(20)進行下壓,使得螺紋桿(6)能夠實現下移,且螺紋桿(6)在轉動內齒環(7)的時候,轉動內齒環(7)帶動轉動筒(11)進行轉動,使得轉動筒(11)能夠帶動離心攪拌器(12)進行轉動,實現對濾網桶(19)內的污水進行混合攪拌和離心處理;S3、復位操作:在螺紋桿(6)進行下壓后,此時彈簧(9)對螺紋桿(6)進行支撐升起,便于實現往復運作,便于進行離心處理;S4、過濾后的流入到沉淀過濾機構中:濾網桶(19)內的污水在離心攪拌器(12)和凈水劑的作用下,使得水中的煤塵、巖塵顆粒懸浮物在絮凝劑的作用下膠結成固體雜質,然后凈化后的水流入到離心桶(13)和濾網桶(19)之間,并且通過流水孔(14)流入到過濾桶(15)的內部;S5、離心絮凝后的污水進行沉淀過濾:流入到過濾桶(15)內部的水,在過濾芯(18)的過濾下,干凈的水流入到過濾桶(15)的底部,然后通過排水管(16)進行排出,便于使用。
發明內容
為了彌補以上不足,本發明提供了一種礦用手動污水凈化裝置,旨在改善傳統的凈化裝置無法有效對礦井水進行過濾處理,而大型的污水處理系統則因裝置過于巨大而無法在礦井中運用等問題。
本發明實施例提供了一種礦用手動污水凈化裝置,包括手動離心機構和沉淀過濾機構;
包括有底座,所述底座的上部兩側固定安裝有立板,兩側所述立板的頂部固定安裝有頂板,所述頂板的中間設有安裝板,所述手動離心機構安裝在所述安裝板的上部,且部分所述手動離心機構設置在所述安裝板的下部,所述沉淀過濾機構活動安裝在所述底座的上部,且所述沉淀過濾機構設置在所述手動離心機構的下部;
所述手動離心機構包括有安裝在所述安裝板上部的固定支撐筒,所述固定支撐筒的上部安裝有轉動內齒環,所述轉動內齒環的內部嚙合連接有螺紋桿,所述固定支撐筒的內部活動安裝有轉動筒,所述轉動筒的活動安裝有彈簧,所述螺紋桿的端部與所述彈簧的端部連接,所述轉動筒的底部固定連接有貫穿所述固定支撐筒和所述安裝板的連接軸,所述連接軸的底部連接有離心攪拌器;
所述頂板和所述安裝板下部卡合安裝有離心桶,所述離心桶的內部固定安裝有濾網桶,所述離心桶在所述濾網桶和所述離心桶之間縫隙上開設有若干個流水孔,所述流水孔對應處于所述沉淀過濾機構的上部。
在上述實現過程中,本發明設有手動離心機構和沉淀過濾機構,設置的手動離心機構和沉淀過濾機構的體積較小,便于在礦井中進行運行使用,方便進行操作,快速的實現對污水進行處理,即手動離心機構通過螺紋桿實現對轉動筒和離心攪拌器進行帶動,便于離心攪拌器在離心桶和濾網桶內對污水進行混合攪拌和離心處理,有效的高速旋轉礦井水,便于將水中的煤塵、巖塵等顆粒懸浮物在絮凝劑的作用下膠結成固體雜質,便于實現對污水過濾,以及螺紋桿通過彈簧進行復位,便于螺紋桿進行往復運行,實現持續性的混合攪拌,以及沉淀過濾機構便于對污水進行過濾處理,再次進行凈化污水。
在一種具體的實施方案中,所述安裝板的兩側固定設有第一固定耳,兩側所述第一固定耳通過固定螺栓固定安裝在兩側的所述頂板上。
在上述實現過程中,第一固定耳的設定便于將安裝板與頂板進行固定安裝連接,提高穩定性。
在一種具體的實施方案中,所述離心桶的上端兩側固定設有第二固定耳,兩側所述頂板的下部分別固定設有L型卡板,所述第二固定耳活動卡合連接在所述L型卡板的內部。
在上述實現過程中,第二固定耳和L型卡板的設定便于將離心桶進行固定安裝,保持穩定性,并且便于拆卸處理。
在一種具體的實施方案中,所述螺紋桿的頂端固定設有按壓把手,所述螺紋桿的底端固定設有接觸板,所述接觸板與所述彈簧的上端固定連接,所述接觸板設置在所述轉動內齒環的下部,且所述接觸板活動處于所述轉動筒的內部。
在上述實現過程中,按壓把手的設定便于對螺紋桿進行擠壓,使得螺紋桿能夠向下移動,且接觸板便于螺紋桿與彈簧進行連接,對彈簧進行擠壓,且螺紋桿與轉動內齒環進行嚙合連接,使得螺紋桿在進行下移的時候,能夠帶動轉動內齒環進行轉動。
在一種具體的實施方案中,所述轉動筒的底部內活動安裝有軸承環,所述彈簧的底端固定安裝在所述軸承環的內部,所述轉動筒和所述固定支撐筒之間鑲嵌安裝有若干個滾珠,若干個所述滾珠在所述轉動筒進行轉動的時候,提供支撐力和降低摩擦力。
在上述實現過程中,軸承環的設定便于彈簧進行連接和轉動,使得滾珠的安裝,便于對轉動筒進行支撐和降低摩擦力。
在一種具體的實施方案中,所述連接軸的底部套接有連接筒,所述連接筒與所述離心攪拌器上端的連接桿卡合套接,所述離心攪拌器設置有三根翅板。
在上述實現過程中,連接筒的設定便于連接軸與離心攪拌器進行連接,實現對離心攪拌器進行帶動,實現離心攪拌器能夠實現轉動,對污水進行混合攪拌。
在一種具體的實施方案中,所述沉淀過濾機構中包括有過濾桶,所述過濾桶活動設置在所述底座的上部,所述過濾桶的邊緣貼合在所述立板的內側。
在上述實現過程中,過濾桶安放在底座的上部,便于進行安裝和拆卸,并且過濾桶貼合在立板的內側,便于保持過濾桶的穩定性。
在一種具體的實施方案中,所述過濾桶的內部固定設有支撐環,所述支撐環的上部安裝有過濾芯,所述過濾芯設置若干層,分別為設置在兩側的粗格柵、兩側粗格柵內側的細網板,兩側所述細網板內側的纖維過濾層和兩側纖維過濾之間的活性炭過濾層。
在上述實現過程中,支撐環的設定便于對過濾芯進行支撐安裝,且通過粗格柵和細網板對纖維過濾層和活性炭過濾層進行限位和固定。
在一種具體的實施方案中,所述過濾桶的一側連通有排水管,所述排水管設置在所述支撐環的下部。
在一種具體的實施方案中,排水管的設定便于對過濾桶內過濾后的凈水進行排出。
一種礦用手動污水凈化裝置的使用方法,包括有以下步驟:
S1、對礦用手動污水凈化裝置進行組裝:在將礦用手動污水凈化裝置攜帶到礦井下的時候,將離心攪拌器放入到離心桶的內部,然后將離心桶通過L型卡板和第二固定耳進行卡合安裝,然后再將離心攪拌器通過連接筒與連接軸進行卡合連接,再將沉淀過濾機構放置到底座上;
S2、進行手動離心處理:將礦井下的污水輸入到過濾桶的內部,然后添加絮凝劑到污水中,再通過按壓把手進行下壓,使得螺紋桿能夠實現下移,且螺紋桿在轉動內齒環的時候,轉動內齒環帶動轉動筒進行轉動,使得轉動筒能夠帶動離心攪拌器進行轉動,實現對濾網桶內的污水進行混合攪拌和離心處理;
S3、復位操作:在螺紋桿進行下壓后,此時彈簧對螺紋桿進行支撐升起,便于實現往復運作,便于進行離心處理;
S4、過濾后的流入到沉淀過濾機構中:濾網桶內的污水在離心攪拌器和凈水劑的作用下,使得水中的煤塵、巖塵顆粒懸浮物在絮凝劑的作用下膠結成固體雜質,然后凈化后的水流入到離心桶和濾網桶之間,并且通過流水孔流入到過濾桶的內部;
S5、離心絮凝后的污水進行沉淀過濾:流入到過濾桶內部的水,在過濾芯的過濾下,干凈的水流入到過濾桶的底部,然后通過排水管進行排出,便于使用。
與現有技術相比,本發明的有益效果:
本發明設有手動離心機構和沉淀過濾機構,設置的手動離心機構和沉淀過濾機構的體積較小,便于在礦井中進行運行使用,方便進行操作,快速的實現對污水進行處理,即手動離心機構通過螺紋桿實現對轉動筒和離心攪拌器進行帶動,便于離心攪拌器在離心桶和濾網桶內對污水進行混合攪拌和離心處理,有效的高速旋轉礦井水,便于將水中的煤塵、巖塵等顆粒懸浮物在絮凝劑的作用下膠結成固體雜質,便于實現對污水過濾,以及螺紋桿通過彈簧進行復位,便于螺紋桿進行往復運行,實現持續性的混合攪拌,以及沉淀過濾機構便于對污水進行過濾處理,再次進行凈化污水。
(發明人:丁堯;徐愛國;陳長嶺;張生;郜光輝)






