公布日:2023.10.31
申請日:2023.07.27
分類號:B01F27/95(2022.01)I;B01F35/71(2022.01)I;C02F1/00(2023.01)I
摘要
本發明公開了一種工業廢水處理設備,涉及廢水處理領域,包括處理罐,所述處理罐頂部連通有下藥管,所述下藥管末端連通有用于容納藥品的下藥倉,所述下藥機構包括傳動組件和設于下藥倉底部的封板,所述封板上開設有多個下藥口,所述下藥口底部設有下料管一,所述下料管一外部滑動連接有下料管二,所述下料管二末端連通有藥筒,所述傳動組件驅動藥筒沿垂直面進行上下移動;該工業廢水處理設備,藥筒內的藥品隨藥筒進行上下往復移動,使藥品與處理罐內多個層面的廢水進行融合,同時使藥品間歇落入藥筒內,藥品與廢水融合的更加充分,處理效果更好,提高了對廢水的攪拌效果,提高廢水與藥品充分融合的效率,加快廢水處理效率。

權利要求書
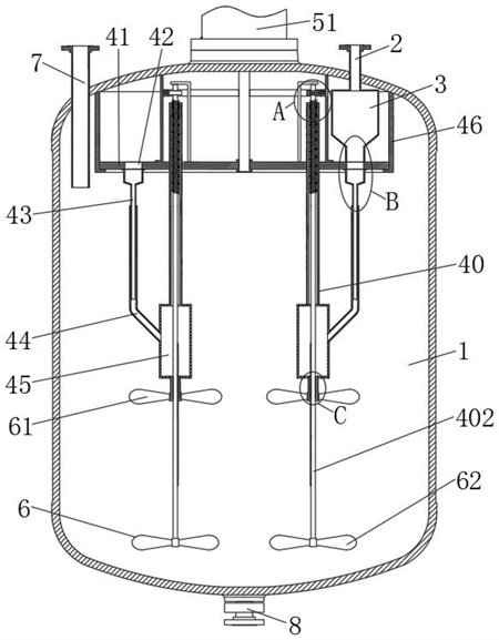
1.一種工業廢水處理設備,包括處理罐(1),其特征在于,所述處理罐(1)頂部連通有下藥管(2),所述下藥管(2)末端連通有用于容納藥品的下藥倉(3);下藥機構(4),所述下藥機構(4)包括傳動組件(40)和設于下藥倉(3)底部的封板(41),所述封板(41)上開設有多個下藥口(42),所述下藥口(42)底部設有下料管一(43),所述下料管一(43)外部滑動連接有下料管二(44),所述下料管二(44)末端連通有藥筒(45),所述傳動組件(40)驅動藥筒(45)沿垂直面進行上下移動;驅動機構(5),其用于驅動下藥機構(4)以處理罐(1)軸向為中心進行轉動;多個混合機構(6),其用于對處理罐(1)內的工業廢水進行攪動,所述混合機構(6)包括攪拌葉一(61)和攪拌葉二(62),所述攪拌葉一(61)內部固定安裝有套軸(63),所述套軸(63)頂端與其相鄰的藥筒(45)轉動連接,所述傳動組件(40)驅動攪拌葉二(62)進行轉動。
2.根據權利要求1所述的一種工業廢水處理設備,其特征在于,所述下藥機構(4)還包括固定安裝于處理罐(1)內部的支撐板(46),所述支撐板(46)內側與封板(41)轉動連接,所述支撐板(46)內部固定安裝有齒圈(47)。
3.根據權利要求2所述的一種工業廢水處理設備,其特征在于,所述傳動組件(40)包括與藥筒(45)頂部固定連接的套筒(401),所述套筒(401)外部與封板(41)滑動連接,所述套筒(401)上端內部螺紋連接有往復絲杠(402),所述往復絲杠(402)頂部轉動連接有固定架(403),所述固定架(403)底端與封板(41)固定連接,所述往復絲杠(402)頂端外部套設有齒輪(404),所述齒輪(404)一側與齒圈(47)相嚙合。
4.根據權利要求1所述的一種工業廢水處理設備,其特征在于,所述驅動機構(5)包括固定安裝于處理罐(1)頂部的旋轉驅動件(51),所述旋轉驅動件(51)的輸出軸一端與封板(41)固定連接。
5.根據權利要求1所述的一種工業廢水處理設備,其特征在于,所述攪拌葉二(62)內部與往復絲杠(402)固定連接,所述往復絲杠(402)下端外部與套軸(63)滑動連接。
6.根據權利要求1所述的一種工業廢水處理設備,其特征在于,所述下藥倉(3)底部開口大小與下藥口(42)開口大小相同。
7.根據權利要求1所述的一種工業廢水處理設備,其特征在于,所述下藥倉(3)底部的縱剖面呈漏斗狀設置。
8.根據權利要求1所述的一種工業廢水處理設備,其特征在于,所述處理罐(1)頂部還連通有進液管(7),所述處理罐(1)底部設有排液管(8)。
發明內容
本發明的目的是提供一種工業廢水處理設備,以解決現有技術中的上述不足之處。
為了實現上述目的,本發明提供如下技術方案:一種工業廢水處理設備,包括處理罐,所述處理罐頂部連通有下藥管,所述下藥管末端連通有用于容納藥品的下藥倉;
下藥機構,所述下藥機構包括傳動組件和設于下藥倉底部的封板,所述封板上開設有多個下藥口,所述下藥口底部設有下料管一,所述下料管一外部滑動連接有下料管二,所述下料管二末端連通有藥筒,所述傳動組件驅動藥筒沿垂直面進行上下移動;
驅動機構,其用于驅動下藥機構以處理罐軸向為中心進行轉動;
多個混合機構,其用于對處理罐內的工業廢水進行攪動,所述混合機構包括攪拌葉一和攪拌葉二,所述攪拌葉一內部固定安裝有套軸,所述套軸頂端與其相鄰的藥筒轉動連接,所述傳動組件驅動攪拌葉二進行轉動。
進一步地,所述下藥機構還包括固定安裝于處理罐內部的支撐板,所述支撐板內側與封板轉動連接,所述支撐板內部固定安裝有齒圈。
進一步地,所述傳動組件包括與藥筒頂部固定連接的套筒,所述套筒外部與封板滑動連接,所述套筒上端內部螺紋連接有往復絲杠,所述往復絲杠頂部轉動連接有固定架,所述固定架底端與封板固定連接,所述往復絲杠頂端外部套設有齒輪,所述齒輪一側與齒圈相嚙合。
進一步地,所述驅動機構包括固定安裝于處理罐頂部的旋轉驅動件,所述旋轉驅動件的輸出軸一端與封板固定連接。
進一步地,所述攪拌葉二內部與往復絲杠固定連接,所述往復絲杠下端外部與套軸滑動連接。
進一步地,所述下藥倉底部開口大小與下藥口開口大小相同。
進一步地,所述下藥倉底部的縱剖面呈漏斗狀設置。
進一步地,所述處理罐頂部還連通有進液管,所述處理罐底部設有排液管。
與現有技術相比,本發明提供的一種工業廢水處理設備,通過旋轉驅動件帶動封板轉動,進而帶動下藥機構轉動,藥筒內的藥品隨藥筒進行上下往復移動,使藥品與處理罐內多個層面的廢水進行融合,同時使藥品間歇落入藥筒內,藥品與廢水融合的更加充分,處理效果更好;
通過往復絲杠帶動攪拌葉二轉動,攪拌葉二隨往復絲杠公轉的同時進行自轉,對廢水進行充分攪動,往復絲杠帶動套軸轉動,套軸帶動攪拌葉一轉動,且套軸隨藥筒進行上下移動,從而攪拌葉一上下移動的同時自轉,并隨藥筒進行公轉,進一步提高了對廢水的攪拌效果,提高廢水與藥品充分融合的效率,加快廢水處理效率。
(發明人:鐘思泉;伍靜瑩;鐘深寶)






