公布日:2023.10.10
申請日:2023.07.14
分類號:C02F11/121(2019.01)I
摘要
本申請公開了一種水利工程建設用污泥脫水設備,其包括機體和自上而下布設于機體的脫水模塊、壓泥模塊和輸送模塊,脫水模塊包括脫水倉、設于脫水倉外側的上集水外殼和用于驅動脫水倉及集水外殼轉動的第一驅動機構,脫水倉上設有輸送管,脫水倉上設有若干脫水孔,脫水倉底端設有呈圓形的第一底蓋,第一底蓋包括多個呈扇形的第一單底蓋,第一單底蓋外側鉸接于脫水倉,脫水模塊還包括用于驅動第一單底蓋翻轉以控制脫水倉開閉的第一電缸;壓泥模塊包括位于脫水倉正下方的壓泥倉、下集水外殼和用于驅動壓泥倉及下集水外殼開閉使泥餅能落入于輸送模塊的第二驅動機構。本申請中的淤泥脫水完成后對其進行收集并進行壓泥操作,有效提升了工作效率。

權利要求書
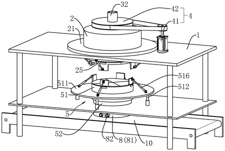
1.一種水利工程建設用污泥脫水設備,其特征在于:包括機體(1)和自上而下布設于機體(1)的脫水模塊、壓泥模塊和輸送模塊,所述脫水模塊包括脫水倉(3)、設于脫水倉(3)外側的上集水外殼(2)和用于驅動脫水倉(3)及集水外殼轉動的第一驅動機構(4),所述脫水倉(3)上設有輸送管(32),所述脫水倉(3)上設有若干脫水孔(31),所述脫水倉(3)底端設有呈圓形的第一底蓋(33),所述第一底蓋(33)包括多個呈扇形的第一單底蓋(34),所述第一單底蓋(34)外側鉸接于脫水倉(3),所述脫水模塊還包括用于驅動第一單底蓋(34)翻轉以控制脫水倉(3)開閉的第一電缸(25);所述壓泥模塊包括位于脫水倉(3)正下方的壓泥倉(5)、下集水外殼(8)和用于驅動壓泥倉(5)及下集水外殼(8)開閉使泥餅能落入于輸送模塊的第二驅動機構(7),所述壓泥倉(5)底端設有若干出水口,所述壓泥倉(5)包括固設于機體(1)的下倉體(52)和豎向滑移連接于下倉體(52)的上倉體(51),所述機體(1)上設有用于驅動上倉體(51)升降的第二電缸(512),所述上倉體(51)頂端設有呈圓形的頂蓋(513),所述頂蓋(513)能開啟或關閉以實現壓泥倉(5)的啟閉。
2.根據權利要求1所述的一種水利工程建設用污泥脫水設備,其特征在于:所述頂蓋(513)包括多個呈扇形設置的單蓋體(514),所述單蓋體(514)外側鉸接于上倉體(51),所述上倉體(51)外側設有用于控制單蓋體(514)啟閉的第三電缸(516)。
3.根據權利要求1所述的一種水利工程建設用污泥脫水設備,其特征在于:所述第一單底蓋(34)外緣的下表面固定有與其垂直的下延板(35),所述下延板(35)的內壁上固設有壓力傳感器(6),當所述單蓋體(514)在第三電缸(516)的作用下開啟至與壓力傳感器(6)抵接時,第一電缸(25)驅動第一單底蓋(34)向外開啟,淤泥落入至壓泥倉(5)中。
4.根據權利要求1所述的一種水利工程建設用污泥脫水設備,其特征在于:所述壓泥倉(5)底端連接有呈圓形的第二底蓋(521),所述出水口布設于底蓋。
5.根據權利要求4所述的一種水利工程建設用污泥脫水設備,其特征在于:所述第二底蓋(521)包括兩個對稱設置的第二單底蓋(523),所述第二驅動機構(7)包括與第二單底蓋(523)一一對應的第四電缸(71),所述第四電缸(71)用于驅動兩個第二單底蓋(523)水平移動實現壓泥倉(5)的開啟或關閉。
6.根據權利要求5所述的一種水利工程建設用污泥脫水設備,其特征在于:所述下集水外殼(8)包括與第二單底蓋(523)一一對應的集水倉體(81),所述集水倉體(81)頂端開口且固定于第二單底蓋(523)的下表面。
7.根據權利要求5所述的一種水利工程建設用污泥脫水設備,其特征在于:所述第二單底蓋(523)的上表面的外緣處卡緊連接有吸水棉層(9),所述吸水棉層(9)緊貼于下倉體(52)的內壁。
8.根據權利要求1-7任一所述的一種水利工程建設用污泥脫水設備的脫水方法,其特征在于,包括以下步驟:S1、將淤泥輸送至脫水倉(3)中,通過第一驅動機構(4)驅動脫水倉(3)和上集水外殼(2)轉動,實現對脫水倉(3)中的淤泥的脫水;S2、淤泥中脫出的水通過脫水孔(31)進入于上集水外殼(2)中,脫水完成后,將上集水外殼(2)中的水排出;S3、開啟壓泥倉(5)的頂蓋(513),使壓泥倉(5)的頂端開口暴露,再通過第一電缸(25)控制第一單底蓋(34)開啟,淤泥落入至壓泥倉(5)中;S4、淤泥完全落入至壓泥倉(5)中后,關閉壓泥倉(5)的頂蓋(513),并通過第二電缸(512)控制上倉體(51)下壓,將淤泥壓實,并將淤泥中的水分擠出至下集水外殼(8)中;S5、壓泥完成后,泥餅自壓泥倉(5)下落至輸送模塊。
發明內容
為了方便污泥脫水后直接進行壓泥處理,提高工作效率,本申請提供一種水利工程建設用污泥脫水設備及脫水方法。
本申請提供的一種水利工程建設用污泥脫水設備及脫水方法采用如下的技術方案:
一種水利工程建設用污泥脫水設備,包括機體和自上而下布設于機體的脫水模塊、壓泥模塊和輸送模塊,所述脫水模塊包括脫水倉、設于脫水倉外側的上集水外殼和用于驅動脫水倉及集水外殼轉動的第一驅動機構,所述脫水倉上設有輸送管,所述脫水倉上設有若干脫水孔,所述脫水倉底端設有呈圓形的第一底蓋,所述第一底蓋包括多個呈扇形的第一單底蓋,所述第一單底蓋外側鉸接于脫水倉,所述脫水模塊還包括用于驅動第一單底蓋翻轉以控制脫水倉開閉的第一電缸;所述壓泥模塊包括位于脫水倉正下方的壓泥倉、下集水外殼和用于驅動壓泥倉及下集水外殼開閉使泥餅能落入于輸送模塊的第二驅動機構,所述壓泥倉底端設有若干出水口,所述壓泥倉包括固設于機體的下倉體和豎向滑移連接于下倉體的上倉體,所述機體上設有用于驅動上倉體升降的第二電缸,所述上倉體頂端設有呈圓形的頂蓋,所述頂蓋能開啟或關閉以實現壓泥倉的啟閉。
優選的,所述頂蓋包括多個呈扇形設置的單蓋體,所述單蓋體外側鉸接于上倉體,所述上倉體外側設有用于控制單蓋體啟閉的第三電缸。
優選的,所述第一單底蓋外緣的下表面固定有與其垂直的下延板,所述下延板的內壁上固設有壓力傳感器,當所述單蓋體在第三電缸的作用下開啟至與壓力傳感器抵接時,第一電缸驅動第一單底蓋向外開啟,淤泥落入至壓泥倉中。
優選的,所述壓泥倉底端連接有呈圓形的第二底蓋,所述出水口布設于底蓋。
優選的,所述第二底蓋包括兩個對稱設置的第二單底蓋,所述第二驅動機構包括與第二單底蓋一一對應的第四電缸,所述第四電缸用于驅動兩個第二單底蓋水平移動實現壓泥倉的開啟或關閉。
優選的,所述下集水外殼包括與第二單底蓋一一對應的集水倉體,所述集水倉體頂端開口且固定于第二單底蓋的下表面。
優選的,所述第二單底蓋的上表面的外緣處卡緊連接有吸水棉層,所述吸水棉層緊貼于下倉體的內壁。
一種水利工程建設用污泥脫水設備的脫水方法,包括以下步驟:
S1、將淤泥輸送至脫水倉中,通過第一驅動機構驅動脫水倉和上集水外殼轉動,實現對脫水倉中的淤泥的脫水;
S2、淤泥中脫出的水通過脫水孔進入于上集水外殼中,脫水完成后,將上集水外殼中的水排出;
S3、開啟壓泥倉的頂蓋,使壓泥倉的頂端開口暴露,再通過第一電缸控制第一單底蓋開啟,淤泥落入至壓泥倉中;
S4、淤泥完全落入至壓泥倉中后,關閉壓泥倉的頂蓋,并通過第二電缸控制上倉體下壓,將淤泥壓實,并將淤泥中的水分擠出至下集水外殼中;
S5、壓泥完成后,泥餅自壓泥倉下落至輸送模塊。
綜上所述,本申請包括以下至少一種有益技術效果:
1.淤泥在脫水倉中脫水完成后,先將壓泥倉的頂蓋開啟,再將脫水倉的第一底蓋開啟,使淤泥下落至壓泥倉中,對淤泥進行收集,并通過第二電缸控制上倉體下移,通過壓泥倉的頂蓋對淤泥進行壓泥操作,形成泥餅并將淤泥中的水分進一步擠出至下集水外殼中,有效提升了工作效率;
2.當單蓋體在第三電缸的作用下開啟至與壓力傳感器抵接時,第一電缸驅動第一單底蓋向外開啟,淤泥落入至壓泥倉中,防止頂蓋未開啟完全時淤泥下落的情況出現;
3.淤泥壓實時,吸水棉層吸取淤泥中壓出的水分,進一步提升淤泥的脫水效果,而當第四電缸驅動兩第二單底蓋向外移動時,吸水棉層與第二單底蓋一同移動被拉出,泥餅下落至輸送模塊上后,第四電缸驅動兩第二單底蓋向內移動將壓泥倉封閉,再通過第三電缸控制壓泥倉頂端開啟,放入新的吸水棉層即可。
(發明人:戴羅生;熊庭文;鐘敏敏;吳忠;鄭麗純)






