公布日:2024.04.19
申請日:2023.12.05
分類號:C02F9/00(2023.01)I;C02F11/04(2006.01)I;C02F1/00(2023.01)N;C02F3/32(2023.01)N;C02F3/34(2023.01)N;C02F103/20(2006.01)N;C02F3/28(2023.01)N
摘要
本發明涉及一種生豬養殖場污水處理的系統,屬于污水處理技術領域。一種生豬養殖場污水處理的系統包括干濕分離系統、生物基質消納裝置和濕地消納裝置。生物基質消納裝置與干濕分離系統相連通,生物基質消納裝置用于降解污水中的有機物。濕地消納裝置與生物基質消納裝置相連通,濕地消納裝置包括多級生態池,多級生態池內部設有水生植物層,并依次相連通,多級生態池用于吸附污水中氮磷成分。本發明中的污水處理系統通過生物手段將氮磷等養分轉化為肥料及其他有用物質,達到減少養分污染并提高資源利用效率,其工程造價和運行費用低,凈化效果好,能達到污水的循環回用。

權利要求書
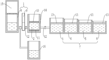
1.一種生豬養殖場污水處理的系統,其特征在于,包括:濕分離系統(1),用于沉淀生豬糞便,并使得污水進入下一系統;生物基質消納裝置(2),與所述干濕分離系統(1)相連通,所述生物基質消納裝置(2)用于降解所述污水中的有機物;濕地消納裝置(7),與所述生物基質消納裝置(2)相連通,所述濕地消納裝置(7)包括多級生態池,所述多級生態池內部設有水生植物層(13),并依次相連通,所述多級生態池用于吸附所述污水中氮磷成分。
2.根據權利要求1所述的一種生豬養殖場污水處理的系統,其特征在于,所述干濕分離系統(1)包括:糞污收集槽(15),用于收集生豬糞便;沉渣池(8),位于所述糞污收集槽(15)的下方,并與所述生物基質消納裝置(2)相連通,所述沉渣池(8)用于沉淀生豬糞便,并收集污水;污水檢查井(9),安裝在所述沉渣池(8)與所述生物基質消納裝置(2)之間,所述污水檢查井(9)的兩側分別與所述沉渣池(8)和所述生物基質消納裝置(2)相連通;沼氣發酵池(16),與所述沉渣池(8)相連通,所述沼氣發酵池(16)用于通過污水進行發電。
3.根據權利要求2所述的一種生豬養殖場污水處理的系統,其特征在于,所述生物基質消納裝置(2)包括:生物基質池(14),一側與污水檢查井(9)相連通,另一側與所述多級生態池相連通,所述生物基質池(14)內具有稻草層(10)和纖維分解菌(11),所述稻草層(10)和所述纖維分解菌(11)用于吸附和降解所述污水中的有機殘留物。
4.根據權利要求3所述的一種生豬養殖場污水處理的系統,其特征在于,所述糞污收集槽(15)、沼氣發酵池(16)、沉渣池(8)、所述污水檢查井(9)、所述生物基質池(10)和所述多級生態池之間通過可開啟和關閉的管道(12)相連通。
5.根據權利要求4所述的一種生豬養殖場污水處理的系統,其特征在于,多級所述生態池之間具有10~20cm的落差,以使得所述生態池之間能夠從上至下自流。
6.根據權利要求5所述的一種生豬養殖場污水處理的系統,其特征在于,所述管道(12)的預埋深度大于0.7m。
7.根據權利要求6所述的一種生豬養殖場污水處理的系統,其特征在于,所述污水檢查井(9)的數量為多個,每個污水檢查井(9)間隔50m設置。
8.根據權利要求7所述的一種生豬養殖場污水處理的系統,其特征在于,所述多級生態池內種植有狐尾藻(13),所述狐尾藻(13)用于吸收水中的氮磷成分。
9.一種采用權利要求8所述的一種生豬養殖場污水處理的系統進行污水處理的方法,其特征在于,包括以下步驟:S1、養豬場在豬圈內設置糞污收集槽(15),豬糞便通過人工清掃清除,定期用清水或處理后回用水將糞渣沖入沉渣池(8)。簡單發酵后,對豬糞進行干濕分離,固體廢棄物采用人工清除施入農田,液體廢棄物進行分流,一部分進入沼氣發酵池(16),用于供電,經沼氣發酵池(16)利用后的污水通過封閉運輸管道(12),輸送至生物基質池(14);S2、經過所述污水檢查井(9)的污水進入所述生物基質池(14)內,并通過所述稻草層(10)和所述纖維素分解菌(11)來吸附和降解粘稠物、粗脂肪、固體懸浮物,調節環境pH值,同時降解有機殘留物及有害的抗生素、激素;S3、經過所述生物基質池(14)凈化后的污水進入所述多級生態池內,所述多級生態池包括第一級生態池(3)、第二級生態池(4)、第三級生態池(5)和第四級生態池(6),并在所述狐尾藻(13)的作用下,吸附污水中氮磷含成分,降解有機物,調控根系細菌、真菌來進行環境的修復。
發明內容
本發明提供一種生豬養殖場污水處理的系統及方法,通過生物手段將氮磷等養分轉化為肥料及其他有用物質,達到減少養分污染并提高資源利用效率,其工程造價和運行費用低,凈化效果好,能達到污水的循環回用。
為了達到上述目的,本發明通過下述技術方案實現:一種生豬養殖場污水處理的系統包括干濕分離系統、生物基質消納裝置和濕地消納裝置。干濕分離系統用于沉淀生豬糞便,并使得污水進入下一系統。生物基質消納裝置與所述干濕分離系統相連通,所述生物基質消納裝置用于降解所述污水中的有機物。濕地消納裝置與所述生物基質消納裝置相連通,所述濕地消納裝置包括多級生態池,所述多級生態池內部設有水生植物層,并依次相連通,所述多級生態池用于吸附所述污水中氮磷成分。
可選地,所述干濕分離系統包括糞污收集槽、沉渣池、污水檢查井和沼氣發酵池。糞污收集槽用于收集生豬糞便。沉渣池位于所述糞污收集槽的下方,并與所述生物基質消納裝置相連通,所述沉渣池用于沉淀生豬糞便,并收集污水。污水檢查井安裝在所述沉渣池與所述生物基質消納裝置之間,所述污水檢查井的兩側分別與所述沉渣池和所述生物基質消納裝置相連通。沼氣發酵池與所述沉渣池相連通,所述沼氣發酵池用于通過污水進行發電。
可選地,所述生物基質消納裝置包括生物基質池。生物基質池的一側與污水檢查井相連通,另一側與所述多級生態池相連通,所述生物基質池內具有稻草層和纖維素分解菌,所述稻草層和所述纖維素分解菌用于吸附和降解所述污水中的有機殘留物。
可選地,所述糞污收集槽、所述沼氣發酵池、所述沉渣池、所述污水檢查井、所述生物基質池和所述多級生態池之間通過可開啟和關閉的管道相連通。
可選地,多級所述生態池之間具有10~20cm的落差,以使得所述生態池之間能夠從上至下自流。
可選地,所述管道的預埋深度大于0.7m。
可選地,所述污水檢查井的數量為多個,每個污水檢查井間隔50m設置。
可選地,所述多級生態池內種植有狐尾藻,所述狐尾藻用于吸收水中的氮磷等養分。
一種生豬養殖場污水處理的方法包括以下步驟:
步驟一:養豬場在豬圈內設置糞污收集槽,豬糞便通過人工清掃清除,定期用清水或處理后回用水將糞渣沖入沉渣池。簡單發酵后,對豬糞進行干濕分離,固體廢棄物采用人工清除施入農田,液體廢棄物進行分流,一部分進入沼氣發酵池,用于供電,經沼氣發酵池利用后的污水通過封閉運輸管道,輸送至生物基質池。
步驟二:經過所述污水檢查井的污水進入所述生物基質池內,并通過所述稻草層和所述纖維素分解菌吸附和降解粘稠物、粗脂肪、固體懸浮物,調節環境pH值,同時降解有機殘留物及有害的抗生素、激素。
步驟三:經過所述生物基質池凈化后的污水進入所述多級生態池內,所述多級生態池包括第一級生態池、第二級生態池、第三級生態池和第四級生態池,并在所述狐尾藻的作用下,吸附污水中氮磷含成分,降解有機物,調控根系細菌、真菌來進行環境的修復。
由上述技術方案可知,本發明提供的一種生豬養殖場污水處理的系統的有益效果在于:本發明的污水處理系統通過生物手段將氮磷等養分轉化為肥料及其他有用物質,達到減少養分污染并提高資源利用效率,其工程造價和運行費用低,凈化效果好,能達到污水的循環回用。
(發明人:陳尚洪;張晴雯;宋昕;萬柯均;萬學;張玉蘭;展曉瑩;郝卓;鄭盛華;楊澤鵬;李珊珊;敖玉琴;陳紅琳;劉定輝;曲熱朗磋)






