公布日:2023.10.31
申請日:2023.09.20
分類號:C02F11/00(2006.01)I;B01F27/90(2022.01)I
摘要
本發明涉及污泥處理相關技術領域,具體是一種含有危害物質的污泥處理裝置,包括圓筒及固定于所述圓筒上的安裝架,還包括用于盛裝污泥的濾筒,所述濾筒活動設于安裝架上,且與安裝在安裝架上的動力機構連接,所述動力機構連接有安裝于所述安裝架一側的升降驅動機構,所述升降驅動機構用于驅使所述濾筒進入所述圓筒內或從所述圓筒內抽離,當所述濾筒位于所述圓筒中時,所述濾筒通過定位結構與所述圓筒配合,以使所述動力機構工作能夠驅使設于所述濾筒內的翻攪機構運動,促使所述翻攪機構對所述濾筒內的污泥執行翻攪動作,通過各個機構及部件之間的相互配合,則大大提升了凈化劑與污泥混合的均勻性,確保下層污泥也能夠得到有效的處理。

權利要求書
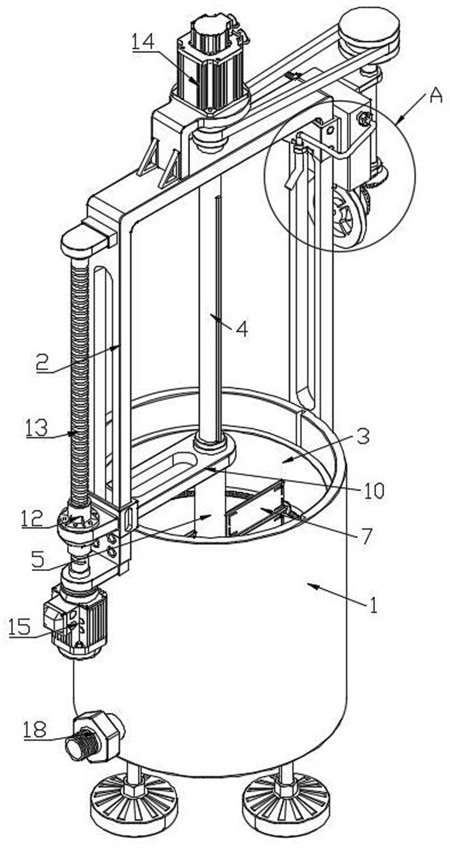
1.一種含有危害物質的污泥處理裝置,包括圓筒(1)及固定于所述圓筒(1)上的安裝架(2),其特征在于,還包括:濾筒(3),用于盛裝待處理的污泥,所述濾筒(3)活動設于所述安裝架(2)上,且與安裝在所述安裝架(2)上的動力機構連接,所述動力機構連接有安裝于所述安裝架(2)一側的升降驅動機構,所述升降驅動機構用于驅使所述濾筒(3)進入所述圓筒(1)內或從所述圓筒(1)內抽離,當所述濾筒(3)位于所述圓筒(1)中時,所述濾筒(3)通過定位結構與所述圓筒(1)配合,以使所述動力機構工作能夠驅使設于所述濾筒(3)內的翻攪機構運動,促使所述翻攪機構對所述濾筒(3)內的污泥執行翻攪動作;試劑添加機構,設于所述安裝架(2)的一側,且與所述動力機構連接,當所述翻攪機構在執行翻攪動作時,所述試劑添加機構觸發,并向所述濾筒(3)內加入凈化試劑;所述動力機構包括安裝在所述安裝架(2)上的第一驅動電機(14)、轉動安裝在所述安裝架(2)上且連接所述第一驅動電機(14)輸出軸的驅動軸(4)以及通過適配結構與所述驅動軸(4)滑動套合的升降管(5);其中,所述升降管(5)與所述升降驅動機構連接,且所述升降管(5)遠離所述第一驅動電機(14)的一端同所述濾筒(3)轉動連接;所述試劑添加機構包括固定安裝在所述安裝架(2)側部的箱體(19)以及密封滑動設于所述箱體(19)中的活塞板(20),且所述活塞板(20)通過往復推拉組件與所述驅動軸(4)連接;其中,所述箱體(19)的兩側分別安裝有第一單向閥(21)與第二單向閥(22),所述第一單向閥(21)連接凈化試劑的儲存罐,所述第二單向閥(22)連接有安裝于所述安裝架(2)上的出料管(23);所述往復推拉組件包括轉動安裝在所述箱體(19)上的圓盤(24)以及連接所述圓盤(24)與所述活塞板(20)的推拉桿(25),所述推拉桿(25)的一端與所述活塞板(20)轉動連接,另一端與所述圓盤(24)的偏心處轉動連接;其中,所述箱體(19)上還轉動安裝與傳動軸(28),所述傳動軸(28)的一端通過傳動帶(27)連接所述驅動軸(4),另一端通過錐齒輪組(26)與所述圓盤(24)的轉動軸連接。
2.根據權利要求1所述的一種含有危害物質的污泥處理裝置,其特征在于,所述適配結構包括形成于所述驅動軸(4)外壁上的兩個條形凸起部(16)以及開設于所述升降管(5)內壁上的兩個條形凹槽(17),所述條形凹槽(17)與所述條形凸起部(16)適配,且二者與所述圓筒(1)以及所述濾筒(3)的中心軸線平行。
3.根據權利要求1所述的一種含有危害物質的污泥處理裝置,其特征在于,所述定位結構包括沿圓周等距固定在所述濾筒(3)外壁上的多個柱體(29)以及沿圓周等距開設于所述圓筒(1)的內壁上且與所述柱體(29)適配的多個滑槽(30)。
4.根據權利要求3所述的一種含有危害物質的污泥處理裝置,其特征在于,所述翻攪機構包括轉動安裝在所述升降管(5)外壁上的兩根轉軸(6)以及固定于所述轉軸(6)上的翻攪板(7),所述轉軸(6)與所述升降管(5)二者的中心軸線相垂直;其中,所述轉軸(6)遠離所述升降管(5)的一端固定安裝有錐齒輪(9),所述錐齒輪(9)與固定安裝在所述濾筒(3)內壁上的錐齒環(8)嚙合。
5.根據權利要求1所述的一種含有危害物質的污泥處理裝置,其特征在于,所述升降驅動機構包括轉動安裝在所述安裝架(2)側部的螺紋桿(13)、安裝于所述圓筒(1)外壁上且輸出端與所述螺紋桿(13)連接的第二驅動電機(15)以及套設在所述螺紋桿(13)上且與所述螺紋桿(13)螺紋連接的螺紋套筒(12);其中,所述螺紋套筒(12)與滑動設于所述安裝架(2)上的導向塊(11)固定,且所述導向塊(11)遠離所述螺紋套筒(12)的一側固定安裝有橫板(10),所述橫板(10)與所述升降管(5)轉動連接。
發明內容
本發明的目的在于提供一種含有危害物質的污泥處理裝置,以解決上述背景技術中提出的問題。
為實現上述目的,本發明提供如下技術方案:
一種含有危害物質的污泥處理裝置,包括圓筒及固定于所述圓筒上的安裝架,還包括:
濾筒,用于盛裝待處理的污泥,所述濾筒活動設于所述安裝架上,且與安裝在所述安裝架上的動力機構連接,所述動力機構連接有安裝于所述安裝架一側的升降驅動機構,所述升降驅動機構用于驅使所述濾筒進入所述圓筒內或從所述圓筒內抽離,當所述濾筒位于所述圓筒中時,所述濾筒通過定位結構與所述圓筒配合,以使所述動力機構工作能夠驅使設于所述濾筒內的翻攪機構運動,促使所述翻攪機構對所述濾筒內的污泥執行翻攪動作;
試劑添加機構,設于所述安裝架的一側,且與所述動力機構連接,當所述翻攪機構在執行翻攪動作時,所述試劑添加機構觸發,并向所述濾筒內加入凈化試劑。
作為本發明進一步的方案:所述動力機構包括安裝在所述安裝架上的第一驅動電機、轉動安裝在所述安裝架上且連接所述第一驅動電機輸出軸的驅動軸以及通過適配結構與所述驅動軸滑動套合的升降管;
其中,所述升降管與所述升降驅動機構連接,且所述升降管遠離所述第一驅動電機的一端同所述濾筒轉動連接。
作為本發明再進一步的方案:所述適配結構包括形成于所述驅動軸外壁上的兩個條形凸起部以及開設于所述升降管內壁上的兩個條形凹槽,所述條形凹槽與所述條形凸起部適配,且二者與所述圓筒以及所述濾筒的中心軸線平行。
作為本發明再進一步的方案:所述定位結構包括沿圓周等距固定在所述濾筒外壁上的多個柱體以及沿圓周等距開設于所述圓筒的內壁上且與所述柱體適配的多個滑槽。
作為本發明再進一步的方案:所述翻攪機構包括轉動安裝在所述升降管外壁上的兩根轉軸以及固定于所述轉軸上的翻攪板,所述轉軸與所述升降管二者的中心軸線相垂直;
其中,所述轉軸遠離所述升降管的一端固定安裝有錐齒輪,所述錐齒輪與固定安裝在所述濾筒內壁上的錐齒環嚙合。
作為本發明再進一步的方案:所述升降驅動機構包括轉動安裝在所述安裝架側部的螺紋桿、安裝于所述圓筒外壁上且輸出端與所述螺紋桿連接的第二驅動電機以及套設在所述螺紋桿上且與所述螺紋桿螺紋連接的螺紋套筒;
其中,所述螺紋套筒與滑動設于所述安裝架上的導向塊固定,且所述導向塊遠離所述螺紋套筒的一側固定安裝有橫板,所述橫板與所述升降管轉動連接。
作為本發明再進一步的方案:所述試劑添加機構包括固定安裝在所述安裝架側部的箱體以及密封滑動設于所述箱體中的活塞板,且所述活塞板通過往復推拉組件與所述驅動軸連接;
其中,所述箱體的兩側分別安裝有第一單向閥與第二單向閥,所述第一單向閥連接凈化試劑的儲存罐,所述第二單向閥連接有安裝于所述安裝架上的出料管。
作為本發明再進一步的方案:所述往復推拉組件包括轉動安裝在所述箱體上的圓盤以及連接所述圓盤與所述活塞板的推拉桿,所述推拉桿的一端與所述活塞板轉動連接,另一端與所述圓盤的偏心處轉動連接;
其中,所述箱體上還轉動安裝與傳動軸,所述傳動軸的一端通過傳動帶連接所述驅動軸,另一端通過錐齒輪組與所述圓盤的轉動軸連接。
與現有技術相比,本發明的有益效果是:本發明設計新穎,在使用時,將待處理的污泥加入所述濾筒內,隨后,所述升降驅動機構驅使所述濾筒下降運動至所述圓筒內,且所述濾筒運動至所述圓筒中后通過所述定位結構被限位,隨后,動力機構運動,使得所述翻攪機構運動,同時,動力機構帶動所述試劑添加機構運動,試劑添加機構則間斷性地向濾筒內加入凈化試劑,配合所述翻攪機構的翻攪,從而使得凈化試劑與污泥中的危害物質能夠充分反應,因此,通過各個機構及部件之間的相互配合,則大大提升了凈化劑與污泥混合的均勻性,確保下層污泥也能夠得到有效的處理。
(發明人:王亞會;蔡繼春;陳靖元;宋信剛;陸崢嶸)






