公布日:2023.10.31
申請日:2023.08.03
分類號:C02F11/122(2019.01)I;B01D25/21(2006.01)I;B01D25/28(2006.01)I;B01D25/34(2006.01)I;B01D25/38(2006.01)I
摘要
本發明公開了一種污泥低溫真空板框壓濾機,涉及板框壓濾機技術領域,包括臺板、板框壓濾支撐動力機構、壓濾板框機構、低溫真空排濕機構和隔膜充氣加壓機構:臺板上側中部開設有濾餅下落通槽;板框壓濾支撐動力機構包含有立柱和濾水排放組件,所述臺板的頂部四角分別固定連接有四個立柱,右側的兩個立柱頂部之間固定連接有縱梁,采用隔膜加壓降低濾餅含水量的同時,采用真空負壓對板框主體中壓濾腔內的濾餅進行抽濕處理,進一步降低濾餅中的含水量,壓濾機的固液分離效果好,壓濾完成后通過濾餅清除機構中的濾餅震動清除組件工作,可以將板框中壓濾腔邊角處附著的濾餅震動清除,可以提高板框中濾餅的清理效率。

權利要求書
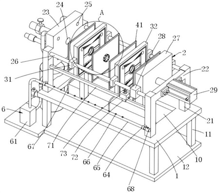
1.一種污泥低溫真空板框壓濾機,其特征在于,包括:臺板(1),上側中部開設有濾餅下落通槽(10);板框壓濾支撐動力機構(2),包含有立柱(21)、縱梁(22)、止推板(23)、污泥加注孔(24)、濾水出孔(25)、橫滑桿(26)、擠壓板(27)、導向滑塊(28)、液壓缸(29)、濾水排放組件,所述臺板(1)的頂部四角分別固定連接有四個立柱(21),右側的兩個立柱(21)頂部之間固定連接有縱梁(22),右側的兩個立柱(21)之間固定連接有止推板(23),止推板(23)的中部開設有污泥加注孔(24),所述止推板(23)的側面四角分別開設有濾水出孔(25),四個濾水出孔(25)的左端連接濾水排放組件,左右對應的兩個立柱(21)之間固定連接有橫滑桿(26),所述縱梁(22)的中部固定連接有液壓缸(29),液壓缸(29)左側的伸縮端固定連接擠壓板(27)的右側中部,所述擠壓板(27)的前后側分別固定連接有導向滑塊(28),兩個導向滑塊(28)分別與兩個橫滑桿(26)橫向滑動連接;壓濾板框機構(3),設有多個且設置在止推板(23)和擠壓板(27)之間,且每個壓濾板框機構(3)的左右兩側分別設置有污泥過濾組件(4);低溫真空排濕機構(5),頂部連接濾水排放組件中的集管(213);隔膜充氣加壓機構(6),連接低溫真空排濕機構(5)。
2.根據權利要求1所述的污泥低溫真空板框壓濾機,其特征在于:所述壓濾板框機構(3)包含有滑動塊(31)、板框主體(32)、內固桿(33)、污泥導流套(34)、濾水通孔(36)、滲水槽(37)、加壓隔膜(39),所述板框主體(32)的前后側分別固定連接有滑動塊(31),滑動塊(31)側面的滑孔分別與對應的橫滑桿(26)滑動連接,所述板框主體(32)內中部通過內固桿(33)固定連接有污泥導流套(34),所述污泥導流套(34)與污泥加注孔(24)對應設置,且板框主體(32)內中部固定連接有加壓隔膜(39),加壓隔膜(39)將板框主體(32)內分隔為兩側的壓濾腔,污泥導流套(34)穿過加壓隔膜(39)中部的預留通孔,所述板框主體(32)的四角分別開設有與濾水出孔(25)對應的濾水通孔(36),所述板框主體(32)的側面靠近濾水通孔(36)的位置開設有滲水槽(37),滲水槽(37)將濾水通孔(36)端部與同側的壓濾腔連通。
3.根據權利要求2所述的污泥低溫真空板框壓濾機,其特征在于:所述壓濾板框機構(3)還包含有環形卡槽(35)和框狀卡槽(38),所述板框主體(32)的兩側面靠近邊沿的位置分別開設有框狀卡槽(38),框狀卡槽(38)包圍住四個濾水通孔(36),所述污泥導流套(34)的兩端內側分別開設有環形卡槽(35)。
4.根據權利要求3所述的污泥低溫真空板框壓濾機,其特征在于:所述污泥過濾組件(4)包含有卡框(41)、濾布(42)、通水套(43)、污泥側通孔(44),每個板框主體(32)的兩側方分別設有卡框(41),卡框(41)與同側的框狀卡槽(38)配合卡接,且卡框(41)內設置有濾布(42),濾布(42)的中部固定連接有通水套(43),所述通水套(43)靠近加壓隔膜(39)的一端與環形卡槽(35)卡接,通水套(43)遠離加壓隔膜(39)的一端側面環形陣列開設有污泥側通孔(44)。
5.根據權利要求2所述的污泥低溫真空板框壓濾機,其特征在于:所述低溫真空排濕機構(5)包含有排濕管道(51)、電磁閥二(52)、真空罐(53)、排放管道(54)、電磁閥三(55)、吸氣管道(56)、電磁閥四(57),真空罐(53)的頂部進口通過電磁閥二(52)連接排濕管道(51)的底端,排濕管道(51)的頂端連接集管(213),所述真空罐(53)的底部側面連接排放管道(54),排放管道(54)上安裝有電磁閥三(55),真空罐(53)的頂部側面連接吸氣管道(56)的一端,吸氣管道(56)的中部安裝有電磁閥四(57)。
6.根據權利要求5所述的污泥低溫真空板框壓濾機,其特征在于:所述隔膜充氣加壓機構(6)包含有真空泵(61)和隔膜充氣組件,所述吸氣管道(56)的另一端連接真空泵(61)的進氣口,所述真空泵(61)的出氣口通過隔膜充氣組件連接各個加壓隔膜(39)。
7.根據權利要求2所述的污泥低溫真空板框壓濾機,其特征在于:還包括濾餅清除機構(7),前側的兩個立柱(21)之間安裝有濾餅清除機構(7),所述濾餅清除機構(7)位于前側的橫滑桿(26)下方。
8.根據權利要求7所述的污泥低溫真空板框壓濾機,其特征在于:所述濾餅清除機構(7)包含有直線橫移組件、濾餅震動清除組件、電動伸縮桿一(79)和凸塊(711),前側的兩個立柱(21)之間安裝有直線橫移組件,直線橫移組件的頂部設置有濾餅震動清除組件,所述濾餅震動清除組件上安裝電動伸縮桿一(79)的底部,所述電動伸縮桿一(79)的頂部設置有凸塊(711)。
9.根據權利要求8所述的污泥低溫真空板框壓濾機,其特征在于:所述壓濾板框機構(3)還包含有底凹槽(310),所述滑動塊(31)的底部開設有底凹槽(310),所述凸塊(711)與底凹槽(310)對應配合設置。
10.根據權利要求4所述的污泥低溫真空板框壓濾機,其特征在于:還包括濾布清理位置調整機構(8)和濾布清理機構(9),所述濾布清理位置調整機構(8)安裝在縱梁(22)和止推板(23)的頂部,所述濾布清理位置調整機構(8)的底部連接有濾布清理機構(9)。
發明內容
本發明要解決的技術問題是克服現有的缺陷,提供一種污泥低溫真空板框壓濾機,采用隔膜加壓降低濾餅含水量的同時,采用真空負壓對板框主體中壓濾腔內的濾餅進行抽濕處理,進一步降低濾餅中的含水量,壓濾機的固液分離效果好,壓濾完成后通過濾餅清除機構中的濾餅震動清除組件工作,可以將板框中壓濾腔邊角處附著的濾餅震動清除,可以提高板框中濾餅的清理效率,可以有效解決背景技術中的問題。
為實現上述目的,本發明提供如下技術方案:一種污泥低溫真空板框壓濾機,包括:
臺板,上側中部開設有濾餅下落通槽;
板框壓濾支撐動力機構,包含有立柱、縱梁、止推板、污泥加注孔、濾水出孔、橫滑桿、擠壓板、導向滑塊、液壓缸、濾水排放組件,所述臺板的頂部四角分別固定連接有四個立柱,右側的兩個立柱頂部之間固定連接有縱梁,右側的兩個立柱之間固定連接有止推板,止推板的中部開設有污泥加注孔,所述止推板的側面四角分別開設有濾水出孔,四個濾水出孔的左端連接濾水排放組件,左右對應的兩個立柱之間固定連接有橫滑桿,所述縱梁的中部固定連接有液壓缸,液壓缸左側的伸縮端固定連接擠壓板的右側中部,所述擠壓板的前后側分別固定連接有導向滑塊,兩個導向滑塊分別與兩個橫滑桿橫向滑動連接;
壓濾板框機構,設有多個且設置在止推板和擠壓板之間,且每個壓濾板框機構的左右兩側分別設置有污泥過濾組件;
低溫真空排濕機構,頂部連接濾水排放組件中的集管;
隔膜充氣加壓機構,連接低溫真空排濕機構。
臺板用于安裝板框壓濾支撐動力機構,使用時,將每個壓濾板框機構的兩側分別安裝好污泥過濾組件,然后液壓缸工作推著擠壓板通過導向滑塊沿著橫滑桿向左移動,直到遇到止推板停止下來,此時所有的壓濾板框機構被牢牢壓住,然后通過污泥加注孔內各個壓濾板框機構內注入污泥漿,污泥漿中的固體顆粒被污泥過濾組件過濾留在壓濾板框機構內形成濾餅,濾出的液體通過濾水出孔和濾水排放組件排出,然后隔膜充氣加壓機構工作壓濾板框機構中的加壓隔膜加壓充氣,從而壓濾板框機構內過濾留下的濾餅進行進一布的加壓處理,可以將濾餅的水分通過濾水出孔和濾水排放組件擠壓出去,且隔膜充氣加壓機構將低溫真空排濕機構內抽真空,低溫真空排濕機構通過濾水排放組件和濾水出孔可以負壓吸收濾餅中的水和濕氣,進一步降低濾餅中的含水量。
進一步的,所述壓濾板框機構包含有滑動塊、板框主體、內固桿、污泥導流套、濾水通孔、滲水槽、加壓隔膜,所述板框主體的前后側分別固定連接有滑動塊,滑動塊側面的滑孔分別與對應的橫滑桿滑動連接,所述板框主體內中部通過內固桿固定連接有污泥導流套,所述污泥導流套與污泥加注孔對應設置,且板框主體內中部固定連接有加壓隔膜,加壓隔膜將板框主體內分隔為兩側的壓濾腔,污泥導流套穿過加壓隔膜中部的預留通孔,所述板框主體的四角分別開設有與濾水出孔對應的濾水通孔,所述板框主體的側面靠近濾水通孔的位置開設有滲水槽,滲水槽將濾水通孔端部與同側的壓濾腔連通。
內固桿用于固定污泥導流套和加壓隔膜,壓濾板框機構被擠壓到一起后,各個濾水通孔對應設置,各個污泥導流套對應設置,污泥導流套連通起來構成污泥通道,濾水通孔組成濾水的排出通道,從污泥加注孔內注入的污泥通過污泥導流套進入到各個壓濾腔內,污泥經過污泥過濾組件的過濾后通過滲水槽滲入濾水通孔內,然后從濾水排放組件排出,待壓濾腔內被填充滿過濾后剩下的濾餅后,停止向污泥加注孔內注入污泥,然后向加壓隔膜內加壓充氣,通過加壓隔膜向外擴張提高對壓濾腔內濾餅的擠壓力,從而將濾餅中的水進一步擠壓出去,擠出的水還是通過滲水槽和濾水通孔排出。
進一步的,所述壓濾板框機構還包含有環形卡槽和框狀卡槽,所述板框主體的兩側面靠近邊沿的位置分別開設有框狀卡槽,框狀卡槽包圍住四個濾水通孔,所述污泥導流套的兩端內側分別開設有環形卡槽。框狀卡槽用于固定污泥過濾組件的外框,環形卡槽用于固定污泥過濾組件的中部部件。
進一步的,所述污泥過濾組件包含有卡框、濾布、通水套、污泥側通孔,每個板框主體的兩側方分別設有卡框,卡框與同側的框狀卡槽配合卡接,且卡框內設置有濾布,濾布的中部固定連接有通水套,所述通水套靠近加壓隔膜的一端與環形卡槽卡接,通水套遠離加壓隔膜的一端側面環形陣列開設有污泥側通孔。
卡框卡入框狀卡槽,方便快速牢靠的將濾布展開固定在板框主體側面的壓濾腔處,通水套的端部卡入環形卡槽,使從污泥導流套通入的污泥不能流入加壓隔膜和濾布之間的縫隙,從污泥導流套通過的污泥流經通水套和污泥側通孔進入到兩個挨著濾布之間的空間,兩個板框主體之間一共有兩個濾布,通過兩個濾布中部的通水套相互抵緊,避免污泥從通水套內流經時將通水套沖開與環形卡槽脫離,設置污泥側通孔可以使污泥有序流入兩個挨著的濾布之間,位于兩個濾布之間的污泥中的水經過濾布過濾,濾出的水經過滲水槽和濾水通孔排出,被過濾留下的泥則推著濾布在壓濾腔內形成濾餅,通過環形卡槽和框狀卡槽對污泥過濾組件安裝,可以快速便捷的更換污泥過濾組件,利于將污泥過濾組件拆卸下來清理濾布。
進一步的,所述低溫真空排濕機構包含有排濕管道、電磁閥二、真空罐、排放管道、電磁閥三、吸氣管道、電磁閥四,真空罐的頂部進口通過電磁閥二連接排濕管道的底端,排濕管道的頂端連接集管,所述真空罐的底部側面連接排放管道,排放管道上安裝有電磁閥三,真空罐的頂部側面連接吸氣管道的一端,吸氣管道的中部安裝有電磁閥四。
在污泥初步對壓濾板框機構和污泥過濾組件進行過濾后,就會采用加壓隔膜進行二次加壓過濾,然后關閉濾水排放組件中的電磁閥一和電磁閥三,打開電磁閥四,通過隔膜充氣加壓機構將真空罐內抽真空,打開電磁閥二,真空罐中的負壓通過排濕管道、濾水出孔、濾水通孔、濾布接觸到濾餅,利于將濾布中的水、濕氣抽入真空罐內暫存,可以進一步降低濾餅的含水量,待排濕完成,關閉電磁閥二和電磁閥四,可以打開電磁閥三,通過排放管道將真空罐內底部吸出的水進行排放。
進一步的,所述隔膜充氣加壓機構包含有真空泵和隔膜充氣組件,所述吸氣管道的另一端連接真空泵的進氣口,所述真空泵的出氣口通過隔膜充氣組件連接各個加壓隔膜。真空泵用于通過吸氣管道將真空罐內抽真空,抽取的空氣通過隔膜充氣組件將加壓隔膜內擠壓充氣,一邊抽真空,一邊對加壓隔膜充氣加壓,不足的空氣通過進氣管路和電磁閥五從外部獲取。
進一步的,還包括濾餅清除機構,前側的兩個立柱之間安裝有濾餅清除機構,所述濾餅清除機構位于前側的橫滑桿下方,在壓濾完成后,液壓缸縮短,帶動擠壓板右移,濾餅清除機構可以帶動板框主體左移打開壓濾腔,壓濾腔中被濾布濾下的濾餅會掉落。
進一步的,所述濾餅清除機構包含有直線橫移組件、濾餅震動清除組件、電動伸縮桿一和凸塊,前側的兩個立柱之間安裝有直線橫移組件,直線橫移組件的頂部設置有濾餅震動清除組件,所述濾餅震動清除組件上安裝電動伸縮桿一的底部,所述電動伸縮桿一的頂部設置有凸塊。直線橫移組件帶動濾餅震動清除組件、電動伸縮桿一和凸塊橫移,使凸塊頂部對準滑動塊,電動伸縮桿一伸長,使凸塊抵住滑動塊的底部,濾餅震動清除組件帶動電動伸縮桿一和凸塊左右快速往復移動,利于將壓濾腔處于邊角處的濾餅抖掉。
進一步的,所述壓濾板框機構還包含有底凹槽,所述滑動塊的底部開設有底凹槽,所述凸塊與底凹槽對應配合設置,底凹槽配合凸塊可以提高對滑動塊的固定牢靠度。
進一步的,還包括濾布清理位置調整機構和濾布清理機構,所述濾布清理位置調整機構安裝在縱梁和止推板的頂部,所述濾布清理位置調整機構的底部連接有濾布清理機構,濾布清理位置調整機構用于帶動濾布清理機構活動,使濾布清理機構依次順序包裹住各個壓濾板框機構兩側污泥過濾組件,完成不拆卸污泥過濾組件而對污泥過濾組件的在線清理工作。
與現有技術相比,本發明的有益效果是:本污泥低溫真空板框壓濾機,具有以下好處:
1、采用隔膜加壓降低濾餅含水量的同時,采用真空負壓對板框主體中壓濾腔內的濾餅進行抽濕處理,進一步降低濾餅中的含水量,壓濾機的固液分離效果好;
2、壓濾完成后通過濾餅清除機構中的濾餅震動清除組件工作,可以將板框中壓濾腔邊角處附著的濾餅震動清除,可以提高板框中濾餅的清理效率。
(發明人:趙秋嵐;馬東方;陽重陽;錢偉斌;梁輝政;廖鳳珍)






