公布日:2024.05.03
申請日:2024.04.02
分類號:C02F3/30(2023.01)I;C02F101/10(2006.01)N;C02F101/16(2006.01)N
摘要
本發明公開了一種兩級AO脫氮除磷污水處理設備,涉及污水處理技術領域,包括安裝臺,所述安裝臺的頂部固定連接有厭氧罐,一種兩級AO脫氮除磷污水處理設備,通過將沉淀池中的活性污泥和需要處理的污水分別通入到厭氧罐上的兩個第一傳動管內,隨后第一傳動管將活性污泥和污水通過第二漏斗罩進入到混合管中的第一漏斗罩內,實現活性污泥和污水之間進行充分的沖擊式融合,隨后再通過第一漏斗罩內的混合桿的配合,再通過驅動機構帶動第一傳動管和混合管進行轉動,使第一漏斗罩內的污泥和污水在離心力作用下進行相互擠壓,從而實現厭氧罐內的活性污泥和污水之間進行充分的混合,進一步提高了厭氧罐內的生物反應。

權利要求書
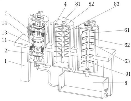
1.一種兩級AO脫氮除磷污水處理設備,包括安裝臺(1),其特征在于,所述安裝臺(1)的頂部固定連接有厭氧罐(2),所述厭氧罐(2)的底部固定連接有第一管道(3),所述第一管道(3)的一端固定連接有與安裝臺(1)固定連接的缺氧罐(4),所述缺氧罐(4)的底端固定連接有第二管道(5),所述第二管道(5)的一端固定連接有與安裝臺(1)固定連接的好氧罐(6),所述第一管道(3)與第二管道(5)上均設置有與安裝臺(1)固定連接的第一泵體(7),所述好氧罐(6)的下方設置有與安裝臺(1)固定連接的沉淀池(8),所述沉淀池(8)的一側通過管道固定連接有第二泵體(9),所述第二泵體(9)的輸出端固定連接有供料管(10);所述厭氧罐(2)的頂端和底端均轉動連接有第一傳動管(11),所述厭氧罐(2)底端的第一傳動管(11)上轉動連接有與厭氧罐(2)固定連接的第一連接管(12),所述第一連接管(12)的與供料管(10)固定連接,兩個所述第一傳動管(11)之間固定連接有混合管(13),所述混合管(13)的外表面固定連接有多個排料管(14),所述第一傳動管(11)上設置有擠壓攪拌機構,所述擠壓攪拌機構用于對混合料進行擠壓攪拌,使其凈化物中的氣體擠壓出,所述厭氧罐(2)頂部的第一傳動管(11)外表面設置有與厭氧罐(2)相連接的驅動機構,所述驅動機構用于帶動第一傳動管(11)進行轉動,所述厭氧罐(2)頂部的第一傳動管(11)的頂端轉動連接有與厭氧罐(2)固定連接的第二連接管(15),所述第二連接管(15)的頂端固定連接有進料管,所述厭氧罐(2)的頂部通過管道固定連接有真空泵(16);所述擠壓攪拌機構包括與第一傳動管(11)固定連接的安裝板(31),所述安裝板(31)的底部固定連接有電動伸縮桿(32),所述電動伸縮桿(32)的底部固定連接有與第一傳動管(11)滑動連接的第一連接盤(33),所述第一連接盤(33)的底部通過連接柱固定連接與第一傳動管(11)滑動連接的第二連接盤(34),所述第一連接盤(33)與第二連接盤(34)的頂部均貫穿開設有透氣孔(35),所述第一連接盤(33)上轉動連接有與第二連接盤(34)轉動連接的第一傳動軸(36),所述第一傳動軸(36)的外表面固定連接有多個第一攪拌桿(37),所述第一傳動軸(36)的外表面傳動連接有與第一連接盤(33)相連接的第一傳動機構;所述第一傳動機構包括與第一連接盤(33)固定連接的第一電機(41),所述第一電機(41)的輸出端通過聯軸器固定連接有第一轉軸(42),所述第一轉軸(42)的外表面固定套接有第一齒輪(43),所述第一齒輪(43)的外表面嚙合連接有與第一連接盤(33)轉動連接的傳動齒圈(44),所述傳動齒圈(44)的外表面嚙合連接有與第一傳動軸(36)固定套接的第二齒輪(45);所述好氧罐(6)上轉動連接有第二傳動管(61),所述第二傳動管(61)的外表面焊接有多個排氣板(62),所述排氣板(62)內開設有特斯拉閥槽(63),所述第二傳動管(61)的頂端轉動連接有與好氧罐(6)固定連接的第三連接管(64),所述第三連接管(64)的頂端通過管道固定連接有與好氧罐(6)固定連接的鼓風機(65),所述第二傳動管(61)的外表面傳動連接有與好氧罐(6)相連接的第二傳動機構。
2.根據權利要求1所述的一種兩級AO脫氮除磷污水處理設備,其特征在于,所述混合管(13)內固定連接有兩個第一漏斗罩(21),兩個所述第一漏斗罩(21)內固定連接有多個混合桿(22),兩個所述第一傳動管(11)內均固定連接有第二漏斗罩(23),所述排料管(14)內轉連接有擋板(24),所述擋板(24)的一側固定連接有與排料管(14)固定連接的彈簧(25),所述排料管(14)內固定連接有擋塊(26)。
3.根據權利要求1所述的一種兩級AO脫氮除磷污水處理設備,其特征在于,所述驅動機構包括與厭氧罐(2)固定連接的驅動電機(51),所述驅動電機(51)的輸出端通過聯軸器固定連接有驅動軸(52),所述驅動軸(52)的外表面嚙合連接有與第一驅動齒輪(53),所述第一驅動齒輪(53)的外表面嚙合連接有與第一傳動管(11)固定套接的第二驅動齒輪(54)。
4.根據權利要求1所述的一種兩級AO脫氮除磷污水處理設備,其特征在于,所述第二傳動機構包括與好氧罐(6)固定連接的第二電機(71),所述第二電機(71)的輸出端通過聯軸器固定連接有第二轉軸(72),所述第二轉軸(72)的外表面固定套接有第三齒輪(73),所述第三齒輪(73)的外表面嚙合連接有與第二傳動管(61)固定套接的第四齒輪(74)。
5.根據權利要求1所述的一種兩級AO脫氮除磷污水處理設備,其特征在于,所述缺氧罐(4)的頂部固定連接有第三電機(81),所述第三電機(81)的輸出端通過聯軸器固定連接有與缺氧罐(4)轉動連接的第二傳動軸(82),所述第二傳動軸(82)的外表面固定連接有多個第二攪拌桿(83)。
6.根據權利要求1所述的一種兩級AO脫氮除磷污水處理設備,其特征在于,所述厭氧罐(2)、缺氧罐(4)和好氧罐(6)內均固定連接有電加熱板(91)。
發明內容
本發明的目的在于提供一種兩級AO脫氮除磷污水處理設備,以解決上述背景技術中的問題。
本發明的目的可以通過以下技術方案實現:
一種兩級AO脫氮除磷污水處理設備,包括安裝臺,所述安裝臺的頂部固定連接有厭氧罐,所述厭氧罐的底部固定連接有第一管道,所述第一管道的一端固定連接有與安裝臺固定連接的缺氧罐,所述缺氧罐的底端固定連接有第二管道,所述第二管道的一端固定連接有與安裝臺固定連接的好氧罐,所述第一管道與第二管道上均設置有與安裝臺固定連接的第一泵體,所述好氧罐的下方設置有與安裝臺固定連接的沉淀池,所述沉淀池的一側通過管道固定連接有第二泵體,所述第二泵體的輸出端固定連接有供料管;
所述厭氧罐的頂端和底端均轉動連接有第一傳動管,所述厭氧罐底端的第一傳動管上轉動連接有與厭氧罐固定連接的第一連接管,所述第一連接管的與供料管固定連接,兩個所述第一傳動管之間固定連接有混合管,所述混合管的外表面固定連接有多個排料管,所述第一傳動管上設置有擠壓攪拌機構,所述擠壓攪拌機構用于對混合料進行擠壓攪拌,使其凈化物中的氣體擠壓出,所述厭氧罐頂部的第一傳動管外表面設置有與厭氧罐相連接的驅動機構,所述驅動機構用于帶動第一傳動管進行轉動,所述厭氧罐頂部的第一傳動管的頂端轉動連接有與厭氧罐固定連接的第二連接管,所述第二連接管的頂端固定連接有進料管,所述厭氧罐的頂部通過管道固定連接有真空泵。
作為本發明進一步的方案:所述混合管內固定連接有兩個第一漏斗罩,兩個所述第一漏斗罩內固定連接有多個混合桿,兩個所述第一傳動管內均固定連接有第二漏斗罩,所述排料管內轉連接有擋板,所述擋板的一側固定連接有與排料管固定連接的彈簧,所述排料管內固定連接有擋塊。
作為本發明進一步的方案:所述擠壓攪拌機構包括與第一傳動管固定連接的安裝板,所述安裝板的底部固定連接有電動伸縮桿,所述電動伸縮桿的底部固定連接有與第一傳動管滑動連接的第一連接盤,所述第一連接盤的底部通過連接柱固定連接與第一傳動管滑動連接的第二連接盤,所述第一連接盤與第二連接盤的頂部均貫穿開設有透氣孔,所述第一連接盤上轉動連接有與第二連接盤轉動連接的第一傳動軸,所述第一傳動軸的外表面固定連接有多個第一攪拌桿,所述第一傳動軸的外表面傳動連接有與第一連接盤相連接的第一傳動機構。
作為本發明進一步的方案:所述第一傳動機構包括與第一連接盤固定連接的第一電機,所述第一電機的輸出端通過聯軸器固定連接有第一轉軸,所述第一轉軸的外表面固定套接有第一齒輪,所述第一齒輪的外表面嚙合連接有與第一連接盤轉動連接的傳動齒圈,所述傳動齒圈的外表面嚙合連接有與第一傳動軸固定套接的第二齒輪。
作為本發明進一步的方案:所述驅動機構包括與厭氧罐固定連接的驅動電機,所述驅動電機的輸出端通過聯軸器固定連接有驅動軸,所述驅動軸的外表面嚙合連接有與第一驅動齒輪,所述第一驅動齒輪的外表面嚙合連接有與第一傳動管固定套接的第二驅動齒輪。
作為本發明進一步的方案:所述好氧罐上轉動連接有第二傳動管,所述第二傳動管的外表面焊接有多個排氣板,所述排氣板內開設有特斯拉閥槽,所述第二傳動管的頂端轉動連接有與好氧罐固定連接的第三連接管,所述第三連接管的頂端通過管道固定連接有與好氧罐固定連接的鼓風機,所述第二傳動管的外表面傳動連接有與好氧罐相連接的第二傳動機構。
作為本發明進一步的方案:所述第二傳動機構包括與好氧罐固定連接的第二電機,所述第二電機的輸出端通過聯軸器固定連接有第二轉軸,所述第二轉軸的外表面固定套接有第三齒輪,所述第三齒輪的外表面嚙合連接有與第二傳動管固定套接的第四齒輪。
作為本發明進一步的方案:所述缺氧罐的頂部固定連接有第三電機,所述第三電機的輸出端通過聯軸器固定連接有與缺氧罐轉動連接的第二傳動軸,所述第二傳動軸的外表面固定連接有多個第二攪拌桿。
作為本發明進一步的方案:所述厭氧罐、缺氧罐和好氧罐內均固定連接有電加熱板。
本發明的有益效果:
(1)通過將沉淀池中的活性污泥和需要處理的污水分別通入到厭氧罐上的兩個第一傳動管內,隨后第一傳動管將活性污泥和污水通過第二漏斗罩進入到混合管中的第一漏斗罩內,實現活性污泥和污水之間進行充分的沖擊式融合,隨后再通過第一漏斗罩內的混合桿的配合,再通過驅動機構帶動第一傳動管和混合管進行轉動,使第一漏斗罩內的污泥和污水在離心力作用下進行相互擠壓,從而實現厭氧罐內的活性污泥和污水之間進行充分的混合,進一步提高了厭氧罐內的生物反應,大大提高了厭氧罐內的除氮效果和效率。
(2)通過電動伸縮桿帶動第一連接盤和第二連接盤進行往復移動,使厭氧罐內的兩個第二連接盤相互靠近和遠離,使兩個第二連接盤對厭氧罐內的活性污泥和污水進行擠壓,同時通過第一傳動機構帶動第一傳動軸進行轉動,第一傳動軸帶動第一攪拌桿進行轉動,第一攪拌桿對活性污泥和污水進行攪拌,使活性污泥和污水中的氣泡被破碎,同時在擠壓力的作用下,氣體通過第一連接盤和第二連接盤上的透氣孔排出,隨后通過真空泵進行吸出,從而實現對厭氧罐內的氧氣進行及時的排出,降低氧氣對生物反應的影響,提高了厭氧罐內的生物反應效果,同時進行一邊擠壓和一邊攪拌混合,從而進一步提高了活性污泥與污水之間的融合效果。
(3)通過鼓風機和管道將風通入到第三連接管,隨后通過第三連接管將空氣通入到排氣板內,隨后通過排氣板上的特斯拉閥槽將空氣排入到好氧罐內,同時通過第二傳動機構帶動第二傳動管進行轉動,第二傳動管將空氣充分的排入到好氧罐內,給好氧罐內的混合物進行充分的供氧,同時排氣板在好氧罐內轉動,對混合物進行攪拌,使其混合物進行充分混合,進一步提高生物反應,同時通過排氣板上特斯拉閥槽的單向作用,有效的防止雜物通過排氣槽進入到第二傳動管內造成第二傳動管堵塞的問題。
(發明人:胡茂剛;冀世鋒;周穎;史永奇;王國華)






