公布日:2023.11.10
申請日:2023.08.17
分類號:C02F3/28(2023.01)I;C10L3/10(2006.01)I;C02F101/30(2006.01)N
摘要
本發明公開了一種應用于高濃度有機廢水處理的厭氧外循環反應器,涉及有機廢水處理裝置領域,包括反應器本體和回流泵,所述回流泵設置在反應器本體的外部,所述反應器本體內部設置有汽水分離組件,所述汽水分離組件滑動安裝于反應器本體內壁,所述反應器本體內位于汽水分離組件下方固定安裝有第一篩板。本發明通過回流泵將反應器內的水抽吸至汽水分離組件內,反應器本體中的氣體經分離器分離過濾形成沼氣,沼氣再循環進入反應器本體中,汽水分離組件利用回流泵提供的回流水與沼氣混合后形成的高壓氣霧,使比重大的水分和比重小的氣體脫離的作用,對沼氣經過二次過濾處理,提高沼氣的純度,保證其利用率。

權利要求書
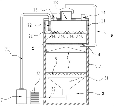
1.一種應用于高濃度有機廢水處理的厭氧外循環反應器,包括反應器本體(1)和回流泵(7),所述回流泵(7)設置在反應器本體(1)的外部,其特征在于:所述反應器本體(1)內部設置有汽水分離組件(2),所述汽水分離組件(2)滑動安裝于反應器本體(1)內壁,所述反應器本體(1)內位于汽水分離組件(2)下方固定安裝有第一篩板(4),所述反應器本體(1)內部的底端設置有回流腔(3),所述回流腔(3)頂部設置有第二篩板(6),所述汽水分離組件(2)包括活動安裝在反應器本體(1)內部的安裝板(21),所述安裝板(21)的底部安裝有多組高壓噴頭(22),所述高壓噴頭(22)底部居中位置固定有第一噴嘴(23),所述高壓噴頭(22)底部安裝有多組第二噴嘴(24),所述反應器本體(1)一側設置有沼氣循環管(5)。
2.根據權利要求1所述的一種應用于高濃度有機廢水處理的厭氧外循環反應器,其特征在于:所述第一篩板(4)的內部固定有多組固定板(41),所述固定板(41)和第二噴嘴(24)在垂直方向上一一對應設置。
3.根據權利要求1所述的一種應用于高濃度有機廢水處理的厭氧外循環反應器,其特征在于:所述回流腔(3)內設置有收集斗(31)和回流管(32),所述回流管(32)貫穿于反應器本體(1)且延伸至反應器本體(1)外部,所述回流管(32)與回流泵(7)連接,且回流管(32)和回流泵(7)之間設置有凈水處理器(8)。
4.根據權利要求1所述的一種應用于高濃度有機廢水處理的厭氧外循環反應器,其特征在于:所述回流泵(7)的輸出端安裝有連通管(71),且連通管(71)的端部設置有波紋管(72),并且波紋管(72)與汽水分離組件(2)連接。
5.根據權利要求1所述的一種應用于高濃度有機廢水處理的厭氧外循環反應器,其特征在于:所述沼氣循環管(5)的一端貫穿至反應器本體(1)的內部,且反應器本體(1)的頂部設置有進氣口(12),并且進氣口(12)與沼氣循環管(5)的另一端連接,所述沼氣循環管(5)的一端傾斜設置。
6.根據權利要求1所述的一種應用于高濃度有機廢水處理的厭氧外循環反應器,其特征在于:所述反應器本體(1)頂部的一側安裝有進液管(13),且進液管(13)的端部設置有閥門,所述反應器本體(1)頂部的另一側安裝有排氣管(14),且排氣管(14)的內部安裝有電磁閥。
7.根據權利要求1所述的一種應用于高濃度有機廢水處理的厭氧外循環反應器,其特征在于:所述安裝板(21)的兩側固定有多組滑塊(25),且滑塊(25)截面設置為半圓形,所述反應器本體(1)的內壁開設有滑槽(11)。
8.根據權利要求1所述的一種應用于高濃度有機廢水處理的厭氧外循環反應器,其特征在于:所述反應器本體(1)內部位于第一篩板(4)的下方固定有防護罩(9),且防護罩(9)錐形設置,所述防護罩(9)的外壁固定有套環(91),且防護罩(9)的上方開設有漏孔(92)。
發明內容
基于此,本發明的目的是提供一種應用于高濃度有機廢水處理的厭氧外循環反應器,以解決上述背景技術中提到的技術問題。
為實現上述目的,本發明提供如下技術方案:一種應用于高濃度有機廢水處理的厭氧外循環反應器,包括反應器本體和回流泵,所述回流泵設置在反應器本體的外部,所述反應器本體內部設置有汽水分離組件,所述汽水分離組件滑動安裝于反應器本體內壁,所述反應器本體內位于汽水分離組件下方固定安裝有第一篩板,所述反應器本體內部的底端設置有回流腔,所述回流腔頂部設置有第一篩板,所述汽水分離組件包括活動安裝在反應器本體內部的安裝板,所述安裝板的底部安裝有多組高壓噴頭,所述高壓噴頭底部居中位置固定有第一噴嘴,所述高壓噴頭底部安裝有多組第二噴嘴,所述反應器本體一側設置有沼氣循環管。
通過采用上述技術方案,通過回流泵將反應器內的水抽吸至汽水分離組件內,反應器本體中的氣體經分離器分離過濾形成沼氣,沼氣再循環進入反應器本體中,汽水分離組件利用回流泵提供的回流水與沼氣混合后形成的高壓氣霧,使比重大的水分和比重小的氣體脫離的作用,對沼氣經過二次過濾處理,提高沼氣的純度,保證其利用率。
本發明進一步設置為,所述第一篩板的內部固定有多組固定板,所述固定板和第二噴嘴在垂直方向上一一對應設置。
通過采用上述技術方案,通過設置的固定板能夠與第二噴嘴和第一噴嘴配合,當第二噴嘴和第一噴嘴噴出液體時與固定板接觸,從而形成反作用力,使得安裝板在反應器本體內部滑動。
本發明進一步設置為,所述回流腔內設置有收集斗和回流管,所述回流管貫穿于反應器本體且延伸至反應器本體外部,所述回流管與回流泵連接,且回流管和回流泵之間設置有凈水處理器。
通過采用上述技術方案,通過設置的收集斗能使得液體更好的收集起來,回流泵通過回流管將收集斗收集的液體抽出,使得液體能夠重復利用。
本發明進一步設置為,所述回流泵的輸出端安裝有連通管,且連通管的端部設置有波紋管,并且波紋管與汽水分離組件連接。
通過采用上述技術方案,通過設置的連通管能夠將液體進行傳送到波紋管內,波紋管能夠將液體傳送至汽水分離組件,當汽水分離組件在反應器本體內部滑動時,波紋管形變,不會影響到液體的傳輸。
本發明進一步設置為,所述沼氣循環管的一端貫穿至反應器本體的內部,且反應器本體的頂部設置有進氣口,并且進氣口與沼氣循環管的另一端連接,所述沼氣循環管的一端傾斜設置。
通過采用上述技術方案,傾斜設置的沼氣循環管使得液體落下時不會進入到沼氣循環管內,避免沼氣循環管堵塞的問題,沼氣通過進氣口進入到反應器本體內部的頂端,完成凈化。
本發明進一步設置為,所述反應器本體頂部的一側安裝有進液管,且進液管的端部設置有閥門,所述反應器本體頂部的另一側安裝有排氣管,且排氣管的內部安裝有電磁閥。
通過采用上述技術方案,通過設置的進液管方便向反應器本體內部添加液體,閥門關閉能夠確保反應器本體內部的密封性,排氣管的設置能夠方便將沼氣排出,電磁閥打開即可將沼氣排出。
本發明進一步設置為,所述安裝板的兩側固定有多組滑塊,且滑塊截面設置為半圓形,所述反應器本體的內壁開設有滑槽。
通過采用上述技術方案,通過設置的滑塊和滑槽配合,從而使得安裝板在反應器本體內部滑動,半圓形設置的滑塊減少了與反應器本體接觸的摩擦力。
本發明進一步設置為,所述反應器本體內部位于第一篩板的下方固定有防護罩,且防護罩錐形設置,所述防護罩的外壁固定有套環,且防護罩的上方開設有漏孔。
通過采用上述技術方案,水落在防護罩的上方,通過漏孔落下,由于漏孔低落的流量小于高壓噴頭落水的流量,所以會在套環內積水,而沼氣則會堆積在防護罩的上方,沼氣在氣壓的作用下進入到沼氣循環管,使得沼氣位于反應器本體的中部,當反應器本體內部的沼氣堆積時,在壓力的作用下,更好的進入到沼氣循環管的內部。
綜上所述,本發明主要具有以下有益效果:
本發明通過設置汽水分離組件、回流泵、第一篩板和防護罩,通過回流泵將反應器內的水抽吸至汽水分離組件內,反應器本體中的氣體經分離器分離過濾形成沼氣,沼氣再循環進入反應器本體中,汽水分離組件利用回流泵提供的回流水與沼氣混合后形成的高壓氣霧,使比重大的水分和比重小的氣體脫離的作用,對沼氣經過二次過濾處理,提高沼氣的純度,保證其利用率。
(發明人:高繼賢;黃興剛;王亞東;顏丙通;張進鋒;朱衛兵;莊淵;范茂軍;常燕青;楊虎君)






