公布日:2024.05.03
申請日:2024.02.07
分類號:B01D36/04(2006.01)I;C02F1/00(2023.01)I
摘要
本發明公開了一種環境垃圾處理用的污水分離裝置,涉及污水處理技術領域,包括水槽,過濾裝置,其安裝于水槽內壁,清理裝置,其安裝于水槽頂部,旋轉裝置,其安裝于過濾裝置一側,阻水塊,其固定安裝于水槽內壁底部一側,轉動槽,其開設于水槽內壁底部另一側,且位于過濾裝置下方;該裝置過阻水塊對于流動污水的阻擋作用,使得污水在經過水槽時流速有一定程度的降低,實現對污水進行沉降的效果,同時通過阻水塊與清理裝置的配合,質量較輕、漂浮在上層的污染物比如塑料制品、落葉等會粘附到開孔板上,實現對于漂浮物的清理效果,另外通過過濾裝置和旋轉裝置的配合,改善了該裝置的適應條件,同時降低了人力和經濟成本。

權利要求書
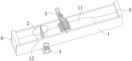
1.一種環境垃圾處理用的污水分離裝置,包括水槽(1),其特征在于,還包括:過濾裝置(2),其安裝于水槽(1)內壁;清理裝置(3),其安裝于水槽(1)頂部;旋轉裝置(4),其安裝于過濾裝置(2)一側。過濾裝置(2)包括:兩個轉板(21),其對稱密封轉動連接于水槽(1)內壁;過濾板(22),其固定安裝于兩個轉板(21)相向一側,且過濾板(22)沿高度方向貫穿開設有若干個通孔;若干個過濾組件(23),其分別安裝于沿過濾板(22)高度方向貫穿過濾板(22)開設的通孔內壁;若干個調整件(24),其分別安裝于轉板(21)一側;若干個孔槽(25),其分別開設于過濾板(22)一側,且孔槽(25)貫穿轉板(21)。
2.根據權利要求1所述的一種環境垃圾處理用的污水分離裝置,其特征在于,所述清理裝置(3)包括:旋轉軸(31),其滑動連接于水槽(1)頂部開設的槽內壁;五個開孔板(32),其呈圓周陣列狀固定安裝于旋轉軸(31)外側,且開孔板(32)一側貫穿開設有若干個開孔;翻轉組件(33),其安裝于旋轉軸(31)一端。
3.根據權利要求2所述的一種環境垃圾處理用的污水分離裝置,其特征在于,所述翻轉組件(33)包括:固定座(331),其固定安裝于水槽(1)一側;電動伸縮桿(332),其固定安裝于固定座(331)一側;滑動塊(333),其固定安裝于電動伸縮桿(332)一端,且滑動塊(333)滑動連接于固定安裝在水槽(1)一側的滑槽內壁;轉動底座(334),其一側轉動連接于滑動塊(333)頂部,且轉動底座(334)另一側與旋轉軸(31)一端固定連接;兩個轉桿(335),其一端對稱轉動連接于轉動底座(334)兩側;兩個固定桿(336),其一端分別固定安裝于水槽(1)頂部,且其另一端分別與轉桿(335)的一端轉動連接。
4.根據權利要求1所述的一種環境垃圾處理用的污水分離裝置,其特征在于,所述過濾組件(23)包括:外殼(231),其固定安裝于沿過濾板(22)高度方向貫穿過濾板(22)開設的通孔內壁;通孔一(232),其貫穿開設于外殼(231)頂部;通孔二(233),其貫穿開設于外殼(231)底部;旋轉環(234),其轉動連接于外殼(231)內腔底部,旋轉環(234)內側孔徑與通孔一(232)、通孔二(233)內緣直徑相同;齒環(235),其固定安裝于旋轉環(234)一側,齒環(235)通過貫穿開設于外殼(231)中部的通孔延伸至外殼(231)外側;固定環(236),其固定安裝于外殼(231)內腔底部,且固定環(236)位于旋轉環(234)內側;若干個連桿(237),其呈圓周陣列狀分別轉動連接于旋轉環(234)頂部,連桿(237)另一端通過開設于固定環(236)頂部的滑槽與固定環(236)滑動連接;若干個開合板(238),其一端轉動連接于連桿(237)一端,且開合板(238)另一端分別與固定環(236)頂部和外殼(231)內腔頂部轉動連接。
5.根據權利要求1所述的一種環境垃圾處理用的污水分離裝置,其特征在于,所述調整件(24)包括:齒條(241),其滑動連接于孔槽(25)內壁,且齒條(241)與齒環(235)相嚙合;套筒一(242),其固定安裝于轉板(21)一側,且套筒一(242)一端開孔正對孔槽(25);套筒二(243),其固定安裝于齒條(241)一側;螺紋桿(244),其轉動連接于套筒一(242)一端,且螺紋桿(244)貫穿套筒一(242)并延伸至套筒一(242)外側,螺紋桿(244)位于套筒一(242)內腔的一端與套筒二(243)內壁螺紋連接;六角頭(245),其固定安裝于螺紋桿(244)位于套筒一(242)外側一端。
6.根據權利要求1所述的一種環境垃圾處理用的污水分離裝置,其特征在于,所述旋轉裝置(4)包括:齒輪一(41),其通過聯軸器固定安裝于轉板(21)一側中間位置;驅動電機(42),其通過墊板固定安裝于水槽(1)一側底部;齒輪二(43),其通過聯軸器固定安裝于驅動電機(42)輸出端,且齒輪二(43)外側與齒輪一(41)外側相嚙合。
7.根據權利要求1所述的一種環境垃圾處理用的污水分離裝置,其特征在于,所述水槽(1)包括:阻水塊(11),其固定安裝于水槽(1)內壁底部一側;轉動槽(12),其開設于水槽(1)內壁底部另一側,且位于過濾裝置(2)下方。
8.根據權利要求7所述的一種環境垃圾處理用的污水分離裝置,其特征在于,所述水槽(1)還包括:進水閥(5),其固定安裝于水槽(1)靠近清理裝置(3)一側;出水閥(6),其固定安裝于水槽(1)靠近過濾裝置(2)一側。
發明內容
本發明的目的是提供一種環境垃圾處理用的污水分離裝置,以解決現有技術中的上述不足之處。
為了實現上述目的,本發明提供如下技術方案:一種環境垃圾處理用的污水分離裝置,包括水槽,還包括:
過濾裝置,其安裝于水槽內壁;
清理裝置,其安裝于水槽頂部;
旋轉裝置,其安裝于過濾裝置一側。
過濾裝置包括:
兩個轉板,其對稱密封轉動連接于水槽內壁;
過濾板,其固定安裝于兩個轉板相向一側,且過濾板沿高度方向貫穿開設有若干個通孔;
若干個過濾組件,其分別安裝于沿過濾板高度方向貫穿過濾板開設的通孔內壁;
若干個調整件,其分別安裝于轉板一側;
若干個孔槽,其分別開設于過濾板一側,且孔槽貫穿轉板。
進一步地,所述清理裝置包括:
旋轉軸,其滑動連接于水槽頂部開設的槽內壁;
五個開孔板,其呈圓周陣列狀固定安裝于旋轉軸外側,且開孔板一側貫穿開設有若干個開孔;
翻轉組件,其安裝于旋轉軸一端。
進一步地,所述翻轉組件包括:
固定座,其固定安裝于水槽一側;
電動伸縮桿,其固定安裝于固定座一側;
滑動塊,其固定安裝于電動伸縮桿一端,且滑動塊滑動連接于固定安裝在水槽一側的滑槽內壁;
轉動底座,其一側轉動連接于滑動塊頂部,且轉動底座另一側與旋轉軸一端固定連接;
兩個轉桿,其一端對稱轉動連接于轉動底座兩側;
兩個固定桿,其一端分別固定安裝于水槽頂部,且其另一端分別與轉桿的一端轉動連接。
進一步地,所述過濾組件包括:
外殼,其固定安裝于沿過濾板高度方向貫穿過濾板開設的通孔內壁;
通孔一,其貫穿開設于外殼頂部;
通孔二,其貫穿開設于外殼底部;
旋轉環,其轉動連接于外殼內腔底部,旋轉環內側孔徑與通孔一、通孔二內緣直徑相同;
齒環,其固定安裝于旋轉環一側,齒環通過貫穿開設于外殼中部的通孔延伸至外殼外側;
固定環,其固定安裝于外殼內腔底部,且固定環位于旋轉環內側;
若干個連桿,其呈圓周陣列狀分別轉動連接于旋轉環頂部,連桿另一端通過開設于固定環頂部的滑槽與固定環滑動連接;
若干個開合板,其一端轉動連接于連桿一端,且開合板另一端分別與固定環頂部和外殼內腔頂部轉動連接。
進一步地,所述調整件包括:
齒條,其滑動連接于孔槽內壁,且齒條與齒環相嚙合;
套筒一,其固定安裝于轉板一側,且套筒一一端開孔正對孔槽;
套筒二,其固定安裝于齒條一側;
螺紋桿,其轉動連接于套筒一一端,且螺紋桿貫穿套筒一并延伸至套筒一外側,螺紋桿位于套筒一內腔的一端與套筒二內壁螺紋連接;
六角頭,其固定安裝于螺紋桿位于套筒一外側一端。
進一步地,所述旋轉裝置包括:
齒輪一,其通過聯軸器固定安裝于轉板一側中間位置;
驅動電機,其通過墊板固定安裝于水槽一側底部;
齒輪二,其通過聯軸器固定安裝于驅動電機輸出端,且齒輪二外側與齒輪一外側相嚙合。
進一步地,所述水槽包括:
阻水塊,其固定安裝于水槽內壁底部一側;
轉動槽,其開設于水槽內壁底部另一側,且位于過濾裝置下方。
進一步地,所述水槽還包括:
進水閥,其固定安裝于水槽靠近清理裝置一側;
出水閥,其固定安裝于水槽靠近過濾裝置一側。
與現有技術相比,本發明提供一種環境垃圾處理用的污水分離裝置:
一、通過阻水塊對于流動污水的阻擋作用,使得污水在經過水槽時流速有一定程度的降低,在此過程中由于流速下降,污水中質量較大的固體污染物會在重力的作用下下沉,實現對污水進行沉降的效果;
二、通過阻水塊與清理裝置的配合,在污水經過阻水塊后,由于存在高度差,流速變快的污水沖擊開孔板,質量較輕、漂浮在上層的污染物比如塑料制品、落葉等會粘附到開孔板上,實現對于漂浮物的清理效果;
三、通過過濾裝置和旋轉裝置的配合,控制過濾組件在不同水深、不同流速條件下開孔的大小,避免了現有開孔相同的篩選板無法適應水深流速變化的情況發生,改善了該裝置的適應條件,同時降低了人力和經濟成本。
(發明人:高紹雙)






