公布日:2024.05.03
申請日:2024.01.27
分類號:C02F9/00(2023.01)I;C02F1/00(2023.01)N;C02F1/38(2023.01)N;C02F1/40(2023.01)N
摘要
本申請涉及污水處理系統的技術領域,改善了現有技術對于餐廚污水中油脂回收效率不高的問題,公開了一種餐廚綜合污水油渣分離及廢棄油脂回收系統,其包括排污管;調節箱,連接排污管用于儲放污水,調節箱連通有提升管;離心塔,包括架體、轉軸和若干離心罐,架體上設置有駁接管,駁接管連通提升管,若干連接管均連通于連通于駁接管中,若干連接管通過駁接管與提升管相對轉動,離心罐設置有出液管,架體上設置有承接盆,出液管上設置有啟閉件,架體上設置有驅動若干啟閉件同時開啟或關閉的控制組件;冷凝箱;儲水箱;儲油箱。本申請能夠提供一種高效的餐廚綜合污水的油渣分離以及油脂回收的方案,增加污水處理的效果和效率。

權利要求書
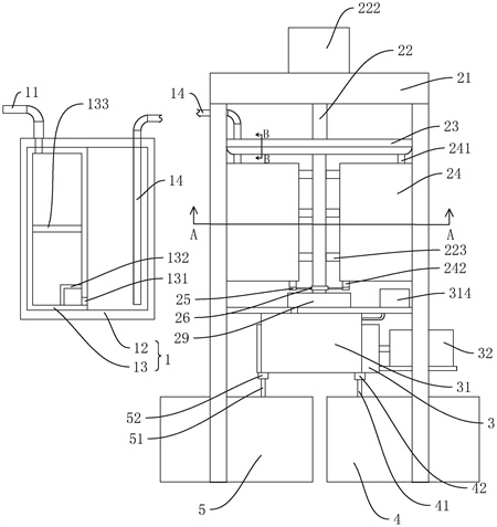
1.一種餐廚綜合污水油渣分離及廢棄油脂回收系統,其特征在于:包括:排污管(11);調節箱(1),連接所述排污管(11)用于儲放污水,所述調節箱(1)連通有提升管(14);離心塔(2),包括架體(21)、轉軸(22)和若干離心罐(24),所述轉軸(22)轉動連接于所述架體(21)中,若干所述離心罐(24)周向連接于所述轉軸(22)上,所述架體(21)上設置有驅動所述轉軸(22)轉動的轉動驅動件(222),所述離心罐(24)連通有連接管(241),所述架體(21)上設置有駁接管(23),所述駁接管(23)連通所述提升管(14),若干所述連接管(241)均連通于連通于所述駁接管(23)中,若干所述連接管(241)通過所述駁接管(23)與所述提升管(14)相對轉動,所述離心罐(24)遠離所述連接管(241)的一端設置有出液管(242),所述架體(21)上設置有用于承接所述出液管(242)流出液體的承接盆(29),所述出液管(242)上設置有啟閉件(25),所述架體(21)上設置有驅動若干所述啟閉件(25)同時開啟或關閉的控制組件(26);冷凝箱(3),通過排放管連通所述承接盆(29),所述冷凝箱(3)外部設置有冷卻組件(31),所述冷凝箱(3)內設置有用于推動固化油脂運動的刮推組件(32);儲水箱(4),通過排水管(41)連通所述冷凝箱(3),所述排水管(41)上設置有第一閥體(42);儲油箱(5),通過排油管(51)連通所述冷凝箱(3),所述排油管(51)上設置有第二閥體(52)。
2.根據權利要求1所述的一種餐廚綜合污水油渣分離及廢棄油脂回收系統,其特征在于:所述駁接管(23)包括固定槽管(231)和轉動槽管(232),所述固定槽管(231)固接于所述架體(21)上,所述轉動槽管(232)與所述固定槽管(231)轉動連接,所述固定槽管(231)和所述轉動槽管(232)開口相對設置并拼接形成環形管狀結構的駁接槽管,所述提升管(14)連通于所述固定槽管(231)上,若干所述連接管(241)均連通于所述轉動槽管(232)上。
3.根據權利要求2所述的一種餐廚綜合污水油渣分離及廢棄油脂回收系統,其特征在于:所述轉動槽管(232)靠近所述固定槽管(231)一側的外沿上周向設置有限位環(2321),所述固定槽管(231)開設有供所述限位環(2321)插入并滑動的限位槽(2311),所述限位環(2321)縱切面為T型,所述限位槽(2311)縱切面為對應的T型。
4.根據權利要求1所述的一種餐廚綜合污水油渣分離及廢棄油脂回收系統,其特征在于:所述轉動驅動件(222)為電機,所述轉動驅動件(222)輸出端連接所述轉軸(22),若干所述離心罐(24)通過若干加強桿(223)連接于所述轉軸(22)上。
5.根據權利要求1所述的一種餐廚綜合污水油渣分離及廢棄油脂回收系統,其特征在于:所述控制組件(26)包括控制管(261)、控制桿(263)和控制柱(28),所述控制管(261)周向陣列連接于所述轉軸(22)上,所述控制管(261)遠離所述轉軸(22)的一端連接所述出液管(242),所述控制管(261)開設有供所述啟閉件(25)滑動的滑槽(2611),所述滑槽(2611)與所述出液管(242)連通,所述控制桿(263)滑動連接于所述控制管(261)中,所述控制桿(263)一端連接所述啟閉件(25),另一端設置有抵接塊(27),所述轉軸(22)一端同軸開設有控制槽(221),所述控制管(261)與所述控制槽(221)連通,所述控制柱(28)滑動連接于所述控制槽(221)中,所述控制柱(28)可滑動后推動若干所述抵接塊(27)運動,所述架體(21)上設置有驅動所述控制柱(28)移動的滑動驅動件(281),所述控制管(261)內設置有令所述抵接塊(27)始終具有伸入所述控制槽(221)內的趨勢的彈性件(262)。
6.根據權利要求5所述的一種餐廚綜合污水油渣分離及廢棄油脂回收系統,其特征在于:所述承接盆(29)中部凸起(291)形成用于放置所述滑動驅動件(281)的空腔(292),所述轉軸(22)遠離所述轉動驅動件(222)的一端轉動連接于所述凸起(291)上。
7.根據權利要求1所述的一種餐廚綜合污水油渣分離及廢棄油脂回收系統,其特征在于:所述冷卻組件(31)包括冷水管(311)、冷卻曲管(312)、回流管(313)和冷卻壓縮機(314),所述冷卻曲管(312)盤曲于所述冷凝箱(3)外側,所述冷水管(311)一端連接所述冷卻曲管(312),另一端連接所述冷卻壓縮機(314),所述回流管(313)連接于所述冷卻曲管(312)遠離所述冷水管(311)的一端。
8.根據權利要求1所述的一種餐廚綜合污水油渣分離及廢棄油脂回收系統,其特征在于:所述刮推組件(32)包括刮推塊(321)和推動驅動件(322),所述刮推塊(321)與所述冷凝箱(3)內壁縱切截面形狀對應,所述推動驅動件(322)設置于所述架體(21)上用于驅動所述刮推塊(321)沿所述冷凝箱(3)長度方向運動,所述排水管(41)連接于所述冷凝箱(3)靠近所述推動驅動件(322)的一端,所述排油管(51)連接于所述冷凝箱(3)遠離所述推動驅動件(322)的一端。
9.根據權利要求1所述的一種餐廚綜合污水油渣分離及廢棄油脂回收系統,其特征在于:所述調節箱(1)包括箱體(12)和過濾盒(13),所述過濾盒(13)可拆卸連接于所述箱體(12)中,所述排污管(11)連接所述過濾盒(13),所述過濾盒(13)遠離所述排污管(11)的一端開設有與所述箱體(12)內部空間連通的過水孔(131),所述過水孔(131)上覆蓋有過濾網(132)。
10.根據權利要求9所述的一種餐廚綜合污水油渣分離及廢棄油脂回收系統,其特征在于:所述過濾盒(13)內垂直水流方向設置有若干的過濾層(133),所述過濾層(133)上貫通開設有若干過濾孔,越靠近所述過水孔(131)處的所述過濾層(133)上的所述孔徑直徑越小。
發明內容
為了改善現有技術對于餐廚污水中油脂回收效率不高的缺陷,本申請提供一種餐廚綜合污水油渣分離及廢棄油脂回收系統。
采用如下的技術方案:一種餐廚綜合污水油渣分離及廢棄油脂回收系統,包括:排污管;調節箱,連接所述排污管用于儲放污水,所述調節箱連通有提升管;離心塔,包括架體、轉軸和若干離心罐,所述轉軸轉動連接于所述架體中,若干所述離心罐周向連接于所述轉軸上,所述架體上設置有驅動所述轉軸轉動的轉動驅動件,所述離心罐連通有連接管,所述架體上設置有駁接管,所述駁接管連通所述提升管,若干所述連接管均連通于連通于所述駁接管中,若干所述連接管通過所述駁接管與所述提升管相對轉動,所述離心罐遠離所述連接管的一端設置有出液管,所述架體上設置有用于承接所述出液管流出液體的承接盆,所述出液管上設置有啟閉件,所述架體上設置有驅動若干所述啟閉件同時開啟或關閉的控制組件;冷凝箱,通過排放管連通所述承接盆,所述冷凝箱外部設置有冷卻組件,所述冷凝箱內設置有用于推動固化油脂運動的刮推組件;儲水箱,通過排水管連通所述冷凝箱,所述排水管上設置有第一閥體;儲油箱,通過排油管連通所述冷凝箱,所述排油管上設置有第二閥體。
通過采用上述技術方案,餐廚綜合污水通過調節箱進行水質穩定,經過離心塔的離心作用,油脂與混合污水分離,將離心后的液體排入冷凝箱中,對液體進行降溫,直至油脂凝固,但混合污水依然處于液態,并將混合污水排入儲水箱中待繼續處理,將凝固油脂排入儲油箱中進行回收。以此提供一種高效的餐廚綜合污水的油渣分離以及油脂回收的方案,增加污水處理的效果和效率。
可選的,所述駁接管包括固定槽管和轉動槽管,所述固定槽管固接于所述架體上,所述轉動槽管與所述固定槽管轉動連接,所述固定槽管和所述轉動槽管開口相對設置并拼接形成環形管狀結構的駁接槽管,所述提升管連通于所述固定槽管上,若干所述連接管均連通于所述轉動槽管上。
通過采用上述技術方案,使得提升管和若干連接管可相對進行轉動,令離心罐在轉動過程中更加穩定。
可選的,所述轉動槽管靠近所述固定槽管一側的外沿上周向設置有限位環,所述固定槽管開設有供所述限位環插入并滑動的限位槽,所述限位環縱切面為T型,所述限位槽縱切面為對應的T型。
通過采用上述技術方案,使得固定槽管和轉動槽管之間的轉動更加穩定。
可選的,所述轉動驅動件為電機,所述轉動驅動件輸出端連接所述轉軸,若干所述離心罐通過若干加強桿連接于所述轉軸上。
通過采用上述技術方案,使得離心罐與轉軸的連接更加穩定。
可選的,所述控制組件包括控制管、控制桿和控制柱,所述控制管周向陣列連接于所述轉軸上,所述控制管遠離所述轉軸的一端連接所述出液管,所述控制管開設有供所述啟閉件滑動的滑槽,所述滑槽與所述出液管連通,所述控制桿滑動連接于所述控制管中,所述控制桿一端連接所述啟閉件,另一端設置有抵接塊,所述轉軸一端同軸開設有控制槽,所述控制管與所述控制槽連通,所述控制柱滑動連接于所述控制槽中,所述控制柱可滑動后推動若干所述抵接塊運動,所述架體上設置有驅動所述控制柱移動的滑動驅動件,所述控制管內設置有令所述抵接塊始終具有伸入所述控制槽內的趨勢的彈性件。
通過采用上述技術方案,經控制柱和彈性件的配合,通過推動控制桿移動,使得啟閉件能封閉出液管的管口或離開出液管的管口,以控制離心罐中的液體的流動。
可選的,所述承接盆中部凸起形成用于放置所述滑動驅動件的空腔,所述轉軸遠離所述轉動驅動件的一端轉動連接于所述凸起上。
通過采用上述技術方案,通過承接盆承接由出液管流出的液體。
可選的,所述冷卻組件包括冷水管、冷卻曲管、回流管和冷卻壓縮機,所述冷卻曲管盤曲于所述冷凝箱外側,所述冷水管一端連接所述冷卻曲管,另一端連接所述冷卻壓縮機,所述回流管連接于所述冷卻曲管遠離所述冷水管的一端。
通過采用上述技術方案,通過熱交換對冷凝箱進行降溫,從而令油脂固化,使得油脂和液體完全分離,并方便對油脂的回收。
可選的,所述刮推組件包括刮推塊和推動驅動件,所述刮推塊與所述冷凝箱內壁縱切截面形狀對應,所述推動驅動件設置于所述架體上用于驅動所述刮推塊沿所述冷凝箱長度方向運動,所述排水管連接于所述冷凝箱靠近所述推動驅動件的一端,所述排油管連接于所述冷凝箱遠離所述推動驅動件的一端。
可選的,所述調節箱包括箱體和過濾盒,所述過濾盒可拆卸連接于所述箱體中,所述排污管連接所述過濾盒,所述過濾盒遠離所述排污管的一端開設有與所述箱體內部空間連通的過水孔,所述過水孔上覆蓋有過濾網。
可選的,所述過濾盒內垂直水流方向設置有若干的過濾層,所述過濾層上貫通開設有若干過濾孔,越靠近所述過水孔處的所述過濾層上的所述孔徑直徑越小。
綜上所述,本申請包括以下至少一種有益效果:1.提供一種高效的餐廚綜合污水的油渣分離以及油脂回收的方案,增加污水處理的效果和效率;2.通過熱交換對冷凝箱進行降溫,從而令油脂固化,使得油脂和液體完全分離,并方便對油脂的回收。
(發明人:陳俊藝;郭進寶;林毅民;鄭藝平;陳永正)






