公布日:2024.05.24
申請日:2024.04.19
分類號:B01D29/58(2006.01)I;B01D29/96(2006.01)I
摘要
本發明適用于污水處理技術領域,提供了一種多級處理的污水凈化裝置及使用方法,污水處理裝置包括過濾箱,所述過濾箱內從上到下依次具有第一過濾腔、第二過濾腔和第三過濾腔,第一過濾腔、第二過濾腔和第三過濾腔內均設置有對應的過濾機構。使用方法中,污水依次經過第一過濾腔、第二過濾腔、第三過濾腔內的過濾機構進行過濾凈化處理;保證了對污水的過濾效果;在需要將過濾機構從對應過濾腔內拆除時,帶動轉動柱轉動一定角度,將限位棱塊對準轉動柱的平面結構,將轉動柱從安裝槽內取出,可以實現對過濾機構的快速拆裝維護,使用方便。

權利要求書
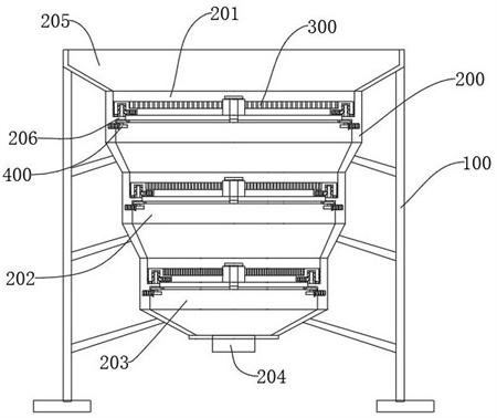
1.一種多級處理的污水凈化裝置,其特征在于,該污水處理裝置包括:過濾箱(200),所述過濾箱(200)內從上到下依次具有第一過濾腔(201)、第二過濾腔(202)和第三過濾腔(203),第一過濾腔(201)、第二過濾腔(202)和第三過濾腔(203)內均設置有對應的過濾機構(300);所述過濾機構(300)包括基板(301)以及設置在基板(301)上的過濾網(302),過濾網(302)上的孔徑用于表示過濾機構(300)的過濾孔徑;所述基板(301)通過安裝結構拆裝式安裝在第一過濾腔(201)內的支撐臺階(206)上,以方便將過濾機構(300)從第一過濾腔(201)內整體取出或者整體安裝;所述基板(301)的端部下表面開設有安裝槽(306),安裝槽(306)的敞口一側設置有限位棱塊(308),限位棱塊(308)通過彈性件支撐設置在基板(301)上,在彈性件的支撐作用下,限位棱塊(308)可以伸入安裝槽(306)內;所述安裝結構包括安裝在支撐臺階(206)上的支撐件(400),支撐件(400)包括轉動柱(401),轉動柱(401)與安裝槽(306)相適配;轉動柱(401)具有平面結構和弧面結構,轉動柱(401)的弧面結構上開設有與限位棱塊(308)相配合的限位槽(407),初始狀態下,限位槽(407)朝向限位棱塊(308)的方向;限位棱塊(308)的傾斜面向下,在將轉動柱(401)伸入安裝槽(306)內的時候,轉動柱(401)頂端先抵在限位棱塊(308)的傾斜面上,推動限位棱塊(308)向外移動,此時的第一支撐彈簧(307)處于被壓縮狀態;轉動柱(401)旋轉到其平面結構對準限位棱塊(308),此時,限位棱塊(308)沒有抵在限位槽(407)內;所述基板(301)上還轉動設置有阻尼調節柄(303),阻尼調節柄(303)上通過支桿(304)支撐安裝有錐齒環(305);所述轉動柱(401)下部同軸固定安裝有與支桿(304)相嚙合的從動錐齒輪(405)。
2.根據權利要求1所述的多級處理的污水凈化裝置,其特征在于,沿豎直方向設置在過濾箱(200)內的多組過濾機構(300)的過濾孔徑從上到下依次減小;第一過濾腔(201)、第二過濾腔(202)和第三過濾腔(203)的口徑呈階梯式變小,每個過濾腔內安裝有一個過濾機構(300)。
3.根據權利要求2所述的多級處理的污水凈化裝置,其特征在于,所述彈性件為第一支撐彈簧(307),第一支撐彈簧(307)的一端與基板(301)連接,第一支撐彈簧(307)的另一端與限位棱塊(308)連接。
4.根據權利要求3所述的多級處理的污水凈化裝置,其特征在于,所述過濾箱(200)呈豎向支撐固定安裝在機架(100)上,過濾箱(200)的頂端具有進入口(205),過濾箱(200)的底端具有排出口(204)。
5.根據權利要求4所述的多級處理的污水凈化裝置,其特征在于,所述基板(301)的外圓周面上具有第一密封環組(310);第一過濾腔(201)的內壁上具有第二密封環組(406);所述基板(301)的外端底面還設置有密封墊圈(309)。
6.根據權利要求5所述的多級處理的污水凈化裝置,其特征在于,所述支撐件(400)還包括用于使轉動柱(401)復位到初始狀態的復位組件;所述復位組件包括凸輪(402),凸輪(402)固定安裝在轉動柱(401)底端,所述復位組件還包括推拉擋板(404),推拉擋板(404)通過第二支撐彈簧(403)支撐設置在第一過濾腔(201)內壁上。
7.一種如權利要求1-6任一所述多級處理的污水凈化裝置的使用方法,其特征在于,該使用方法包括以下步驟:依次在第三過濾腔(203)、第二過濾腔(202)和第一過濾腔(201)內安裝對應的過濾機構(300);需要進行過濾凈化的污水通過進入口(205)加入第一過濾腔(201)內,污水依次經過第一過濾腔(201)、第二過濾腔(202)、第三過濾腔(203)內的過濾機構(300)進行過濾凈化處理;經過濾處理后的污水通過排出口(204)排出;在需要將過濾機構(300)從對應過濾腔內拆除時,使得阻尼調節柄(303)旋轉,帶動支桿(304)轉動,從動錐齒輪(405)旋轉一定角度,旋轉的從動錐齒輪(405)則帶動轉動柱(401)轉動一定角度,將限位棱塊(308)對準轉動柱(401)的平面結構,將轉動柱(401)從安裝槽(306)內取出。
發明內容
本發明實施例的目的在于提供一種多級處理的污水凈化裝置及使用方法,旨在解決上述背景技術中所提出的技術問題。
為實現上述目的,本發明提供了如下的技術方案。
第一方面,在本發明的一個實施例中,提供了一種多級處理的污水凈化裝置,該污水處理裝置包括:
過濾箱,所述過濾箱內從上到下依次具有第一過濾腔、第二過濾腔和第三過濾腔,第一過濾腔、第二過濾腔和第三過濾腔內均設置有對應的過濾機構;
所述過濾機構包括基板以及設置在基板上的過濾網,過濾網上的孔徑用于表示過濾機構的過濾孔徑;
所述基板通過安裝結構拆裝式安裝在第一過濾腔內的支撐臺階上,以方便將過濾機構從第一過濾腔內整體取出或者整體安裝;所述基板的端部下表面開設有安裝槽,安裝槽的敞口一側設置有限位棱塊,限位棱塊通過彈性件支撐設置在基板上,在彈性件的支撐作用下,使得限位棱塊可以伸入安裝槽內;所述安裝結構包括安裝在支撐臺階上的支撐件,支撐件包括轉動柱,轉動柱與安裝槽相適配。
進一步的,沿豎直方向設置在過濾箱內的多組過濾機構的過濾孔徑從上到下依次減小,以對污水進行逐級過濾處理;第一過濾腔、第二過濾腔和第三過濾腔的口徑呈階梯式變小,以便于對多組過濾機構進行逐個拆卸,每個過濾腔內安裝有一個過濾機構。
進一步的,所述彈性件為第一支撐彈簧,第一支撐彈簧的一端與基板連接,第一支撐彈簧的另一端與限位棱塊連接。
進一步的,過濾箱呈豎向支撐固定安裝在機架上,過濾箱的頂端具有進入口,過濾箱的底端具有排出口,需要進行凈化處理的污水通過進入口投入過濾箱內,以利用過濾箱內的沿豎直方向上設置的多組過濾機構對污水進行過濾凈化;其中,過濾凈化后的污水通過排出口排出,排出口可外接排水管。
進一步的,轉動柱具有平面結構和弧面結構,轉動柱的弧面結構上開設有與限位棱塊相配合的限位槽,初始狀態下,限位槽朝向限位棱塊的方向;其中,限位棱塊的傾斜面向下,在將轉動柱伸入安裝槽內的時候,轉動柱頂端先抵在限位棱塊的傾斜面上,進而推動限位棱塊向外移動,此時的第一支撐彈簧處于被壓縮狀態,直到轉動柱在安裝槽內到達指定位置后,在第一支撐彈簧的彈性恢復力作用下,將限位棱塊卡進對應的限位槽內,實現固定;相應的,當需要將轉動柱從安裝槽內拉出來的時候,只需將轉動柱旋轉一定角度,也就是說,把轉動柱旋轉到其平面結構對準限位棱塊,此時,由于限位棱塊沒有抵在了限位槽內,則可以自由將轉動柱從安裝槽內拉出來。
進一步的,所述基板的外圓周面上具有第一密封環組,第一過濾腔的內壁上具有第二密封環組,使得基板安裝在對應的第一過濾腔內時,可以使得基板外端面與第一過濾腔內壁之間有著良好的接觸密封;
所述基板的外端底面還設置有密封墊圈,以使得基板安裝在對應的第一過濾腔內時,提高基板與支撐臺階之間的密封性。
進一步的,所述基板上還轉動設置有阻尼調節柄,阻尼調節柄上通過支桿支撐安裝有錐齒環;所述轉動柱下部同軸固定安裝有與支桿相嚙合的從動錐齒輪,當使得阻尼調節柄旋轉時,可以帶動支桿轉動,進而使得從動錐齒輪旋轉一定角度,而旋轉的從動錐齒輪則帶動轉動柱轉動一定角度,因此,當需要將基板從轉動柱上拆除時,只需在阻尼調節柄、支桿、錐齒環和從動錐齒輪的配合下,使轉動柱旋轉一定角度,將限位棱塊對準轉動柱的平面結構即可。
進一步的,所述支撐件還包括用于使轉動柱復位到初始狀態的復位組件;
所述復位組件包括凸輪,凸輪固定安裝在轉動柱底端,所述復位組件還包括推拉擋板,推拉擋板通過第二支撐彈簧支撐設置在第一過濾腔內壁上,當轉動柱的平面結構對準限位棱塊時,此時凸輪轉動至將第二支撐彈簧進行壓縮,相應的,當工作人員釋放阻尼調節柄時,在第二支撐彈簧的彈性復位支撐作用下,使得轉動柱復位到初始狀態。
第二方面,在本發明的另一個實施例中,提供了一種多級處理的污水凈化裝置的使用方法,該使用方法包括以下步驟:
依次在第三過濾腔、第二過濾腔和第一過濾腔內安裝對應的過濾機構;需要進行過濾凈化的污水通過進入口加入第一過濾腔內,污水依次經過第一過濾腔、第二過濾腔、第三過濾腔內的過濾機構進行過濾凈化處理;經過濾處理后的污水通過排出口排出;
在需要將過濾機構從對應過濾腔內拆除時,使得阻尼調節柄旋轉,帶動支桿轉動,從動錐齒輪旋轉一定角度,旋轉的從動錐齒輪則帶動轉動柱轉動一定角度,將限位棱塊對準轉動柱的平面結構,將轉動柱從安裝槽內取出。
與現有技術相比,本發明多級處理的污水凈化裝置的有益效果是:
第一,需要進行過濾凈化的污水通過進入口加入第一過濾腔內,污水依次經過第一過濾腔、第二過濾腔、第三過濾腔內的過濾機構進行過濾凈化處理;經過濾處理后的污水通過排出口排出,保證了對污水的過濾效果;
第二,在需要將過濾機構從對應過濾腔內拆除時,使得阻尼調節柄旋轉,帶動支桿轉動,從動錐齒輪旋轉一定角度,旋轉的從動錐齒輪則帶動轉動柱轉動一定角度,將限位棱塊對準轉動柱的平面結構,將轉動柱從安裝槽內取出,可以實現對過濾機構的快速拆裝維護,使用方便。
(發明人:莫國莉;劉超;李巖;許哲峰;康軍;董佳慧;穆浩榮;康慧)






