公布日:2023.11.17
申請日:2023.08.15
分類號:C02F1/00(2023.01)I;B01F27/90(2022.01)I;B01F27/85(2022.01)I;B01D29/92(2006.01)I;B01D35/30(2006.01)I;B01D29/64(2006.01)I;B01D29/94(2006.01)I;
C02F101/20(2006.01)N
摘要
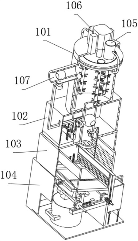
本發明公開了一種沉淀廢水多級收集稀土罐及其方法,涉及過濾收集技術領域,包括殼體組件、攪拌組件,所述殼體組件上安裝有閥門組件、分離組件、排水組件,所述閥門組件包括安裝在殼體組件上用于輸送廢水的球閥組件,所述閥門組件還包括安裝在殼體組件上用于連接傳動的連接組件,所述分離組件包括安裝在殼體組件上用于固液分離的過濾組件,所述分離組件還包括安裝在殼體組件上用于導出沉淀物的導料組件;通過排水組件和閥門組件配合,能夠對收集裝置中的廢水進行間歇導入和導出,確保了廢水過濾和沉淀物收集的效果,并且確保了廢水和處理劑的充分反應。

權利要求書
1.一種沉淀廢水多級收集稀土罐,包括殼體組件(1)、攪拌組件(5),其特征在于:所述殼體組件(1)上安裝有閥門組件(2)、分離組件(3)、排水組件(4),所述閥門組件(2)包括安裝在殼體組件(1)上用于輸送廢水的球閥組件,所述閥門組件(2)還包括安裝在殼體組件(1)上用于連接傳動的連接組件,所述分離組件(3)包括安裝在殼體組件(1)上用于固液分離的過濾組件,所述分離組件(3)還包括安裝在殼體組件(1)上用于導出沉淀物的導料組件,所述排水組件(4)包括滑動安裝在殼體組件(1)上的存水箱I(401),所述存水箱I(401)上固定安裝有齒條I(404),所述齒條I(404)與殼體組件(1)滑動安裝,所述存水箱I(401)上固定安裝有固定座II(407),所述固定座II(407)上彈簧連接有滑動齒條I(406),所述滑動齒條I(406)與存水箱I(401)滑動安裝,所述存水箱I(401)上滑動安裝有滑動支架II(402),所述滑動支架II(402)上固定安裝有浮箱I(403),所述存水箱I(401)上轉動安裝有轉動軸VII(409),所述轉動軸VII(409)上固定安裝有扭簧I(408)、齒輪II(410),所述轉動軸VII(409)上轉動安裝有卡接板I(411),所述扭簧I(408)第一端固定安裝在轉動軸VII(409)上,所述扭簧I(408)第二端固定安裝在卡接板I(411)上,所述齒輪II(410)與滑動齒條I(406)間歇嚙合。
2.根據權利要求1所述的一種沉淀廢水多級收集稀土罐,其特征在于:所述排水組件(4)還包括彈簧連接在殼體組件(1)上的彈簧支座I(412),所述彈簧支座I(412)與存水箱I(401)接觸連接,所述存水箱I(401)上設有出水口,所述出水口與殼體組件(1)配合用于排出廢水,所述排水組件(4)還包括轉動安裝在殼體組件(1)上的轉動軸VI(405),所述轉動軸VI(405)上固定安裝有齒輪,所述齒條I(404)與轉動軸VI(405)上的齒輪間歇嚙合,所述轉動軸VI(405)上還固定安裝有傳動輪。
3.根據權利要求1所述的一種沉淀廢水多級收集稀土罐,其特征在于:所述球閥組件包括固定安裝在殼體組件(1)上的輸水管I(201),所述輸水管I(201)上轉動安裝有轉動軸I(202),所述轉動軸I(202)上固定安裝有球閥I(203)、齒輪I(204),所述轉動軸I(202)與殼體組件(1)轉動安裝,所述球閥組件還包括轉動安裝在殼體組件(1)上的轉動軸II(210),所述轉動軸II(210)上固定安裝有球閥II(211),所述轉動軸II(210)上設有滑槽。
4.根據權利要求1所述的一種沉淀廢水多級收集稀土罐,其特征在于:所述連接組件包括滑動安裝在殼體組件(1)上的滑動支架I(205),所述滑動支架I(205)上固定安裝有齒條板,所述滑動支架I(205)上的齒條與齒輪I(204)間歇嚙合,所述滑動支架I(205)上固定安裝有浮球桿I(209),所述滑動支架I(205)上還固定安裝有彈簧I(206),所述彈簧I(206)第一端與滑動支架I(205)固定安裝,所述彈簧I(206)第二端與殼體組件(1)固定安裝,所述連接組件還包括轉動安裝在殼體組件(1)上的絲杠I(208),所述絲杠I(208)上螺紋連接有滑動卡板I(207),所述滑動卡板I(207)與殼體組件(1)滑動安裝,所述滑動卡板I(207)與滑動支架I(205)間歇配合,所述絲杠I(208)上固定安裝有傳動輪。
5.根據權利要求1所述的一種沉淀廢水多級收集稀土罐,其特征在于:所述過濾組件包括固定安裝在殼體組件(1)上的電機I(301)、導板I(302),所述電機I(301)輸出軸上固定安裝有絲桿,所述電機I(301)輸出軸上的絲桿與導板I(302)轉動安裝,所述電機I(301)輸出軸上的絲桿上螺紋連接有移動濾網I(309),所述移動濾網I(309)與導板I(302)滑動安裝,所述導板I(302)上固定安裝有濾板I(306)、導流框I(315)。
6.根據權利要求5所述的一種沉淀廢水多級收集稀土罐,其特征在于:所述過濾組件還包括滑動安裝在殼體組件(1)上的滑動桿I(305),轉動安裝在殼體組件(1)上的轉動軸III(303),所述轉動軸III(303)上固定安裝有扇葉輪,所述轉動軸III(303)上還固定安裝有偏心輪I(304),所述偏心輪I(304)與滑動桿I(305)滑動連接,所述滑動桿I(305)上固定安裝有齒條架I(307),所述齒條架I(307)設有滑動槽I(321),所述滑動槽I(321)上彈簧連接有刮板I(308)。
7.根據權利要求1所述的一種沉淀廢水多級收集稀土罐,其特征在于:所述導料組件包括轉動安裝在殼體組件(1)上的轉動軸IV(313)、轉動軸V(316),所述轉動軸IV(313)上固定安裝有凸輪I(314),所述轉動軸IV(313)上還固定安裝有傳動輪,所述轉動軸V(316)上固定安裝有傳動輪,所述轉動軸V(316)上還固定安裝有齒輪,所述轉動軸V(316)上的齒輪與齒條架I(307)間歇嚙合,所述轉動軸V(316)的傳動輪上固定安裝有連接繩I(312),所述連接繩I(312)與轉動軸IV(313)上的傳動輪進行帶傳動,所述連接繩I(312)上固定安裝有刮板II(310),所述刮板II(310)與1滑動安裝,所述刮板II(310)上固定安裝有彈簧II(311),所述彈簧II(311)第一端與殼體組件(1)固定安裝,所述彈簧II(311)第二端與刮板II(310)固定安裝。
8.根據權利要求7所述的一種沉淀廢水多級收集稀土罐,其特征在于:所述導料組件還包括固定安裝在殼體組件(1)上的固定座I(317),所述固定座I(317)上彈簧連接有滑動架I(318),所述滑動架I(318)上滑動安裝有導料框I(319),所述導料框I(319)與過濾組件彈簧連接,所述導料組件還包括活動連接在殼體組件(1)上用于收集沉淀物的儲存框I(320)。
9.一種使用如權利要求1至8任意一項所述的一種沉淀廢水多級收集稀土罐的使用方法,其特征在于,包括以下步驟:步驟一、向殼體I(101)中通入廢水和處理劑,啟動攪拌組件(5)對廢水和處理劑進行攪拌混合;步驟二、通過閥門組件(2)對混合的廢水進行轉移,啟動過濾組件對廢水進行過濾,啟動導料組件對沉淀物進行收集;步驟三、通過排水組件(4)對過濾后的廢水進行排出,進而觸發閥門組件(2)重新向殼體I(101)中供入新的廢水。
發明內容
針對上述問題,本發明提供如下技術方案:一種沉淀廢水多級收集稀土罐,包括殼體組件、攪拌組件,所述殼體組件上安裝有閥門組件、分離組件、排水組件,所述閥門組件包括安裝在殼體組件上用于輸送廢水的球閥組件,所述閥門組件還包括安裝在殼體組件上用于連接傳動的連接組件,所述分離組件包括安裝在殼體組件上用于固液分離的過濾組件,所述分離組件還包括安裝在殼體組件上用于導出沉淀物的導料組件,所述排水組件包括滑動安裝在殼體組件上的存水箱I,所述存水箱I上固定安裝有齒條I,所述齒條I與殼體組件滑動安裝,所述存水箱I上固定安裝有固定座II,所述固定座II上彈簧連接有滑動齒條I,所述滑動齒條I與存水箱I滑動安裝,所述存水箱I上滑動安裝有滑動支架II,所述滑動支架II上固定安裝有浮箱I,所述存水箱I上轉動安裝有轉動軸VII,所述轉動軸VII上固定安裝有扭簧I、齒輪II,所述轉動軸VII上轉動安裝有卡接板I,所述扭簧I第一端固定安裝在轉動軸VII上,所述扭簧I第二端固定安裝在卡接板I上,所述齒輪II與滑動齒條I間歇嚙合。
優選的,所述排水組件還包括彈簧連接在殼體組件上的彈簧支座I,所述彈簧支座I與存水箱I接觸連接,所述存水箱I上設有出水口,所述出水口與殼體組件配合用于排出廢水,所述排水組件還包括轉動安裝在殼體組件上的轉動軸VI,所述轉動軸VI上固定安裝有齒輪,所述齒條I與轉動軸VI上的齒輪間歇嚙合,所述轉動軸VI上還固定安裝有傳動輪。
優選的,所述球閥組件包括固定安裝在殼體組件上的輸水管I,所述輸水管I上轉動安裝有轉動軸I,所述轉動軸I上固定安裝有球閥I、齒輪I,所述轉動軸I與殼體組件轉動安裝,所述球閥組件還包括轉動安裝在殼體組件上的轉動軸II,所述轉動軸II上固定安裝有球閥II,所述轉動軸II上設有滑槽。
優選的,所述連接組件包括滑動安裝在殼體組件上的滑動支架I,所述滑動支架I上固定安裝有齒條板,所述滑動支架I上的齒條與齒輪I間歇嚙合,所述滑動支架I上固定安裝有浮球桿I,所述滑動支架I上還固定安裝有彈簧I,所述彈簧I第一端與滑動支架I固定安裝,所述彈簧I第二端與殼體組件固定安裝,所述連接組件還包括轉動安裝在殼體組件上的絲杠I,所述絲杠I上螺紋連接有滑動卡板I,所述滑動卡板I與殼體組件滑動安裝,所述滑動卡板I與滑動支架I間歇配合,所述絲杠I上固定安裝有傳動輪。
優選的,所述過濾組件包括固定安裝在殼體組件上的電機I、導板I,所述電機I輸出軸上固定安裝有絲桿,所述電機I輸出軸上的絲桿與導板I轉動安裝,所述電機I輸出軸上的絲桿上螺紋連接有移動濾網I,所述移動濾網I與導板I滑動安裝,所述導板I上固定安裝有濾板I、導流框I。
優選的,所述過濾組件還包括滑動安裝在殼體組件上的滑動桿I,轉動安裝在殼體組件上的轉動軸III,所述轉動軸III上固定安裝有扇葉輪,所述轉動軸III上還固定安裝有偏心輪I,所述偏心輪I與滑動桿I滑動連接,所述滑動桿I上固定安裝有齒條架I,所述齒條架I設有滑動槽I,所述滑動槽I上彈簧連接有刮板I。
優選的,所述導料組件包括轉動安裝在殼體組件上的轉動軸IV、轉動軸V,所述轉動軸IV上固定安裝有凸輪I,所述轉動軸IV上還固定安裝有傳動輪,所述轉動軸V上固定安裝有傳動輪,所述轉動軸V上還固定安裝有齒輪,所述轉動軸V上的齒輪與齒條架I間歇嚙合,所述轉動軸V的傳動輪上固定安裝有連接繩I,所述連接繩I與轉動軸IV上的傳動輪進行帶傳動,所述連接繩I上固定安裝有刮板II,所述刮板II與殼體組件滑動安裝,所述刮板II上固定安裝有彈簧II,所述彈簧II第一端與殼體組件固定安裝,所述彈簧II第二端與刮板II固定安裝。
優選的,所述導料組件還包括固定安裝在殼體組件上的固定座I,所述固定座I上彈簧連接有滑動架I,所述滑動架I上滑動安裝有導料框I,所述導料框I與過濾組件彈簧連接,所述導料組件還包括活動連接在殼體組件上用于收集沉淀物的儲存框I。
一種使用如權利要求1至8任意一項所述的一種沉淀廢水多級收集稀土罐的使用方法,包括以下步驟:步驟一:向殼體I中通入廢水和處理劑,啟動攪拌組件對廢水和處理劑進行攪拌混合。
步驟二:通過閥門組件對混合的廢水進行轉移,啟動過濾組件對廢水進行過濾,啟動導料組件對沉淀物進行收集。
步驟三:通過排水組件對過濾后的廢水進行排出,進而觸發閥門組件重新向殼體I中供入新的廢水。
本發明與現有技術相比的有益效果是:(1)通過攪拌組件和閥門組件配合,能夠向殼體I中的廢水加入處理劑,并且通過攪拌組件對其攪拌,使得處理劑與廢水充分混合,增大析出效果,通過閥門組件能夠間歇進行廢水的導入與導出,確保了廢水與處理劑的析出效果;(2)通過過濾組件和導料組件配合,能夠對析出的沉淀物與廢水進行分離,并且在分離后對沉淀物進行收集;(3)通過排水組件和閥門組件配合,能夠對收集裝置中的廢水進行間歇導入和導出,確保了廢水過濾和沉淀物收集的效果,并且確保了廢水和處理劑的充分反應。
(發明人:李忠;梁觀華;劉小明;姜坤成;夏小兵;黃滿珍)






