公布日:2023.11.17
申請日:2023.06.29
分類號:B01D29/03(2006.01)I;B01D29/56(2006.01)I;B01D29/64(2006.01)I;B01D29/27(2006.01)I;B01D29/96(2006.01)I;B01D35/143(2006.01)I;C02F1/52(2023.01)I
摘要
本發明公開了一種施工廢水循環利用裝置,具體涉及廢水循環技術領域,包括過濾箱,所述過濾箱左側固定設有垃圾收集箱,所述過濾箱內部固定設有從右向左傾斜的第一過濾板,第一過濾板上過濾出的垃圾沿著第一過濾板的斜面滾落到垃圾收集箱內部,所述過濾箱內部固定設有第二過濾板,所述第二過濾板設在第一過濾板底部。本發明通過推板的移動將第二過濾板上的垃圾推到垃圾收集箱內進行收集,且通過觸碰輕觸開關打開蜂鳴器,使工作人員聽到警報聲,及時清理垃圾收集箱內的垃圾,利用絮凝劑進一步除去廢水中的雜質并用過濾袋將絮凝后產生的雜質過濾,并且通過伸縮橡膠管的伸縮長短,能夠方便觀察到過濾袋內雜質收集情況,便于工作人員及時更換過濾袋。

權利要求書
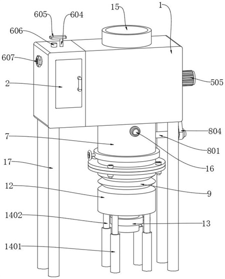
1.一種施工廢水循環利用裝置,包括過濾箱(1),其特征在于:所述過濾箱(1)左側固定設有垃圾收集箱(2),所述過濾箱(1)內部固定設有從右向左傾斜的第一過濾板(3),第一過濾板(3)上過濾出的垃圾沿著第一過濾板(3)的斜面滾落到垃圾收集箱(2)內部;所述過濾箱(1)內部固定設有第二過濾板(4),所述第二過濾板(4)設在第一過濾板(3)底部;所述第二過濾板(4)頂部設有用于清理第二過濾板(4)上垃圾的清理組件(5),所述清理組件(5)推動第二過濾板(4)上的垃圾移動到垃圾收集箱(2)內部;所述垃圾收集箱(2)內部設有提醒工作人員清除垃圾的警報組件(6);所述過濾箱(1)底部固定連通有混合桶(7),所述混合桶(7)底部連通有伸縮橡膠管(9),所述混合桶(7)底部和伸縮橡膠管(9)頂部之間通過法蘭可拆卸連接,所述伸縮橡膠管(9)頂部內壁等間距固定設有多個掛鉤(10),多個所述掛鉤(10)上掛有同一個用于過濾絮凝沉淀物的過濾袋(11)。
2.根據權利要求1所述的一種施工廢水循環利用裝置,其特征在于:所述清理組件(5)包括設在第二過濾板(4)頂部的推板(501),所述推板(501)前后兩端分別插接在過濾箱(1)前后兩側內壁中,所述推板(501)前后兩端均通過螺紋連接有雙向螺紋桿(502),兩個所述雙向螺紋桿(502)左右兩端分別與過濾箱(1)和垃圾收集箱(2)通過密封軸承活動連接;兩個所述雙向螺紋桿(502)右端均固定設有第一皮帶輪(503),兩個所述第一皮帶輪(503)之間連接有同一個第一皮帶(504);位于后側的所述雙向螺紋桿(502)右端貫穿過濾箱(1)右側并延伸出過濾箱(1)右側,位于后側的所述雙向螺紋桿(502)右端固定設有驅動雙向螺紋桿(502)轉動的正反電機(505)。
3.根據權利要求2所述的一種施工廢水循環利用裝置,其特征在于:所述警報組件(6)包括設在垃圾收集箱(2)內部底端的移動板(601),所述移動板(601)底部固定設有兩個第一彈簧(602),兩個所述第一彈簧(602)遠離移動板(601)的一端與垃圾收集箱(2)內部底端固定連接,所述移動板(601)頂端固定設有套筒(603),所述套筒(603)內部插接有移動桿(604),所述移動桿(604)頂端貫穿垃圾收集箱(2)并延伸出垃圾收集箱(2)頂部,所述移動桿(604)頂端固定設有壓板(605),所述壓板(605)底部設有輕觸開關(606),所述輕觸開關(606)固定設在垃圾收集箱(2)頂部;所述垃圾收集箱(2)左側頂部固定設有蜂鳴器(607),所述蜂鳴器(607)的開啟被輕觸開關(606)控制。
4.根據權利要求1所述的一種施工廢水循環利用裝置,其特征在于:所述混合桶(7)底端外部固定設有第二開關閥;所述混合桶(7)前側固定連通有進藥管(16),所述進藥管(16)外部固定設有第一開關閥,絮凝劑通過進藥管(16)加入混合桶(7)內部與廢水反應。
5.根據權利要求4所述的一種施工廢水循環利用裝置,其特征在于:所述混合桶(7)內部設有用于攪拌廢水和絮凝劑的攪拌組件(8);所述攪拌組件(8)包括設在混合桶(7)內部的攪拌軸(801),所述攪拌軸(801)左右兩端均與混合桶(7)通過密封軸承活動連接,所述攪拌軸(801)右側與混合桶(7)右側相接觸的部分固定設有密封圈(805),所述攪拌軸(801)外部等間距固定設有多個攪拌桿(802);所述攪拌軸(801)右端貫穿混合桶(7)右側并延伸出混合桶(7)右側,所述攪拌軸(801)和位于后側的雙向螺紋桿(502)右端外部分別固定設有第二皮帶輪(803),兩個所述第二皮帶輪(803)之間連接有同一個第二皮帶(804)。
6.根據權利要求1所述的一種施工廢水循環利用裝置,其特征在于:所述伸縮橡膠管(9)底部固定連通有排出桶(12),所述排出桶(12)底部固定連通有出水管(13),所述出水管(13)外部固定設有第三開關閥;所述過濾箱(1)頂部固定連通有進水管(15)。
7.根據權利要求6所述的一種施工廢水循環利用裝置,其特征在于:所述排出桶(12)底部設有用于支撐排出桶(12)的伸縮組件(14);所述伸縮組件(14)包括多個等間距設在排出桶(12)底部的伸縮筒(1401),多個所述伸縮筒(1401)內部底端均固定設有第二彈簧(1403),多個所述第二彈簧(1403)遠離伸縮筒(1401)的一端均固定連接有伸縮桿(1402),所述伸縮桿(1402)插接在伸縮筒(1401)內部,多個所述伸縮桿(1402)的頂端均與排出桶(12)底端固定連接。
8.根據權利要求3所述的一種施工廢水循環利用裝置,其特征在于:所述垃圾收集箱(2)前側通過合頁活動連接有箱門,所述箱門前側右端固定連接有握把;所述過濾箱(1)和垃圾收集箱(2)底部前后兩側均固定設有支撐柱(17)。
發明內容
本發明的目的是提供一種施工廢水循環利用裝置,通過利用推板左右移動將第二過濾板上的垃圾推動到垃圾收集箱內進行收集,提高第二過濾板的過濾效果,且通過觸碰輕觸開關打開蜂鳴器,使工作人員聽到警報聲,及時清理垃圾收集箱內的垃圾,利用絮凝劑進一步的除去廢水中的雜質并用過濾袋將其中的雜質過濾,通過伸縮橡膠管的伸縮長短,能夠方便的觀察到過濾袋內雜質收集情況,以方便工作人員拆卸過濾袋進行更換,以解決技術中的上述不足之處。
為了實現上述目的,本發明提供如下技術方案:一種施工廢水循環利用裝置,包括過濾箱,所述過濾箱左側固定設有垃圾收集箱,所述過濾箱內部固定設有從右向左傾斜的第一過濾板,第一過濾板上過濾出的垃圾沿著第一過濾板的斜面滾落到垃圾收集箱內部;
所述過濾箱內部固定設有第二過濾板,所述第二過濾板設在第一過濾板底部;
所述第二過濾板頂部設有用于清理第二過濾板上垃圾的清理組件,所述清理組件推動第二過濾板上的垃圾移動到垃圾收集箱內部;
所述垃圾收集箱內部設有提醒工作人員清除垃圾的警報組件;
所述過濾箱底部固定連通有混合桶,所述混合桶底部連通有伸縮橡膠管,所述混合桶底部和伸縮橡膠管頂部之間通過法蘭可拆卸連接,所述伸縮橡膠管頂部內壁等間距固定設有多個掛鉤,多個所述掛鉤上掛有同一個用于過濾絮凝沉淀物的過濾袋。
優選的,所述清理組件包括設在第二過濾板頂部的推板,所述推板前后兩端分別插接在過濾箱前后兩側內壁中,所述推板前后兩端均通過螺紋連接有雙向螺紋桿,兩個所述雙向螺紋桿左右兩端分別與過濾箱和垃圾收集箱通過密封軸承活動連接,推動推板來回移動;
兩個所述雙向螺紋桿右端均固定設有第一皮帶輪,兩個所述第一皮帶輪之間連接有同一個第一皮帶,使兩個雙向螺紋桿一起轉動;
位于后側的所述雙向螺紋桿右端貫穿過濾箱右側并延伸出過濾箱右側,位于后側的所述雙向螺紋桿右端固定設有驅動雙向螺紋桿轉動的正反電機,能夠驅動雙向螺紋桿轉動。
優選的,所述警報組件包括設在垃圾收集箱內部底端的移動板,所述移動板底部固定設有兩個第一彈簧,兩個所述第一彈簧遠離移動板的一端與垃圾收集箱內部底端固定連接,所述移動板頂端固定設有套筒,所述套筒內部插接有移動桿,所述移動桿頂端貫穿垃圾收集箱并延伸出垃圾收集箱頂部,所述移動桿頂端固定設有壓板,所述壓板底部設有輕觸開關,所述輕觸開關固定設在垃圾收集箱頂部,用于觸發蜂鳴器發出警報聲;
所述垃圾收集箱左側頂部固定設有蜂鳴器,所述蜂鳴器的開啟被輕觸開關控制,發出警報聲,提醒工作人員清理垃圾。
優選的,所述混合桶底端外部固定設有第二開關閥,便于沉淀混合絮凝劑的廢水;
所述混合桶前側固定連通有進藥管,所述進藥管外部固定設有第一開關閥,絮凝劑通過進藥管加入混合桶內部與廢水反應,便于向混合桶內部投放絮凝劑凈化廢水。
優選的,所述混合桶內部設有用于攪拌廢水和絮凝劑的攪拌組件;
所述攪拌組件包括設在混合桶內部的攪拌軸,所述攪拌軸左右兩端均與混合桶通過密封軸承活動連接,所述攪拌軸右側與混合桶右側相接觸的部分固定設有密封圈,所述攪拌軸外部等間距固定設有多個攪拌桿,用于混合廢水和絮凝劑;
所述攪拌軸右端貫穿混合桶右側并延伸出混合桶右側,所述攪拌軸和位于后側的雙向螺紋桿右端外部分別固定設有第二皮帶輪,兩個所述第二皮帶輪之間連接有同一個第二皮帶,帶動攪拌軸轉動。
優選的,所述伸縮橡膠管底部固定連通有排出桶,所述排出桶底部固定連通有出水管,所述出水管外部固定設有第三開關閥,便于排出過濾后的廢水;
所述過濾箱頂部固定連通有進水管,便于向過濾箱內輸入廢水。
優選的,所述排出桶底部設有用于支撐排出桶的伸縮組件;
所述伸縮組件包括多個等間距設在排出桶底部的伸縮筒,多個所述伸縮筒內部底端均固定設有第二彈簧,多個所述第二彈簧遠離伸縮筒的一端均固定連接有伸縮桿,所述伸縮桿插接在伸縮筒內部,多個所述伸縮桿的頂端均與排出桶底端固定連接,用于支撐排出桶。
優選的,所述垃圾收集箱前側通過合頁活動連接有箱門,所述箱門前側右端固定連接有握把,便于打開垃圾收集箱清理垃圾;
所述過濾箱和垃圾收集箱底部前后兩側均固定設有支撐柱,用于支撐本發明立于地面之上。
在上述技術方案中,本發明提供的技術效果和優點:
1、廢水通過進水管進入到過濾箱內,廢水中較大的雜質被第一過濾板過濾并沿著第一過濾板的傾斜角度進入到垃圾收集箱內,較小的雜質再次被底部的第二過濾板過濾,此時啟動正反電機,驅動兩個推板帶動雙向螺紋桿在第二過濾板頂部左右移動,將堆積在第二過濾板上的垃圾雜質等刮除并將垃圾推動到垃圾收集箱內收集,這樣能夠防止第一過濾板和第二過濾板上的垃圾推擠過多而造成堵塞,降低第一過濾板和第二過濾板的過濾效果和過濾速度,能夠延長第一過濾板和第二過濾板的使用壽命;
2、隨著垃圾的增多,垃圾重量也增加,收集的垃圾將壓著移動板向下移動,同時移動桿也跟著移動板的移動而移動,當移動到一定位置時,移動桿頂部的壓板將觸碰到輕觸開關,使得蜂鳴器啟動并發出警報聲,能夠提醒工作人員及時處理收集的垃圾,防止垃圾堆積過多,清理不便;
3、經過第一過濾板和第二過濾板過濾的廢水將進入到混合桶內并向混合桶內投放絮凝劑,凝結廢水中的一些懸浮物質并將其清除,使廢水處理的更干凈,廢水在排出時,廢水中的被凝結的懸浮物質將被過濾在過濾袋內,進一步的將廢水中的雜質清理干凈,且通過伸縮橡膠管的伸縮長短,可以方便的觀察到過濾袋內收集雜質的情況,工作人員只需要在伸縮橡膠管的長度伸長到最長時,拆下過濾袋進行更換,就能夠清理掉絮凝所產生的沉淀物,操作簡單方便。
(發明人:黃金星;何毅偉;陳橙;連嘉濱)






