公布日:2024.05.31
申請日:2024.03.31
分類號:C02F3/32(2023.01)I;C02F3/00(2023.01)I
摘要
本發明提供一種用于生活污水處理的復合生態系統,涉及人工濕地技術領域。該用于生活污水處理的復合生態系統,包括分離箱、生物凈化組件、凈化箱以及生態種植箱,分離箱上端一側固定設置有粉碎箱,粉碎箱內部兩側均轉動設置有粉碎輥,分離箱內部且靠上前端固定設置有滑桿,分離箱一側且靠上后端固定設置有第二電機,第二電機的輸出端固定連接有絲桿,滑桿與絲桿之間設置有推板,分離箱內部且位于推板下端固定設置有分離板,分離板上開設有多個篩孔,滑桿、絲桿與分離板均傾斜設置,且傾斜角度一致,凈化箱內部一側固定設置有液位計。本發明可對生活污水內的固體垃圾進行粉碎并分離,然后再對污水進行處理,提高污水的處理效果。

權利要求書
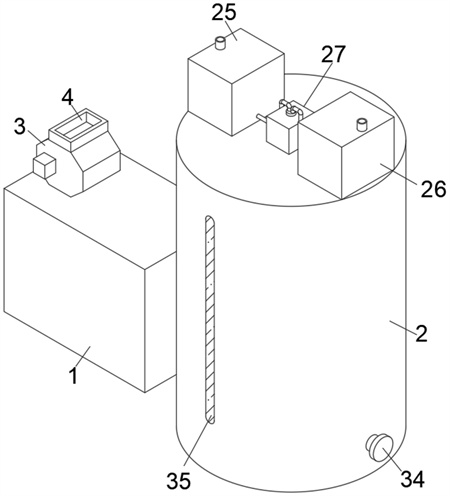
1.一種用于生活污水處理的復合生態系統,包括分離箱(1)、生物凈化組件(50)、凈化箱(2),以及與所述凈化箱(2)連接的的生態種植箱(60),其特征在于:所述分離箱(1)上端一側固定設置有粉碎箱(3),所述粉碎箱(3)內部兩側均轉動設置有粉碎輥(5),所述分離箱(1)內部且靠上前端固定設置有滑桿(9),所述分離箱(1)一側且靠上后端固定設置有第二電機(10),所述第二電機(10)的輸出端固定連接有絲桿(11),所述滑桿(9)與絲桿(11)之間設置有推板(12),所述分離箱(1)內部且位于推板(12)下端固定設置有分離板(15),所述分離板(15)上開設有多個篩孔(16),所述滑桿(9)、絲桿(11)與分離板(15)均傾斜設置,且傾斜角度一致;所述凈化箱(2)內部一側固定設置有液位計(24),所述凈化箱(2)上端一側固定設置有絮凝劑儲存箱(25),所述凈化箱(2)上端且遠離絮凝劑儲存箱(25)的一側固定設置有凈化劑儲存箱(26),所述凈化箱(2)上端中部固定設置有第二水泵(27),所述第二水泵(27)的輸入端固定連接有連接頭(28),所述絮凝劑儲存箱(25)與凈化劑儲存箱(26)一側均固定設置有連接管(29),兩個所述連接管(29)上均固定設置有電磁閥(30),兩個所述連接管(29)一端均固定連接于連接頭(28)上,所述凈化箱(2)內中部上端固定設置有導管(31),所述導管(31)下端固定設置有多個噴頭(32),所述第二水泵(27)的輸出端固定連接有出液管(33),所述出液管(33)下端貫穿凈化箱(2)并固定連接于導管(31)上。
2.根據權利要求1所述的一種用于生活污水處理的復合生態系統,其特征在于:兩個所述粉碎輥(5)前端均固定連接有齒輪(6),兩個所述齒輪(6)嚙合連接,所述粉碎箱(3)前端一側固定設置有第一電機(7),所述第一電機(7)的輸出端固定連接于對應的齒輪(6)端部。
3.根據權利要求1所述的一種用于生活污水處理的復合生態系統,其特征在于:所述推板(12)前端中部固定設置有滑塊(13),所述滑塊(13)在滑桿(9)上限位滑動,所述推板(12)后端中部固定設置有活動套(14),所述活動套(14)螺紋套設在絲桿(11)外壁。
4.根據權利要求1所述的一種用于生活污水處理的復合生態系統,其特征在于:所述分離箱(1)一側且位于分離板(15)上傾斜處設置有箱門(17),所述分離箱(1)一側且位于箱門(17)下端固定設置有電動伸縮桿(18),所述電動伸縮桿(18)的輸出端固定連接有連接桿(19),所述連接桿(19)遠離電動伸縮桿(18)的一端固定連接于箱門(17)上。
5.根據權利要求1所述的一種用于生活污水處理的復合生態系統,其特征在于:所述生物凈化組件(50)設于凈化箱(2)內,所述生物凈化組件(50)包括生物流化床(51)、設于所述生物流化床(51)內的填料,以及生物膜(52)。
6.根據權利要求1所述的一種用于生活污水處理的復合生態系統,其特征在于:所述分離箱(1)下端一側固定設置有第一水泵(20),所述第一水泵(20)的輸出端固定連接有水管(21),所述水管(21)遠離第一水泵(20)的一端貫穿凈化箱(2)并伸入其內部,所述凈化箱(2)一側下端固定設置有出水管(34)。
7.根據權利要求1所述的一種用于生活污水處理的復合生態系統,其特征在于:所述凈化箱(2)內中部下端固定設置有第三電機(22),所述第三電機(22)的輸出端固定連接有攪拌片(23)。
8.根據權利要求1所述的一種用于生活污水處理的復合生態系統,其特征在于:所述凈化箱(2)前端開設有觀察口(35)。
9.根據權利要求1所述的一種用于生活污水處理的復合生態系統,其特征在于:所述生態種植箱(60)包括箱體(61)、設于所述箱體(61)上側的分隔板(62),以及抽水泵(63),所述分隔板(62)將所述箱體(61)的上端分隔成進水區和種植區,所述抽水泵(63)用于將所述凈化箱(2)內凈化后的水抽向所述進水區,所述進水區內設有提籃式格柵(64),所述提籃式格柵(64)的下端設有過濾網(65),所述種植區內設有水培植物固定網(66),所述水培植物固定網(66)的下端設有落葉收集網(67)。
10.根據權利要求9所述的一種用于生活污水處理的復合生態系統,其特征在于:所述箱體(61)的中上側側圍間隔設有多個種植管(68),每一所述種植管(68)的中部均設有第一開關閥(69),所述種植管(68)的上端不低于所述箱體(61)的上端,所述箱體(61)的下側圍設有多根泄流管(70),每一所述泄流管(70)的中端均設有第二開關閥(71),多根所述泄流管(70)的出水口處于不同的高度位置,至少有一根所述泄流管(70)的出水口的高度低于所述箱體(61)的底部。
發明內容
(一)解決的技術問題
針對現有技術的不足,本發明提供了一種用于生活污水處理的復合生態系統,本發明可對生活污水內的固體垃圾進行粉碎并分離,然后再對污水進行處理,提高污水的處理效果。
(二)技術方案
為實現以上目的,本發明通過以下技術方案予以實現:一種用于生活污水處理的復合生態系統,包括分離箱、生物凈化組件、凈化箱,以及與所述凈化箱連接的的生態種植箱,所述分離箱上端一側固定設置有粉碎箱,所述粉碎箱內部兩側均轉動設置有粉碎輥,所述分離箱內部且靠上前端固定設置有滑桿,所述分離箱一側且靠上后端固定設置有第二電機,所述第二電機的輸出端固定連接有絲桿,所述滑桿與絲桿之間設置有推板,所述分離箱內部且位于推板下端固定設置有分離板,所述分離板上開設有多個篩孔,所述滑桿、絲桿與分離板均傾斜設置,且傾斜角度一致;
所述凈化箱內部一側固定設置有液位計,所述凈化箱上端一側固定設置有絮凝劑儲存箱,所述凈化箱上端且遠離絮凝劑儲存箱的一側固定設置有凈化劑儲存箱,所述凈化箱上端中部固定設置有第二水泵,所述第二水泵的輸入端固定連接有連接頭,所述絮凝劑儲存箱與凈化劑儲存箱一側均固定設置有連接管,兩個所述連接管上均固定設置有電磁閥,兩個所述連接管一端均固定連接于連接頭上,所述凈化箱內中部上端固定設置有導管,所述導管下端固定設置有多個噴頭,所述第二水泵的輸出端固定連接有出液管,所述出液管下端貫穿凈化箱并固定連接于導管上。
優選的,兩個所述粉碎輥前端均固定連接有齒輪,兩個所述齒輪嚙合連接,所述粉碎箱前端一側固定設置有第一電機,所述第一電機的輸出端固定連接于對應的齒輪端部;
通過上述技術方案,通過第一電機帶動對應的齒輪進行轉動,此時兩個齒輪同步轉動使粉碎輥進行轉動,從而對生活污水的固體垃圾進行粉碎。
優選的,所述推板前端中部固定設置有滑塊,所述滑塊在滑桿上限位滑動,所述推板后端中部固定設置有活動套,所述活動套螺紋套設在絲桿外壁;
通過上述技術方案,滑塊在滑桿上限位滑動,使絲桿的轉動帶動活動套進行移動。
優選的,所述分離箱一側且位于分離板上傾斜處設置有箱門,所述分離箱一側且位于箱門下端固定設置有電動伸縮桿,所述電動伸縮桿的輸出端固定連接有連接桿,所述連接桿遠離電動伸縮桿的一端固定連接于箱門上;
通過上述技術方案,通過電動伸縮桿帶動連接桿使箱門打開,從而可對粉碎后的垃圾取出。
優選的,所述粉碎箱上端開設有進口,所述粉碎箱下端開設有出口并與分離箱相連通;所述生物凈化組件50設于凈化箱2內,所述生物凈化組件50包括生物流化床51、設于所述生物流化床51內的填料,以及生物膜52。
通過上述技術方案,生活污水通過進口進入粉碎箱內部,粉碎完成后,通過出口將其排入到分離箱內部。
優選的,所述分離箱下端一側固定設置有第一水泵,所述第一水泵的輸出端固定連接有水管,所述水管遠離第一水泵的一端貫穿凈化箱并伸入其內部,所述凈化箱一側下端固定設置有出水管;
通過上述技術方案,通過第一水泵將分離箱內的污水抽入到凈化箱內部。
優選的,所述凈化箱內中部下端固定設置有第三電機,所述第三電機的輸出端固定連接有攪拌片;
通過上述技術方案,通過第三電機帶動攪拌片進行轉動。
優選的,所述凈化箱前端開設有觀察口;
通過上述技術方案,通過觀察口對凈化箱內的污水進行觀察。
工作原理:該用于生活污水處理的復合生態系統使用時,生活污水從粉碎箱的進口進入,第一電機帶動齒輪進行轉動,此時兩個齒輪同步轉動從而帶動粉碎輥進行轉動,對生活污水中的固體垃圾進行粉碎,粉碎完成后,固體垃圾掉落在分離板上,此時第二電機帶動絲桿進行轉動,受滑桿和滑塊的限位作用,使推板受活動套的作用在分離板上進行移動,從而使固體垃圾向箱門處推送并得到擠壓,使其內部水分進行擠出,此時電動伸縮桿帶動連接桿使箱門打開,從而可對粉碎后的垃圾取出,污水通過篩孔落入分離板下端,通過第一水泵將污水抽入到凈化箱內部,通過生物凈化組件分解污水中的有機物,并初步消除污水中的氮、磷、鉀元素,然后絮凝劑儲存箱的連接管通過電磁閥打開,通過第二水泵將絮凝劑儲存箱內的絮凝劑抽出,然后通過噴頭噴出,此時第三電機帶動攪拌片進行轉動,使污水與絮凝劑快速充分混合,污水靜置一段時間后,污水內的顆粒沉降,打開出水管,使沉降的污泥排出,上端的清水則留在凈化箱內部,此時第二水泵將凈化劑儲存箱內的凈化劑抽出并通過噴頭噴出,攪拌片再次轉動,使凈化劑與污水快速混合,凈化完成后通過出水管排出,并將排出的水通過生態種植箱中的生態植物進一步吸收氮、磷、鉀等元素,使得污水排放符合排放標準,減小了化學藥劑的使用。
(三)有益效果
本發明提供了一種用于生活污水處理的復合生態系統。具備以下有益效果:
1、本發明提供了一種用于生活污水處理的復合生態系統,本發明通過第一電機帶動齒輪進行轉動,此時兩個齒輪同步轉動從而帶動粉碎輥進行轉動,對生活污水中的固體垃圾進行粉碎,粉碎完成后,固體垃圾掉落在分離板上,此時第二電機帶動絲桿進行轉動,受滑桿和滑塊的限位作用,使推板受活動套的作用在分離板上進行移動,從而使固體垃圾向箱門處推送并得到擠壓,使其內部水分進行擠出,從而達到對生活污水內固體垃圾粉碎的效果,且垃圾便于取出,提高污水的處理效果。
2、本發明提供了一種用于生活污水處理的復合生態系統,本發明通過第二水泵將絮凝劑儲存箱內的絮凝劑抽出,然后通過噴頭噴出,此時第三電機帶動攪拌片進行轉動,使污水與絮凝劑快速充分混合,污水靜置一段時間后,污水內的顆粒沉降,打開出水管,使沉降的污泥排出,上端的清水則留在凈化箱內部,此時第二水泵將凈化劑儲存箱內的凈化劑抽出并通過噴頭噴出,攪拌片再次轉動,使凈化劑與污水快速混合,進一步提高對污水的處理效果。
3、本發明通過生物凈化組件分解污水中的有機物,并初步消除污水中的氮、磷、鉀元素,再通過生態種植箱中的生態植物進一步吸收氮、磷、鉀等元素,使得污水排放符合排放標準,減小了化學藥劑的使用。
(發明人:胡華;邱進;王玉杰;李瑩瑩;邱俊;戴榕;陳明;項名智;郭若彬;陳昌會;涂文超;肖凱;康夢輝;羅槽;陳天華)






